
Дом кривых стен

[Рис. 3]
Уэда мертв, в этом не было сомнений. Тем не менее Кусака, студент-медик, присев на корточки, потрогал тело. «Надо вызывать полицию», – заявил он.
Связаться с полицией вызвался Кохэй Хаякава. Он отправился на машине в деревню, располагавшуюся в километре от особняка, у подножия холма, где в магазине был телефон.
Очень скоро в Доме дрейфующего льда появилась целая группа полицейских в форме. Они протянули веревки перед входом в номер десятый, исчеркали пол мелом, в общем, подняли обычную в таких случаях суету.
Из-за чьей-то оплошности санитарный автомобиль пришлось ждать долго. Тело Уэды уже успело остыть, когда наконец на склоне холма появилась «Скорая помощь» на «обутых» в цепи колесах. К толпе полицейских в черной форме примешались санитары в белых халатах, и Дом дрейфующего льда, бывший убежищем человека, отошедшего от мирской суеты, сразу превратился в место средоточия показных бренных хлопот.
Гости, прислуга и сам хозяин собрались в ожидании в салоне и с тревогой прислушивались к чужим голосам.
Стояло еще раннее утро. Для большинства гостей начался только второй день пребывания в гостях у Кодзабуро Хамамото. А Кикуока и Канаи провели в его доме всего часов двенадцать. Что будет дальше? Это беспокоило всех. Только раз успели поужинать, и неужели теперь придется все оставшееся до отъезда время проводить в компании полицейских? Хорошо, если удастся вырваться отсюда вовремя; а вдруг что-то пойдет не так и придется застрять надолго?
От безликой толпы полицейских отделился и вошел в салон крупный угловатый человек с красными щеками, судя по виду, следователь.
– Окума, управление полиции Вакканая, – важно представился он. Уселся за стол и принялся расспрашивать обитателей дома и гостей. Создавалось впечатление, что вопросы придумывались по ходу дела и потому часто были не по существу.
Покончив с общими расспросами, Окума спросил:
– Так где эта самая кукла?
Кодзабуро уже собрал своего Голема – правда, у него не хватало головы – и поставил в салоне.
– Ага! Эта штука… гм… а где она обычно хранится?
Кодзабуро поднял Голема и повел Окуму в третий номер, где он держал коллекцию старинных диковинок. Коллекция, видимо, произвела на полицейского впечатление, и, когда они вернулись в салон, он какое-то время делился наивными суждениями об антиквариате, в котором ничего не смыслил, потом умолк, будто погрузившись в свои мысли, с видом человека, специализирующегося на раскрытии преступлений и знающего себе цену. Наконец поднес руку ко рту и проговорил почти шепотом, обращаясь к Кодзабуро:
– Мы имеем дело с классическим случаем убийства в запертой комнате. Согласны?
Впрочем, это и без него все понимали с самого начала.
Этого деревенского увальня трудно было воспринимать всерьез. Никто не ждал, что он сможет в чем-то разобраться. Что-то похожее на настоящее расследование началось, когда часа в четыре в Дом дрейфующего льда из управления полиции Саппоро прибыли двое следователей – старший инспектор Сабуро Усикоси, средних лет, и инспектор помоложе по фамилии Одзаки.
Трое полицейских устроились на стульях за обеденным столом, коротко представились, после чего Усикоси с самым беззаботным видом заметил:
– Забавный домишко, однако.
Если младший из этой пары, по крайней мере на первый взгляд, производил впечатление человека сообразительного, то его старший коллега казался более простым служакой и на вид мало чем отличался от Окумы.
– С непривычки можно навернуться на этом полу, – заявил Усикоси, а Одзаки с презрительной миной обвел взглядом салон, но ничего не сказал.
– Ну что ж, господа! – начал Усикоси, не вставая со стула. – Теперь вы знаете, с кем имеете дело. Мы, полицейские, самый скучный в мире народ. Ничего интересного в нас нет. Как нас зовут, вам известно. Теперь ваша очередь рассказать о себе. Хотелось бы узнать самую общую информацию – где живете, чем занимаетесь, что привело вас сюда. О подробностях – например, об отношениях с покойным Кадзуя Уэдой, мы поговорим потом с каждым по отдельности.
Как сказал инспектор Усикоси, в сидевших за столом полицейских действительно не было ничего знаменательного. Ни в форме, ни в манере разговаривать, пусть вежливой, но в то же время становилось понятно, что эти люди никогда не теряют самообладания, какие бы кровавые сцены ни разворачивались перед ними. Выражение их лиц действовало на хозяев дома и их гостей угнетающе, мешало говорить. Поэтому они рассказывали о себе сбивчиво, торопливо. Усикоси время от времени вежливо прерывал их вопросами, но ничего не записывал. Завершив опрос, он, делая акцент на окончании каждого слова, заговорил, показывая всем своим видом: «Вот что я хотел сказать на самом деле»:
– Ну-с, а теперь… Мне не хочется об этом говорить, но ничего не поделаешь – надо. Как я понял с ваших слов, потерпевший, Кадзуя Уэда, в наших краях человек чужой. В этом доме, да не только в доме, а вообще на Хоккайдо, он был всего второй раз в жизни. Если это так, то трудно представить, что здесь у него были друзья или знакомые и кто-то из них навестил его прошлой ночью.
Версию об ограблении исключим сразу. На теле обнаружили деньги – двести сорок шесть тысяч иен. Найти их было легко – они лежали в кармане пиджака. Но к ним никто не притронулся.
Теперь главное – комната заперта изнутри. Проникнуть в нее непросто, даже если незнакомец попытался бы высадить дверь. Предположим, все-таки как-то ему это удалось. В таком случае должны быть борьба, шум. Однако в комнате никаких следов борьбы. Кроме того, Уэда служил в силах самообороны[8], и, наверное, силы ему было не занимать. Он вряд ли уступил бы без сопротивления.
Из этого вытекает, что Уэда был знаком со своим убийцей, и не просто знаком – скорее всего, они были в дружеских отношениях. Но, как я уже говорил, в этих краях у Кадзуя Уэды друзей быть не должно.
Как следует из ваших рассказов и того, что нам пока удалось узнать, Кадзуя Уэда родился в префектуре Окаяма, вырос в Осаке, в двадцать пять поступил на службу в сухопутные силы самообороны, служил в Токио и Готэмбе. Через три года демобилизовался, в двадцать девять устроился в «Кикуока беаринг» и вот, проработал только до тридцати… Плохо сходился с людьми, еще с военной службы. Ни друзей, ни приятелей. У такого человека не должно быть знакомых на Хоккайдо. Трудно также предположить, что кто-то специально приехал сюда из Канто или Кансая[9], чтобы его навестить. Остается одно – человек, с которым у Кадзуя Уэды были дружеские отношения, находится среди вас.
Сидевшие за столом обменялись тревожными взглядами.
– Случись это в Саппоро или Токио – другое дело. Но в этом медвежьем углу незнакомый человек сразу бросился бы в глаза. На всю деревню всего одна гостиница, и та стоит пустая. Никто там вчера не ночевал. Не сезон.
Есть еще более важный вопрос: следы. Мы имеем дело с чрезвычайно хитрым и изворотливым типом. Полиция обычно не распространяется о таких вещах перед посторонними, но раз такой случай… Итак, вот что мы имеем. Смерть Кадзуя Уэды наступила где-то между полуночью и половиной первого. Иными словами, в эти полчаса кто-то – преступник или преступница – вонзил нож в сердце Уэды, а сделать это он мог, естественно, только в его комнате.
Но надо иметь в виду, что, к несчастью для убийцы, снег вчера вечером прекратился в полдвенадцатого! К моменту смерти Уэды снега уже не было. Однако почему тогда на снегу не видно следов преступника? Ни входных, так сказать, ни обратных!
Как известно, в комнату, где был убит Уэда, можно попасть только с улицы. Значит, преступник в момент убийства находился в этой самой комнате… номер десятый, по-моему? Тогда, по крайней мере, должны быть следы, ведущие из комнаты. Если же его там не было, получается, что Уэда-сан сам вонзил себе нож в грудь. Однако ничто не указывает на то, что это самоубийство. А следов все-таки нет. Вот в чем закавыка.
Здесь я хотел бы сделать оговорку: не думайте, пожалуйста, что отсутствие следов и запертая комната ставят следствие в тупик. Следы можно замести веником или метелкой – для таких трюков есть много способов, – а уж о запертых комнатах я и не говорю. Авторы детективных романов каких только вариантов не напридумывали.
Что мы имеем в данном случае? Допустим, кто-то все-таки проник в комнату снаружи. Тогда ему пришлось очень потрудиться, чтобы стереть свои следы от двери десятого номера до самой деревни у подножия холма. Нелегкая задача. Но даже если он такой ловкач, тщательное расследование все равно нашло бы на снегу какие-то следы. Наш эксперт уже все осмотрел самым внимательным образом и ничего не обнаружил.
Снег прекратился в полдвенадцатого, и больше его не было. Но куда ни глянь – что в сторону деревни, что в любую другую, – нигде нет никаких признаков, что преступник каким-то хитрым образом заметал свои следы. Понимаете, к чему я клоню? Неприятно так говорить, но на ум приходит мысль, что кто-то прошел в десятый номер и вернулся обратно из дома – либо через дверь салона, либо из прихожей, либо через черный ход на кухне. Окна первого этажа пока исключим.
Все сидевшие за столом восприняли эти слова как объявление войны.
– Подождите! – раздался голос Кусаки. Он решил от общего имени возразить на доводы детектива. – Вы хотите сказать, что между этими тремя выходами из дома и номером десятым могли быть следы, которые неизвестный уничтожил?
Все напрягли слух. Это был хороший вопрос.
– Послушайте: от салона до десятого номера вы столько натоптали, что определить что-либо сейчас невозможно. Вероятность того, что кто-то заметал следы от остальных двух выходов или под окнами первого этажа, крайне невелика. Снег легкий, пушистый, и, по всем признакам, его не трогали.
– Тогда получается, что против нас так же мало улик, как и против предполагаемого незнакомца? – Возражение Кусаки звучало логично.
– Дело не только в следах. Есть и другое, о чем я вам только что говорил.
– Но в главном доме нет ни метлы, ни веника, – заметила Эйко.
– Верно. Я уже выяснил это у Хаякавы-сан.
– Почему же тогда нет никаких следов?
– Вот если б ночью дул сильный ветер… Снег-то ведь легкий. Тогда, конечно, следы могло замести. Но ветра почти не было.
– Я бы даже сказала, около полуночи совсем не было.
– В этом деле, помимо следов, немало странностей, правда?
– Совершенно верно. Например, шнурок, привязанный к ножу, или неестественная «танцующая» поза убитого.
– Ну, что касается позы, то для нас в этом ничего удивительного нет, – сказал Усикоси. – Получив удар ножом, человек переживает агонию. Уэда-сан испытал страшную боль. Мне известны случаи, когда смерть заставала людей в еще более странных позах. Что касается шнурка… Летом люди одеваются легко, карманов мало, нож особо спрятать некуда. Зато можно закрепить его на теле таким шнурком. Были такие случаи.
«Но ведь сейчас зима», – тут же подумали все.
– А как насчет веревки, которой Уэда привязан к кровати?..
– Хм-м… В этом, пожалуй, в самом деле есть что-то особенное.
– Есть такие прецеденты?
– Ну, ну, господа, – вмешался Окума; было видно, что он жалеет о том, что профессионалы ввязались в разговор с профанами. – Расследование этого дела – наша забота. Так что положитесь на нас. А вас просим оказывать нам содействие. В отведенных для вас рамках.
«В отведенных рамках? В качестве подозреваемых?» – подумал про себя Кусака, но вслух, разумеется, ничего не сказал, ограничившись кивком.
– Вот тут у нас есть схема… – С этими словами Усикоси развернул на столе листок почтовой бумаги. – Когда вы его обнаружили, все было в таком положении?
Обитатели дома и прислуга разом встали со своих мест и, вытянув подбородки, стали рассматривать рисунок.
– Вот здесь должен быть круг, как будто нарисованный кровью, – отметил Тогай.
– Да, да, – коротко бросил Усикоси, давая понять, что такие детские замечания немногого стоят.
– Ну, в общем, вроде всё так, – хрипло проговорил Кикуока.
– А этот стул всегда здесь стоит, Хамамото-сан?
– Ну да. В этом шкафу до верхней полки рукой не достать. Вот стул и поставили там вместо лестницы.
– Вот оно что… А теперь об окнах. Вот это смотрит на запад… На нем металлическая решетка; а то, что выходит на южную сторону… на нем решетки нет. Стекло прозрачное. В других комнатах рамы на окнах двойные, а на этом нет.
– Да. Но это же второй этаж; даже если решеток нет, залезть трудно. Это я про южное окно. А через западное легко можно забраться. Хотя в комнате ничего ценного не имеется.
– Вот здесь на полу ядра. Они всегда здесь лежат?
– О! Я не обратил внимания.
– Обычно они хранятся в шкафу?
– Необязательно, они могут лежать где угодно.
– Ядра несколько раз перевязаны шнурком, и к ним прикреплены деревянные бирки, так?
– Точно. Ядра бывают двух видов – четыре и семь килограммов. Когда их покупали, к каждому привязали бирку с указанием веса. Купить-то купили, но ими так никто и не пользовался. И дисками тоже. Так и лежат без дела.
– Понятно. Но тут вот какой момент – шнурок с биркой «семь кг» что-то длинноват, мне кажется…
– Серьезно? Развязался, что ли? А я и не заметил.
– Нам кажется, кто-то надставил шнурок, чтобы он был длиннее. Его длина до того места, где привязана бирка, метр сорок восемь сантиметров.
– Что?! Вы думаете, это сделал преступник?
– Вполне возможно. И еще одно. Размеры бирки с надписью: «семь кг» – три на пять сантиметров, толщина – примерно сантиметр. К ее краю приклеена полоска скотча три сантиметра длиной. Скотч, похоже, свежий.
– Ого!
– Вы об этом что-нибудь знаете?
– Понятия не имею.
– Это хитрость? Вы думаете, преступник нарочно скотч прилепил? – спросил Кусака.
– Хм, интересно… А здесь есть еще вентиляционное отверстие, сантиметров двадцать, наверное. Оно выходит на эту лестницу, правильно?
– Все верно. Но из дома, стоя в коридоре, через эту дырку в номер десятый заглянуть не получится. Встаньте перед двенадцатым номером и убедитесь, что вентиляционное отверстие десятого номера выведено в стене слишком высоко. В других помещениях – например, в двенадцатом номере, – может, и можно через вентиляцию что-то разглядеть, если на что-то встать, но только не в десятом…
– Я в курсе. Сам уже успел проверить.
– Так или иначе, нельзя сказать, что это классический случай запертой комнаты. Следов нет, значит, преступник как-то использовал вентиляционное отверстие, – сказал Тогай.
– В такую дырку даже голова не пролезет, – заметил Кусака. – Но как же тогда привязанная к кровати рука и эта хитрость с ядром? Для этого надо было проникнуть в комнату.
– А как же следы?
– Понятия не имею. А вот закрыть дверь изнутри, думаю, совсем не сложно.
– Хм, – оживился Сабуро Усикоси. – Хотелось бы послушать.
– Рассказать? – спросил Кусака. Инспектор кивнул.
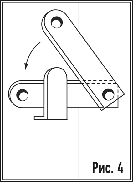
– Все очень просто. Десятый номер обычно используется как кладовая, и, когда в комнате никто не живет, ее закрывают снаружи на висячий замок. Когда приезжают гости, замок снимают, и дверь запирается изнутри на металлическую защелку. Самую простую; ее приделали, чтобы можно было в этой комнате ночевать. От преступника требовалось лишь приподнять защелку, которая поднимается и опускается, как шлагбаум на железнодорожном переезде, подпереть ее, скажем, снежком и уйти к себе. Через некоторое время снежок растаял, и защелка встала на место, заперев дверь изнутри.

[Рис. 4]
– Невероятно! Здорово! – раздались восхищенные возгласы со стороны представителей «Кикуока беаринг».
Но удивить Усикоси было не так-то легко.
– Мы тоже думали над этим вариантом. Однако металлическая скоба защелки прикреплена к деревянной панели, и она оказалась совершенно сухой. Никаких следов влаги. Так что крайне маловероятно, что преступник применил этот трюк.
– Значит, он действовал не так? – Кусака явно был ошеломлен.
– Выходит, как-то по-другому.
Все замолчали в задумчивости.
– И все же, мне кажется, с запертой комнатой мы как-нибудь разберемся. Не такая уж это трудная загадка. Меня больше другое беспокоит.
– Что же?
– Похоже, придется поломать голову. И все вы должны нам помочь. Ничего не поделаешь, но надо сказать откровенно: маловероятно, что преступник – кто-то из вас.
Послышался негромкий смех.
– Знаю, что это противоречит всему, что говорил до сих пор, но я не вижу среди вас человека, который мог бы быть убийцей. И это ставит меня в тупик. Я имею в виду мотивы. Кто был знаком с Кадзуя Уэдой до вчерашнего дня? За исключением господ из «Кикуока беаринг» большинство – Хамамото-сан, Эйко-сан, супруги Хаякава, Кадзивара-сан, Тогай-сан, Кусака-сан и Ёсихико-сан – видели его только второй раз. Первый раз – летом. Правильно? Общались с ним накоротке, он был нелюдим и очень молчалив. Чтобы возникла мысль убить человека, нужно как минимум быть хорошо с ним знакомым. Но никто из вас не знал его настолько хорошо.
Снова раздался сухой смешок.
– Вообще-то, убийство – дело совершенно невыгодное. Человек с именем и положением, живущий в таком замечательном доме, совершив убийство, может лишиться всего и оказаться в тюрьме. Не могу себе представить, что он настолько безрассуден. То же самое можно сказать о Кикуоке-сан, Аикуре-сан, Канаи-сан и его жене. Я не вижу здесь никого, кто имел бы повод или причину убить Кадзуя Уэду, человека неприметного, простого шофера. В этом и заключается загадка.
«Все верно», – размышляли про себя Тогай, Кусака и Эйко. До Уэды действительно никому не было дела. Будь он, к примеру, посимпатичнее, у него мог бы возникнуть с кем-то конфликт из-за женщины, и тогда об этом ходили бы разговоры; будь он заносчив, задирист, тоже были бы проблемы. Но в том-то и дело, что Уэду, фигуру настолько второстепенную, убивать не было никакой необходимости. Ни денег, ни положения, ни чего-то такого в характере, что могло бы вызвать у кого-то зависть.
Сабуро Усикоси наблюдал за выражением лиц сидевших за столом людей, и у него мелькнула мысль: а не произошла ли здесь ошибка? Мог ли убийца перепутать Уэду с кем-то другим, кого он собирался убить? Может, Уэда – случайная жертва?
Но ведь все знали, что номер десятый выделен Уэде и именно он там ночует. Комнатами он ни с кем не менялся. У номера десятого есть особенность – войти в него можно только с улицы. Невозможно представить, что кто-то собирался проникнуть в номер девятый и по ошибке оказался в десятом.
Картина не складывалась. Кадзуя Уэда совершенно не подходил на роль жертвы. Оставалось только думать, что убить должны были кого-то другого.
– Если все-таки преступник среди вас, советую сегодня ночью пуститься в бега. Поэтому не будем терять времени. Специально для него.
По тому, как Усикоси произнес эти слова, было похоже, что он не шутит. Как бы разговаривая с самим собой, полицейский продолжил:
– Человек ничего не делает без причины. Тем более когда речь идет об убийстве. Убийство без мотива невозможно. И наше расследование будет сосредоточено на поисках мотива совершенного преступления. Перед тем как мы начнем беседовать с каждым из вас по отдельности и задавать неприятные вопросы, хочу спросить у вас еще одну вещь. Не видел ли кто-то из вас чего-нибудь странного прошлой ночью, примерно когда состоялось убийство? Или, может, слышали? К примеру, крик, похожий на крик жертвы… все равно что; любая мелочь имеет значение. Может, мельком заметили что-то необычное? Незначительные на первый взгляд вещи подчас очень помогают в расследовании.
После короткой паузы послышалось:
– Я видела.
Конечно, это была Куми Аикура. Девушка не выпалила это сразу лишь по одной причине: то, что она хотела сказать, не совсем соответствовало параметрам, заданным инспектором. Она никак не могла квалифицировать пережитое минувшей ночью как что-то «замеченное мельком» или «незначительное».
– Э-э… Аикура-сан, если не ошибаюсь? Что вы видели?
– Много чего…
Куми с волнением убедилась, что появился наконец человек, готовый выслушать ее серьезно.
– О! И что же такое вы видели? – Местный детектив Окума, похоже, был ослеплен миловидным личиком Куми.
– И видела, и слышала.
– Можно вас попросить поподробнее?
Куми была готова выложить все в деталях и без этой просьбы. Единственное – она не знала, в каком порядке излагать, поэтому решила не гнать коней с самого начала.
– Я слышала крик. Посреди ночи. Может, это Уэда-сан… То есть голос был мужской. Казалось, ему очень больно. Голос был такой придушенный, не крик даже, а какое-то рычание.
– Так, так! – Усикоси одобряюще закивал головой. – А во сколько это было, знаете?
– Да, я сразу посмотрела на часы. Точно знаю. Пять минут второго было.
На лице Усикоси нарисовалась такая растерянность, что на него жалко было смотреть.
– Что?! Пять минут второго?! Вы уверены? Не ошиблись?
– Сто процентов. Я же специально на часы посмотрела.
– Но… – Инспектор повернулся на стуле, тот накренился, и показалось, что Усикоси сейчас упадет назад. В таком доме следовало быть осторожнее с резкими движениями.
– Но… такого же быть не может! Ваши часы не сломались, случаем?
Куми сняла часики с правого запястья. Она была левша и носила часы на правой руке.
– Вот. Я с тех пор к ним не притрагивалась.
Усикоси почти с благоговением взял протянутые ему дорогущие женские часики и сравнил с дешевым механизмом, болтавшимся у него на руке. Стрелки показывали одинаковое время.
– За месяц они отстают меньше чем на секунду, – решил внести свой вклад в разговор Кикуока. Конечно, это был его подарок.
Усикоси кивнул в знак благодарности и вернул часы Куми.
– Спасибо. Однако… это создает новую проблему. Вы прекрасно понимаете, что предполагаемое время смерти Кадзуя Уэды есть время, когда было совершено преступление. Как я уже говорил, это произошло между двенадцатью и половиной первого. И вы услышали крик, когда Уэда был мертв уже целых полчаса! Ваши показания ставят нас в затруднительное положение… Я хочу спросить у остальных: кто-нибудь еще слышал крик мужчины? Поднимите руки.
Потянулись кверху руки Канаи, его жены, Эйко и Кодзабуро. Увидев поднятую руку Эйко, Куми не поверила своим глазам. В чем дело? Теперь она хочет сказать, что тоже что-то слышала?
– Четверо… С Аикура-сан – пятеро. Тогай-сан, может, вы тоже слышали голос? Ваша комната как раз под десятым номером.
– Нет, не слышал.
– А вы? – обратился инспектор к Кусаке.
– Тоже нет.
– Канаи-сан, ваш номер девятый на третьем этаже, верно? Он не так близко расположен к десятому, но все же… Кто-то может сказать, когда услышал крик?
– Я не смотрел на часы. Услышал, как кричит Аикура-сан, и тут же поспешил вниз, узнать в чем дело, – сказал Кодзабуро.
– А вы, Канаи-сан?
– Дайте подумать. Это было…
– Пять минут второго, – прервала его сидевшая рядом Хацуэ. – А если точно, то шесть.
– Понятно… – недоуменно протянул Усикоси. – Это, конечно, осложняет дело… Кто-нибудь еще что-то видел или слышал?
– Погодите! Я еще не закончила, – заявила Куми.
– Что-то еще? – насторожился Усикоси.
Ей стало немного жаль полицейского. Если он так расстроился из-за крика, что с ним будет, когда он услышит продолжение ее истории? Тем не менее она решила его не щадить и рассказала все, как было. Как и следовало ожидать, Усикоси слушал ее с открытым ртом.
– Неужели вы думали, что я подняла такой крик только из-за того, что услышала, как кричит мужчина? – спросила Куми.
Два приехавших из Саппоро детектива произнесли почти в один голос:
– Это правда? Но это же…
– Может, вам такой сон приснился?
– Мне все об этом твердят. Но я совершенно уверена. На сон больше похоже то, что сейчас здесь происходит.
– В округе живет кто-нибудь, кто подходит под описание Аикура-сан? Со смуглой, как у бразильца, кожей, с большими шрамами от ожогов на щеках?
– И страдающий лунатизмом, – решил вставить непрошеное слово Окума. – Монстр, выходящий прогуляться по снежку, когда взойдет луна.
– Таких людей у нас нет и быть не может! – отвечала Эйко столь категорическим тоном, будто задавший вопрос покушался на ее честь.
– И среди обитателей вашего дома тоже, конечно, нет?
Эти слова Усикоси задели самолюбие Эйко еще больнее.
– Разумеется! – Она фыркнула и погрузилась в молчание.
– В доме проживают только Кодзабуро-сан, Эйко-сан, супруги Хаякава и Харуо Кадзивара. Я правильно понимаю?
Кодзабуро ответил кивком.
– Хорошенькое дело! Аикура-сан, вы ночевали на третьем этаже. Первый номер, да? Под окном первого номера следов нет. И не только под окном, их вообще нет внизу. Получается, что этот самый монстр проплыл по воздуху, чтобы заглянуть в ваше окно?

