
Танковая война на Восточном фронте
Т-35 стал единственным в мире серийным пятибашенным танком. Состав и размещение его вооружения оптимальны для многобашенного танка. Пять башен, расположенных в два яруса, позволяли сосредоточить массированный огонь из 76-мм и 45-мм пушек и трех пулеметов вперед, назад или на любой борт. Однако столь большая огневая мощь потребовала увеличения числа членов экипажа и усложнения конструкции танка. Двухъярусное расположение башен обусловило значительную высоту машины, что повышало уязвимость танка на поле боя. Без малого 10-метровая длина привела к резкому снижению маневренных характеристик. Кроме того, Т-35 имел большое количество недостатков, связанных с двигателем и трансмиссией. К сожалению, их так и не удалось полностью устранить.
Справедливости ради следует сказать, что подвеска Т-35 при всей ее громоздкости в целом зарекомендовала себя хорошо и отличалась плавностью хода. Высота танка, кроме увеличения уязвимости на поле боя, еще и доставляла ряд проблем при эксплуатации. Например, надгусеничные полки располагались на почти двухметровой высоте. Так что взобраться на танк стоило большого труда, а если нет специальных лесенок, без посторонней помощи практически невозможно. Учитывая, что в танкисты предпочитали брать людей невысокого роста (примерно 160 см), можно себе представить, каково было экипажу машины занимать по тревоге свои места!
Внешне Т-35 удивляет своими размерами, но внутренний объем великана был очень мал. Боевые отделения не сообщались между собой, так что проникнуть из одного в другое без выхода из танка было невозможно.
Обзорность из Т-35 была просто отвратительная, особенно с места механика водителя. Можно предположить, что в боевых условиях ему приходилось вести машину чуть ли не вслепую, так как смотровые щели позволяли видеть местность только слева и впереди, да и то в весьма ограниченных секторах.

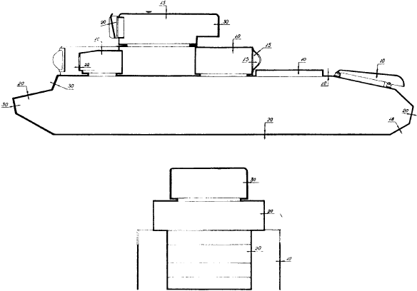
Схема бронирования танка Т-35
Но самой большой проблемой было покинуть подбитую машину. Ведь выход осуществлялся лишь через верхние люки, и при этом экипаж главной башни оказывался на четырехметровой высоте под огнем противника. Люк же механика-водителя нельзя открыть, не повернув влево пулеметную башню, заклинивание которой могло стоить ему жизни. Выход из задних башен сильно затруднялся нависающей над ними нишей главной башни и поручневой антенной. Удобство посадки и высадки экипажа конструкторами танка Т-35 были фактически проигнорированы.
В ходе производства Т-35 делалось несколько попыток усилить его защиту. Так, с 1936 г. толщина переднего наклонного щита корпуса и щитка механика-водителя была доведена до 50 мм. В 1938 г. были введены конические башни с толщиной брони 70 мм, а также увеличена до 25 мм толщина лобовой брони корпуса и до 25 мм толщина брони подбашенной коробки главной башни. Боевой вес танка возрос до 54 т.
Всего с апреля 1939 г. и до прекращения производства было выпущено 6 танков Т-35 с усиленной броневой защитой. На двух машинах выпуска 1939 г. в кормовой части главной конической башни был установлен 7,62-мм пулемет ДТ.
Тактико-технические данные тяжелого танка Т-35 приведены в Приложении.
Первые серийные машины Т-35 поступили в 5-й тяжелый танковый полк Резерва Главного Командования (РГК) в Харькове 12 декабря 1935 г. Этот полк был развернут в 5-ю отдельную тяжелую танковую бригаду. Организационно она состояла из трех линейных танковых батальонов одного учебного батальона боевого обеспечения и других подразделений. Приказом наркома обороны от 21 мая 1936 г. бригаду выделили в Резерв Главного Командования. Она предназначалась для усиления стрелковых и танковых соединений при прорыве особо сильных и заблаговременно укрепленных позиций противника.
В соответствии с этим назначением по специально разработанной АБТУ программе велось и обучение танкистов. Подготовка экипажей осуществлялась на специальных курсах, которыми руководили инженеры с ХПЗ. Кроме того, в 1936 г. в Рязани при 3-й тяжелой танковой бригаде был создан учебный танковый батальон Т-35.
Эксплуатация машин первых выпусков (1933–1936 гг.) в войсках показала их весьма слабые тяговые характеристики. Так, по донесению командиров Т-35, «танк преодолевал подъем только в 17°, не мог выйти из большой лужи». Военными отмечалась низкая надежность его агрегатов, вызывала трудности и большая масса боевых машин. В этом отношении весьма характерным можно считать следующий документ, адресованный командному составу тяжелой танковой бригады РГК: «Предлагаю принять к неуклонному руководству следующие правила движения по мостам танков Т-35: 1. На однопролетных мостах – только один танк одновременно; 2. На многопролетных мостах может быть несколько танков, но не менее чем в 50 м друг от друга; 3. Движение по мосту во всех случаях должно производиться так, чтобы ось танка строго совпадала с осью моста. Скорость на мосту – не более 15 км/ч».
Помимо 5-й тяжелой танковой бригады танки Т-35 поступали в различные военные учебные заведения. Так, по данным на 1 января 1938 г., в РККА имелся 41 танк Т-35, 27 – в уже упомянутой танковой бригаде, один – на Казанских бронетанковых курсах усовершенствования технического состава (КБТКУТС), два на НИБТ полигоне в Кубинке, один – в 3-й тяжелой танковой бригаде в Рязани, один – при Военной академии моторизации и механизации (ВАММ) в Москве, один – в Орловской бронетанковой школе, один – на ЛБТКУКС (Т-35—1), один – в Ленинградской школе танковых техников, один – в Институте № 20 (с системой централизованной наводки) и пять – на ХПЗ.
До начала Великой Отечественной войны танки Т-35 не участвовали ни в каких боевых действиях. Упоминания в западных и некоторых отечественных изданиях об использовании этих машин в зимней войне с Финляндией не соответствуют действительности.
Не прошло и полугода, как «служебная карьера» Т-35 чуть было не завершилась. 27 июня 1940 г. в Москве состоялось совещание «О системе автобронетанкового вооружения Красной армии», на котором рассматривался вопрос о перспективных типах танков и о снятии с вооружения старых образцов. В отношении Т-35 мнения разделились. Одни считали, что их нужно переделать в самоходно-артиллерийские установки большой мощности (типа СУ-14), другие предлагали передать их танковому полку ВАММ и использовать для парадов. Но в связи с начавшейся реорганизацией танковых войск Красной армии и формированием механизированных корпусов Т-35 решили «оставить на вооружении до полного износа, изучив вопрос об их экранировке до 50–70 мм».
В результате почти все машины оказались в 67-м и 68-м танковых полках 34-й танковой дивизии 8-го механизированного корпуса Киевского Особого военного округа.
В некоторых публикациях утверждается: «Если до 1935 года тактические данные Т-35 позволяли ему выполнять возложенные на него задачи, то техническое несовершенство и недоведенность машины сводили на нет возможность такого применения. После 1935 года, когда была существенно повышена надежность машины, он уже морально устарел и перестал отвечать предъявляемым к нему требованиям».
Увы, по моему мнению, создание Т-35, равно как и его собратьев (БТ, Т-26, Т-28 и др.), было следствием авантюристской стратегии маршала Тухачевского. Армады наших танков во главе с пятибашенным монстром должны были напугать «морально неустойчивого противника».
Я вполне допускаю, что так и могло произойти в случае войны с Польшей, Румынией, Турцией, Болгарией и т. п. Представим, что бы наделал один Т-35 с бригадой польской кавалерии… Но, увы, для борьбы с морально устойчивым противником (например, с немцами и финнами) такие танки не годились ни в 1932 г., ни в 1936 г.
Следует заметить, что авантюризм Тухачевского и Ко сказался не только при создании тяжелых танков. Так, «великий стратег» в 1931–1933 гг. добился прекращения работ над разборными буксируемыми орудиями особой мощности и буквально навязал промышленности работы над супер-САУ – дуплексом 203-мм пушки и 305-мм гаубицы. Так была спроектирована установка СУ-7 с проектным весом 102–106 т, которая из-за своих габаритов была нетранспортабельна по железной дороге, не проходила через мосты и не вписывалась в кривые улицы малых населенных пунктов. Ко времени прекращения работ (21 апреля 1938 г.) не было создано даже опытного образца СУ-7.
Глава 3
«Уберите башню!»
После устранения Тухачевского и его компании – Павлуновского, Бекаури, Курчевского и многих – началась новая эпоха в развитии советского оружия. И это касается не только танков, но и артиллерии, авиации и т. п. Обратим внимание, что немцы, по крайней мере, до 1943 г., воевали образцами вооружения, созданными в 1928–1937 гг., и лишь потом появились новые системы оружия, хотя и прежние образцы состояли на вооружении вплоть до мая 1945 г.
В СССР же практически все системы вооружения, созданные в бытность замнаркома по вооружению Тухачевского, оказались небоеспособными, а воевать пришлось оружием, созданным после 1938 г.
7 августа 1938 г. Комитет обороны СССР принял постановление № 198сс «О системе танкового вооружения». В этом постановлении содержалось требование менее чем за год – к июлю 1939 г. – разработать новые образцы танков, у которых вооружение, броня, скорость и проходимость развивались бы комплексно и полностью отвечали условиям будущей войны.
Этим постановлением поручалось Кировскому заводу (бывшему Путиловскому) разработать тяжелый танк с противоснарядной броней. Параллельно с Кировским заводом тяжелый танк проектировал Ленинградский завод опытного машиностроения им. С.М. Кирова, директором которого был военный инженер 1-го ранга Н.В. Барыков, а главным конструктором – С.А. Гинзбург. Предполагалось принять на вооружение только одну модель тяжелого танка, а значит, проектирование сразу двух машин одного класса в разных конструкторских бюро превращалось в конкурсную разработку.
Решение правительства о создании тяжелого танка с противоснарядной броней было, безусловно, правильным, хотя и запоздалым. Однако танк пришлось создавать не по постановлению, а по тактико-техническим требованиям, разработанным нашими военными. А те, не мудрствуя лукаво, предложили трехбашенную схему танка «а ля» Т-35, то есть короткоствольная 76-мм пушка в центральной башне и две малые башни с 45-мм противотанковыми пушками.
В вопросах артиллерийского вооружения танков наши военные проявили патологический консерватизм. Так, Главное автобронетанковое управление (ГАБТУ) панически боялось ставить на танки 76-мм пушки с высокой баллистикой, способные на любой реальной дистанции боя пробивать броню вражеских танков. Я уже писал о 76-мм таковой пушке обр. 1927/32 г., но сейчас не могу удержаться, чтобы не назвать кошку кошкой!
Эта пушка разработана еще в конце XIX века греческим офицером Данглизом, но, разумеется, не как танковая, а как горная с разборным стволом. Греческое военное министерство послало Данглиза с его пушкой куда подальше. Тот отправился во Францию и уговорил руководство фирмы Шнейдер изготовить опытный образец 75-мм горной пушки. Однако и французские военные отвергли систему Данглиза. Далее Шнейдер и Ко действовали по давно отработанной схеме – перечислили энную сумму на счет Матильды Кшесинской. Та уговорила главу российской артиллерии великого князя Сергея Михайловича осмотреть систему Данглиза, благо сделать это было просто, поскольку Сергей половину своей жизни проводил во Франции.
Далее был конкурс на полигоне Ржевка под Петербургом, где горная пушка Данглиза по многим параметрам проиграла пушке системы Шкода. Но, понятно, на вооружение была принята пушка «французско-греческого происхождения» под названием 76-мм горной пушки обр. 1909 г.[10]. Конструкция ее имела много недостатков, и в конце концов Красная армия вернулась к системе Шкода (естественно, нового образца), приняв ее на вооружение под названием 76-мм горной пушки обр. 1939 г.
За неимением лучшего качающаяся часть горной пушки обр. 1909 г. была использована в тумбовой пушке на бронеавтомобилях «Гарфорд» Путиловского завода в 1916 г. в полковой пушке обр. 1927 г. и в танковой пушке 1927/32 г. Причем по халатности конструкторов во всех этих системах, выпущенных до 1939 г., применялся разборный ствол – вещь очень дорогая из-за технологии изготовления и нужная лишь в горных пушках. И лишь в 1939 г. пошел ствол-моноблок.
ГАБТУ принципиально не хотело устанавливать длинноствольные 76-мм пушки длиной в 30 калибров, мол, возможно утыкание в грунт. Те же начальники стеной стояли против введения полуавтоматического клинового затвора на танковых пушках. Мотивировка – нельзя столь часто стрелять, будет сильная загазованность в боевом отделении. Оно, конечно, лучше вообще без пушки – пусть танкисты дышат свежим воздухом. О том, что можно сделать эжекцию, то есть продувание ствола, или вентиляцию башенного отделения, краскомам и думать не хотелось. Между тем моряки с проблемой загазованности башни справились за полвека до этого и в начале ХХ века успешно вышли из положения, применив одновременно эжекцию стволов и вентиляцию в башне и подбашенном помещении.
В 1936 г. в КБ Кировского завода под руководством И.А. Маханова была спроектирована 76-мм танковая пушка Л-10. Пушка имела вертикальный клиновой полуавтоматический затвор с устройством для отключения полуавтоматики – «дань» ГАБТУ. Принципиальным отличием Л-10 и последующих пушек Маханова были оригинальные противооткатные устройства, в которых жидкость компрессора непосредственно сообщалась с воздухом накатника. При некоторых режимах огня такая установка выходила из строя. Этим и любил пользоваться главный конкурент Маханова Грабин. На испытаниях он рекомендовал вести длительный огонь (сотни снарядов на пределе скорострельности) на максимальном угле возвышения, а затем резко дать пушке максимальный угол снижения и начать стрелять под гусеницы. В таких случаях часто происходил отказ противооткатных устройств. Разумеется, такой режим огня в боевых условиях был маловероятен, тем не менее из-за этого Маханов периодически проигрывал конкурс Грабину.
В конце 1936 г. первые три пушки Л-10 были изготовлены на Кировском заводе. Пушки Л-10 проходили испытания в танках Т-28 и БТ-7А. Из танка БТ-7А было сделано 1005 выстрелов, но ставить Л-10 в серийные танки не рискнули из-за тесноты в башне.
С 13 февраля по 5 марта 1938 г. пушка Л-10, установленная в АТ-1, успешно прошла испытания на Научно-исследовательском артиллерийском полигоне (НИАП).
Пушка Л-10 была принята на вооружение под названием «76-мм танковая пушка обр. 1938 г.». Она устанавливалась на танках Т-28 и на бронепоездах. Пушка Л-10 серийно изготавливалась на Кировском заводе. В 1937 г. было сдано 30 пушек, а в 1938 г. – 300. На этом производство их завершилось.
В 1937 г. руководство РККА решило принять для тяжелых и средних танков 76-мм танковые пушки с баллистикой 76-мм пушки обр.1902/30 г. длиной в 30 калибров. Такое решение было принято с учетом развития танкостроения за рубежом и опыта испанской войны. Задание на проектирование таких пушек было выдано Маханову (Кировский завод) и Грабину (завод № 92).
Маханов попросту удлинил нарезную часть и упрочил механизмы противооткатных устройств пушки Л-10. Новая система получила индекс Л-11.
Грабин же сделал новую пушку Ф-32. В ней было использовано много элементов 76-мм пушки Ф-22. Ствол состоял из свободной трубы и кожуха. Затвор вертикальный клиновой, полуавтоматика копирного типа. Тормоз отката гидравлический. Накатник гидропневматический.

Тяжелый танк прорыва Т-100. Вид сбоку и сверху
В мае 1939 г. обе пушки проходили испытания на НИАПе, а в сентябре на Сенежском танковом полигоне, в ходе них Л-11 и Ф-32 стреляли из танков Т-28 и БТ-7. Обе пушки имели свои недостатки и достоинства, и обе были приняты на вооружение. Л-11 – под названием «76-мм пушка обр. 1938/39 г.», а Ф-32 – под названием «76-мм пушка обр. 1939 г.». В 1940–1941 гг. пушки Л-11 и Ф-32 устанавливались в серийных танках Т-34 и КВ-1. Кроме того, Л-11 была установлена на опытном тяжелом танке СМК. В 1938 г. Кировским заводом было сдано 570 пушек Л-11, а в 1939 г. – 176. Пушки Ф-32 в производстве находились только в 1941 г., тогда была изготовлена 821 пушка.
В июне – октябре 1940 г. на НИАПе было произведено испытание 76-мм пушки Л-11 на танке Т-34 в объеме 343 выстрелов. Угол вертикального наведения –5°; +25° вперед и в бок, назад –1,2°; +25°. Мертвая зона впереди и сбоку 18–19 м, назад 80 м. В целом испытания прошли удовлетворительно.
Полигонно-войсковые испытания 76-мм пушки Ф-32 в танке Т-34 прошли с 20 по 23 ноября 1940 г. на Гороховецком полигоне в объеме 1000 выстрелов. Угол вертикального наведения —5°; +31°45′ (на корму угол снижения —1°41′). Скорострельность в условиях танка 2–3 выстрела в минуту, на полигонном же станке скорострельность пушки Ф-32 без изменения наводки достигала 20 выстрелов в минуту. По результатам испытаний комиссия рекомендовала Ф-32 к принятию на вооружение.
Но в 1938 г. руководство РККА утвердило новые тактико-технические требования на танковые пушки, где была уже баллистика 76-мм пушки обр. 1902/30 г. длиной в 40 калибров. Естественно, что обратились опять к Маханову и Грабину, которые попросту удлинили свои пушки. Модернизированная Л-11 получила индекс Л-15, а Ф-32 – индекс Ф-34. Но довести Л-15 Маханову помешал арест, понятно, что о серийном производстве Л-15 уже и речи не было.
К 15 марта 1939 г. были закончены все рабочие чертежи на Ф-34 и начато изготовление деталей пушки.
Интересно, что первоначально Ф-34 предназначалась для вооружения танков Т-28 и Т-35А. Первые испытания ее в танке Т-28 были проведены 19 октября 1939 г. на Гороховецком полигоне. Первые испытания Ф-34 в танке Т-34 прошли там же в ноябре 1940 г. На вооружение пушка Ф-34 была принята под названием «76-мм танковая пушка обр. 1940 г.». Ф-34 устанавливалась в серийных танках Т-34, бронепоездах и бронекатерах. Кроме того, пушкой Ф-34 был вооружен опытный танк КВ-3.

Т-100. Вид спереди и сзади. Чертеж В. Мальгинова

Схема бронирования танка Т-100
Специально для танка КВ-1 Грабиным была создана модификация пушки Ф-34, получившая заводской индекс Ф-27, позже измененный на ЗИС-5, и принятая на вооружение под названием «76-мм танковая пушка обр. 1941 г.». ЗИС-5 отличалась от Ф-34 конструкцией люльки, устройством и креплением блокировки, а также рядом мелких деталей.
Как видим, я забежал далеко вперед, дабы больше не возвращаться к 76-мм танковой пушке.
Итак, именно косность ГАБТУ в вопросах артиллерийского вооружения заставила вновь выбрать два калибра пушек (76 мм и 45 мм) и трехбашенную схему для перспективного тяжелого танка. Ведь ни 76-мм пушка обр. 1927/32 г., ни Л-10 не обладали достаточной бронепробиваемостью. Но после появления Ф-32 и Ф-34 трех- и двухбашенные схемы стали анахронизмом, данью традиции.
Работы над тяжелыми танками начались в 1938 г. в Ленинграде сразу на двух заводах: на Кировском заводе главный конструктор Ж.Я. Котин разрабатывал СМК, названный так в честь руководителя ленинградских большевиков Сергея Мироновича Кирова, а на Ленинградском заводе опытного машиностроения имени Кирова танк Т-100 создавался военным инженером 1-го ранга М.В. Барыковым.
Тактико-технические данные тяжелого танка Т-100 приведены в Приложении.
Работы велись на конкурсной основе, так как на вооружение нужно было принять только один танк. Начальником группы проектировщиков СМК был назначен А.С. Ермолаев. По его проекту вес танка составлял 55 т. Поэтому решили поставить на него 12-цилиндровый авиационный бензиновый двигатель мощностью 850 л.с. По расчетам двигатель обеспечивал танку максимальную скорость по шоссе 35 км/ч и запас ходу 220 км.

Тяжелый танк СМК. Чертеж В. Мальгинова
Сложными были поиски оптимальной формы корпуса и башен. Возник вопрос, делать ли их литыми или же сваривать из броневых плит. Чтобы нагляднее представить себе, как будет выглядеть танк, Котин распорядился сделать его макет из дерева, который был готов через 15 дней.
Хотя на заводе уже создавался танк с противоснарядной броней Т-46—5, было очевидно, что новый танк – машина необычная. По компоновке первый вариант СМК, имевший три башни, больше всего напоминал крейсер. При этом его башни располагались не по продольной оси корпуса, а со смещением – передняя влево, а задняя – вправо. Центральная башня была выше концевых и монтировалась на броневом коническом основании. Центральная башня с 76-мм пушкой поворачивалась на 360°. Передняя башня нижнего яруса могла поворачиваться на 270°, а задняя – на 290°, благодаря чему «мертвая зона» огня равнялась всего 440 кв. м, то есть была наименьшей среди всех рассмотренных вариантов. Боекомплект центральной башни составлял 150 выстрелов, а в двух остальных находилось по 300 выстрелов. Все башни имели перископы для наблюдения и прицелы. Экипаж многобашенной машины должен был состоять из 7 человек, что позволяло вести одновременный огонь во всех направлениях.
Танк имел по тем временам действительно надежную броню, не пробивающуюся снарядами 37—40-мм орудий. Корпус и башни делались из катаной брони, максимальная толщина которой спереди и по бортам составляла 60 мм. Крыша танка была толщиной 20 мм, а дно для защиты от мин сделали толщиной 30 мм. Характерной особенностью машины с тремя башнями являлись скошенные углы носовой части корпуса, которые позднее были использованы на танке КВ-13 и машинах серии ИС.
СМК превосходил тяжелый танк Т-35 в скорости, по запасу хода, проходимости, мог преодолевать подъем в 37°, тогда как для Т-35 крутизна более 15° была пределом. Первоначально танк должен был иметь ту же систему подвески, что и Т-35, но она была не очень надежной и требовала для защиты громоздких и тяжелых броневых экранов. Вот почему уже на раннем этапе проектирования от нее было решено отказаться и впервые в СССР использовать на тяжелом танке торсионную подвеску, уже применявшуюся на легких шведских и германских танках.

Схема бронирования тяжелого танка СМК
В таком виде небольшой макет танка из дерева демонстрировался в Кремле 9 декабря 1938 г. Котин доложил об основных тактико-технических данных будущей машины, рассказал о ходе проектирования, о сомнениях проектировщиков относительно целесообразности установки на танке двух и более башен. Он демонстрировал чертежи и использовал макет двухбашенного танка.
После доклада состоялось обсуждение. Общая оценка была положительная. В ходе разговора Сталин подошел к макету, снял переднюю башню и посоветовал не делать на танке «Мюр и Мерилиз»[11]. В результате конструкторам Кировского завода пришлось работать сразу над двумя проектами: двухбашенного тяжелого танка и однобашенного танка с усиленной броней, поскольку эта машина становилась легче своего двухбашенного собрата.
Генсек предложил сэкономленный вес в 3 т использовать на усиление броневой защиты. Кроме того, была разрешена работа над однобашенным вариантом – будущим танком КВ.
СМК в двухбашенном варианте получил корпус более простой формы, а главная башня – пулемет в задней части. Предусматривалась и установка зенитного пулемета ДА. Сталин считал, что в таком танке обязательно должен быть запас питьевой воды в специальном баке.
Тактико-технические данные тяжелого танка СМК приведены в Приложении.
Однобашенный тяжелый танк получил название КВ. Такое название было выбрано неслучайно. Танкостроитель Николай Федорович Шамшурин писал: «Дело в том, что Специальное конструкторское бюро (СКБ-2) Кировского завода, где разрабатывались образцы новых танков, возглавлял с 1937 года Жозеф Яковлевич Котин, женатый на воспитаннице Ворошилова. Котин очень хорошо ориентировался в быстро меняющихся вкусах высших политических сфер, он прекрасно угадывал, что, когда и кому было нужно. Живя в полном соответствии с духом культового времени, для наглядной демонстрации “любви и преданности” вождям стал присваивать машинам еще на стадии проектирования имена “борцов за правое дело”. И кто бы мог перечить родственнику Климента Ефремовича? Между прочим, в КБ сразу же расшифровали новое название не как Клим Ворошилов, а как “Котин – Ворошилову”. К сожалению, надо признать, что КВ изначально делался не столько “для войны”, сколько “для показа”…»
На танке КВ вдоль корпуса устанавливался 12-цилиндровый V-образный дизель В-2К мощностью 600 л. с. Пуск двигателя осуществлялся двумя электростартерами или сжатым воздухом. Емкость трех топливных баков составляла 600 л. Запас ходу танка по шоссе достигал 230 км.

