
Рыба и раки. Технология разведения

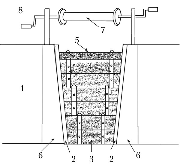
Щитовой водослив в водоемах с эффективным ручьевым водоснабжением: 1 – дамба; 2 – направляющие полозья для подпорных щитов; 3 – водоподпорные щиты; 4 – металлические пластины с петлями для крепления; 5 – каркас с сеткой, которая предотвращает выход рыбы; 6 – бетонная основа водослива; 7 – съемный барабан для поднятия водоподпорных щитов; 8 – пруд
Для того чтобы избежать промерзания нижней сливной трубы в зимний период, ее следует закрыть опалубкой и опилками до наступления осенних заморозков. Мелкоячеистую сетку на переливной трубе необходимо снять и заменить крупной. Когда пруд замерзнет, сетку снимают.
В случае обильного (эффективного) поступления воды в пруд из ручья устанавливают трубы для перелива большего диаметра или оборудуют щитовой водослив по принципу промышленных прудов. Металлические направляющие для щитов, которые удерживают воду, устанавливают раскосо под небольшим углом (3–4°). Прямоугольные щиты должны иметь слегка трапециевидную форму, благодаря чему их легко перемещать вверх.
Деревянные щиты из дубовых досок толщиной не меньше 50 мм скрепляют двумя металлическими пластинами, которые в верхней части имеют петли. Щиты поднимают тросом, закрепленным на барабане и изготовленным по принципу подъемника в сельском колодце. Над верхним щитом устанавливают металлический каркас с сеткой.
В верхней части пруда на водозаборе устанавливают решетчатое металлическое заграждение с ячейками 20x20 мм, что будет предотвращать загрязнение пруда опавшей листвой и мусором, а также выход выращиваемой рыбы.
В плотине по центру ложа от водозабора до водослива необходимо выкопать осушительный канал глубиной 0,5–0,6 м, который необходим для сбрасывания и отвода из ложа воды, оставшейся после спускания.
Чтобы облегчить вылавливание рыбы, в осушительном канале делают 2–3 небольшие ямы размером 2x2 м и глубиной до 1 м. В них рыба не повреждается и может находиться продолжительное время.
В обход контурной дамбы и плотины с учетом рельефа местности устраивают водосбросный слив для пропуска лишней воды, которая появляется в период наводнений и ливней, а также для отвода воды во время полного спуска воды из пруда. Водосбросные сооружения делают в виде земляных каналов, бетонных, деревянных, трубчатых, комбинированных и донных водосливов.
Если участок имеет склон, по которому протекает ручей, а грунты исключают фильтрацию воды в грунт, – можно оборудовать несколько каскадных прудов с водопадами и фонтанами. Такой каскад прудов, оборудованных небольшими водопадами, дает возможность выращивать не только карпа, толстолобика, белого амура, но и такую деликатесную рыбу, как радужная форель.
Пруд с родниковым водоснабжением
Из всех видов приусадебных прудов наилучшим для выращивания рыбы является пруд с родниковым водоснабжением. Гидрохимические, токсикологические, микробиологическое и ихтиологическое условия водной среды таких водоемов дают возможность создать комфортную жизнь для любого вида пресноводных рыб.
Лучше всего копать пруд знойным летом или сухой осенью, когда подпочвенные воды залегают глубже, а вода в озере (реке), прилегающем к участку, достигает наименьшей отметки.
Прежде чем начать выкапывать котлован под будущий пруд, необходимо выровнять площадку бульдозером, сняв пласт грунта с таким расчетом, чтобы подпочвенные воды находились на глубине 30–40 см.
На заболоченных участках разравнивают только территорию, прилегающую к естественному водоему, которая обеспечивает удобный подъезд и работу механизмов, способных вынимать грунт (болотного экскаватора или других машин). В твердых грунтах (глина, суглинок и т. п.) возможности болотного экскаватора ограничены. Кроме того, ему нужно пространство для маневрирования и выбрасывания грунта, а деревья и здания на приусадебных участках усложняют эту работу и нередко делают невозможным движение болотного экскаватора.
Более маневренным и способным копать твердые грунты является экскаватор на базе МТЗ и подобных модификаций. Тем не менее, выкопать большой водоем таким экскаватором за один раз очень сложно. Поэтому пруды площадью более 20–25 м2 копают за 3–4 приема с перемещением выкопанного грунта экскаватором или бульдозером. Но если одновременно работают экскаватор и бульдозер, то ложе пруда можно устроить за один раз, независимо от его размеров.
Для того чтобы в перспективе искусственный водоем не заиливался, участки земли вокруг котлована засевают многолетними травами, высаживают лозу, вербу, ольху, березу и другие деревья.
Во время выкапывания котлована не обойтись и без ручной работы. До заполнения котлована водой необходимо вручную оборудовать ступеньки, ложе пруда и придать нужную форму его берегам.
После заполнения котлована водой его соединяют с рекой (озером) каналом, глубина которого регулирует уровень воды в искусственном пруду. Для того чтобы мальки не шли из водоема, а из реки (озера) не проникала нежелательная рыба, канал перегораживают металлической или капроновой сеткой с ячейкой 2x2 мм. Очень удобно соединять искусственный пруд с рекой (озером) асбестоцементной или пластиковой трубой диаметром 100–150 мм и больше в зависимости от притока воды из источников. С обеих сторон трубы устанавливают сетку, которую крепят с помощью съемного хомута, обеспечивающего ее легкое снятие во время чистки или замены.
Постоянное изменение воды в искусственном водоеме с родниковым водоснабжением существенным образом усложняет развитие в нем фитопланктона. Но наличие дафниевых ям, соединенных с водоемом, целиком компенсирует этот недостаток родникового водоснабжения.
Количество и размеры ям определяют с учетом площади пруда, частоты изменения воды в нем и плотности зарыбления.
Для водоема площадью около 50 м2 с одним изменением воды через сутки и зарыбленностью 5–6 шт. на 1 м2 достаточно одной дафниевой ямы с оптимальным размером 3x2 м и глубиной 0,5 м.
При большей площади водоема, а также более плотной посадке рыбы количество дафниевых ям увеличивают; их ложе должно иметь плоскую прямоугольную форму, слегка пологую по краям.
Дафниевые ямы и соединительные каналы, по обыкновению, копают вручную.
Многие рыбоводы-любители увеличивают количество дафниевых ям, которые в значительной мере улучшают обеспечение рыб естественным кормом.
Водные растения, которые высаживают по периметру на первой ступеньке ложа (глубина 20–25 см), можно взять в озере или реке, прилегающих к пруду.
В прудах с родниковым водоснабжением вода плохо прогревается. Поэтому деревья нужно высаживать так, чтобы они не затеняли зеркало воды. Независимо от источников водоснабжения, дафниевые ямы не должны затеняться.
Определяя высоту защитного земляного вала, который предотвращает проникновение в пруд дождевой, талой и половодной воды, нужно учитывать крутизну склона окружающей местности и высоту повышения уровня воды в реке (озере) во время наводнения.
Пруд с замкнутым водоснабжением
Еще недавно строительство декоративного водоема с замкнутым водоснабжением было недоступно для большинства любителей. Сегодня его легко можно построить благодаря появлению синтетических изолирующих материалов, пригодных для укладывания на дно водоема.

Разметка очертаний будущего пруда
Ложе водоема с замкнутым водоснабжением может быть в бетонной, железной, пластиковой, пленочной и глиняной оправе. Большой популярностью пользуются пруды с пленочным покрытием, где используют современные гибкие изолирующие материалы. Они не ограничивают фантазию человека в выборе очертаний и размеров пруда, их несложно сделать даже без специальной квалификации и подготовки.
Единственный недостаток гибкого изолирующего материала – невозможность получения абсолютно ровной поверхности и идеально правильных углов, поскольку во время укладки неизбежно образуются складки. Но это не такой уж и большой недостаток, так как поверхность воды скроет его. И вдобавок, со временем стенки пруда зарастают растениями, и тогда складки будут абсолютно незаметны.
Для создания временных водоемов (на одни-два года) пригодна дешевая полиэтиленовая пленка, которую со временем можно заменить на более крепкое покрытие.
Нередко, покупая гибкий изолирующий материал, сложно понять, из каких материалов он изготовлен. Прежде чем платить деньги, узнайте об этом у продавца или фирмы, которая его реализует, и уточните сроки гарантии.
Технологический процесс строительства декоративного водоема состоит из нескольких этапов.
Прежде чем начать строить, необходимо обозначить предполагаемые очертания будущего водоема, используя бечевку, рулетку и деревянные колышки.
Котлован под ложе пруда начинают копать с середины, чтобы не разрушить края. Стенки ложа должны идти вниз, под углом до 60°. На глубине 40–50 см от поверхности по всему периметру пруда нужно сделать горизонтальную ступеньку шириной 20–30 см. На ней будут располагаться корзины с водными растениями. Если планируете зимовку рыбы, то необходимо предусмотреть зимовочный колодец или яму глубиной не меньше 2 м. Края пруда нужно выровнять с помощью спиртового или водного уровня, чтобы один берег не оказался ниже другого.
Во время выкапывания котлована с помощью экскаватора участок размечают колышками без учета скошенных стенок. Такие стенки ложа и ступеньку под водные растения оборудуют вручную. Дно пруда выравнивают песком и тщательно трамбуют.
Если пруд располагают на склоне, следует подумать об оформлении высокого берега, так как не заделанная пленка будет иметь непривлекательный вид. Высокий берег, выложенный из камней в виде скалы, выглядит более природно. Во избежание обсыпания камней, их закрепляют цементным раствором. Среди них можно сделать углубление для высаживания невысоких декоративных растений, свисающих лиан или цветов.
Когда котлован будет готов, необходимо проверить, нет ли на склонах и дне ложа камней, выступающих корней деревьев и других острых предметов. На дно котлована и его стенки насыпают пласт песка толщиной 5-10 см, затем его выравнивают и трамбуют.
Далее подготавливают пленку. Ее размеры должны отвечать максимальной длине и ширине пруда плюс две глубины с учетом наклона стенок и по 25 см для прикрытия по краям. Чаще всего ширина стандартного рулона пленки составляет 6 м. Если пруд не вписывается в эти габариты, то пленку придется клеить. ПВХ и полиэтилен спаивают термическим способом. Покрытие из битумкаучуковой резины или Pondtex склеивают с помощью специальной клейкой ленты.
Конец ознакомительного фрагмента.
Текст предоставлен ООО «ЛитРес».
Прочитайте эту книгу целиком, купив полную легальную версию на ЛитРес.
Безопасно оплатить книгу можно банковской картой Visa, MasterCard, Maestro, со счета мобильного телефона, с платежного терминала, в салоне МТС или Связной, через PayPal, WebMoney, Яндекс.Деньги, QIWI Кошелек, бонусными картами или другим удобным Вам способом.
Приобретайте полный текст книги у нашего партнера:

