
Турбовозы. История, теория, конструкция

Турбовозы
История, теория, конструкция
Евгений Лосев
Фото на обложке https://www.yaplakal.com
© Евгений Лосев, 2021
ISBN 978-5-0053-0018-8
Создано в интеллектуальной издательской системе Ridero
ОТ АВТОРА
Уважаемый читатель!
Сегодня мы поговорим об очень интересных локомотивах – турбовозах. Турбовозы бывают паровые и газовые, т. е. с паровыми и газовыми турбинами. На них в своё время возлагались большие надежды, но, к сожалению, как и многие опытные локомотивы, они были построены небольшими партиями и в серию не пошли. О причинах этого вы узнаете, прочитав книгу.
В данной книге мы более подробно остановимся на паротурбовозах, потому что, если по газотурбовозам есть хоть какая-то литература, написано несколько книг, есть журнальные статьи, то по паротурбовозам практически нет и этого. Немногочисленные публикации о паротурбовозах в старых советских журналах вряд ли будут доступны широкому кругу читателей.
Эту книгу я посвящаю памяти замечательного человека, учёного-теплотехника – Евгения Тарасовича Бартоша (1918—2012), энтузиаста турбинной тяги, много сделавшего для её популяризации и развития. Из под его пера вышел ряд научных статей и монографий, посвящённых этому виду тягового подвижного состава. Последние 30 лет своей жизни Евгений Тарасович занимался разработкой новых видов турбовозов, основанных на применении парогазового цикла с использованием твёрдого топлива. Автор книги с 2000 г. принимал участие в этой работе и основные её положения с учётом своего видения проблемы изложил в последней главе книги.
При написании книги использованы сайты, на которых большей частью помещена наиболее полная информация о паровых и газовых турболокомотивах.
ВВЕДЕНИЕ
Попытки создать механизмы, похожие на турбины, делались очень давно. Известно описание примитивной паровой турбины, сделанное Героном Александрийским (I в. н. э.). По словам И. В. Линде, XIX век породил «массу проектов», которые остановились перед «материальными трудностями» их выполнения. Лишь в конце XIX века, когда развитие термодинамики (повышение коэффициента полезного действия (к.п.д.) турбин до сравнимого с поршневой машиной), машиностроения и металлургии (увеличение прочности материалов и точности изготовления, необходимых для создания высокооборотных колёс), Густав Лаваль (Швеция) и Чарлз Парсонс (Великобритания) независимо друг от друга создали пригодные для промышленности паровые турбины.
В процессе развития совершенствовался рабочий процесс паровых турбин: повышались температура и давление пара перед турбиной до сверхкритических значений, более глубоким становился вакуум при выхлопе.
Газотурбинные установки (ГТУ) и двигатели (ГТД) являются наиболее древним по своей идее (примерно XV век) и вместе с тем наиболее молодым в отношении практической реализации (рубеж XІХ – ХХ столетий) тепловым двигателем. Газовые турбины вошли в большую энергетику, достигнув совершенства в авиации и кораблестроении. Применение газотурбинных установок оказывает существенное влияние на решение кардинальных задач, стоящих перед энергетикой: увеличение высокоманёвренных мощностей для покрытия пиковых нагрузок в крупных энергосистемах; повышение экономичности электростанций путём использования газотурбинных установок в комбинированных парогазовых и газопаровых установках при модернизации существующих и строительстве новых электростанций; использование газотурбинных, парогазовых и газопаровых установок в системах автономного снабжения электроэнергией и теплотой (теплофикации) индивидуальных потребителей; использование газотурбинных установок в качестве базовых агрегатов в автономных условиях в отдалённых районах.
Последующее изобретение и бурное развитие паровых турбин несколько затормозило развитие газовых турбин, однако не остановило его, причиной чего явился вполне очевидный ряд преимуществ газотурбинных установок перед паротурбинными. Паротурбинная установка – сложный агрегат, состоящий из котельной установки, паровой турбины, конденсатора, большого количества вспомогательного оборудования, требующий большого количества охлаждающей воды. Газотурбинная установка не нуждается в воде, она отличается меньшим количеством механизмов, большей простотой, заметно меньшими габаритами и массой.
Прототипы газовых турбин, к которым относят так называемые дымовые машины, были известны еще в XVII столетии, но отправным пунктом в развитии газовых турбин можно считать изобретение английского инженера Джона Барбера, который в восемнадцатом веке получил патент на устройство, которое имело большинство элементов, присутствующих в современных газовых турбинах.
Первую в мире газовую реверсивную турбину радиального типа с десятью ступенями давления и горением при постоянном давлении сконструировал и построил русский инженер П. Д. Кузьминский. Испытания газотурбинной установки не были закончены из-за смерти П. Д. Кузьминского, но работа оказала заметное влияние на развитие водного транспорта.
Над созданием газотурбинных установок постоянного объёма работал немецкий учёный доктор Гольцварт, который провёл обширные экспериментальные работы, основанные на глубоких теоретических исследованиях.
Увлечение в 1920-х годах строительством ГТД с горением при постоянном объёме во многом может быть объяснено отсутствием возможности создания осевого или центробежного компрессора с достаточно высоким к.п.д. при принятой степени повышения давления, в то время как использование цикла с горением при постоянном объёме позволяло добиться повышения давления за счёт сгорания топлива в закрытом объёме. Уровень науки в области теории создания турбомашин, особенно компрессоров, был столь низким, что на каком-то этапе утвердилось мнение о невозможности достижения необходимого к.п.д. турбомашин, когда двигатель с горением при постоянном давлении мог быть работоспособным.
В то время как в Европе 20—30-е годы прошлого века прошли под знаком развития ГТУ прерывистого горения, в Харьковском политехническом институте в газотурбинной лаборатории, организованной еще в начале 20-х годов профессором В. М. Маковским, создавались научные основы газовых турбин постоянного действия. Маковский был убежденным сторонником развития газотурбостроения по пути использования ГТУ непрерывного горения. Теоретические и экспериментальные исследования, выполненные В. М. Маковским и его учениками в газотурбинной лаборатории, позволили создать проект ГТУ непрерывного горения с использованием газообразного топлива.
Одним из первых газовыми турбинами постоянного давления применительно к локомотивам стал заниматься русский учёный А. Н. Шелест.
Дальнейшее развитие ГТД шло по пути совершенствования его элементов (компрессора, турбины, камеры сгорания, теплообменников и др.), повышения температуры и давления газа перед турбиной, а также применения комбинированных силовых установок с паровыми турбинами и свободнопоршневыми генераторами газа.
В наше время турбины нашли широкое применение в стационарной теплоэнергетике, в военных транспортных средствах (танк Т-80) и на флоте, занимают господствующее положение в авиации и ракетостроении.
Также имеется определённый опыт использования турбин в качестве двигателей для автомобилей и на поездах.
Благоприятные динамические качества турбин способствуют их использованию на локомотивах, т. к. турбины имеют меньшее воздействие на путь, чем поршневые машины. На поршневых паровозах, как известно, добиться полного уравновешивания возвратно-поступательного механизма не удаётся, тогда как в случае применения турбин уравновешивание можно произвести балансировкой ротора.
Газовые турбины также широко используются в качестве средства наддува двигателей внутреннего сгорания с целью повышения мощности последних.
Глава I
КРАТКИЕ СВЕДЕНИЯ О ТУРБИНАХ
1.1. История турбин
Паровые турбины. Изобретатели давно пытались создать двигатель, где струя пара напрямую бы вращала рабочее колесо. Принцип действия паровых турбин основан на действии струи разогретого пара, тепловая энергия которого преобразуется в механическую работу. При этом скорость вращения колеса должна быть очень высокой за счёт большой скорости струи пара. Паровая турбина оказалась проще, экономичнее и удобнее, чем паровая машина Уатта.
Патент на первый паротурбинный двигатель получил американский морской инженер, адмирал Бенжамин Франклин Изервуд (1822—1915) в 1857 г. После выполненных в 1870 г. инженерных разработок несколько таких паротурбинных установок (ПТУ) на базе одноступенчатой турбины были помещены на военных фрегатах и позволили обеспечить их относительно высокую скорость (до 33 км/ч). Однако эти ПТУ оказались слишком сложными в изготовлении и не более эффективными (к.п.д. 6—8%), чем паровые машины.

Схема активной и реактивной турбин, где ротор – вращающаяся часть, а статор – неподвижная. Автор изображения Emoscopes.
Создание современных паровых турбин связано с именами выдающихся инженеров XIX века – шведом Г. Лавалем и англичанином Ч. Парсонсом.
Первую паровую турбину, которая представляла лёгкое колесо с лопатками, удалось создать шведскому изобретателю Карлу Густаву Патрику де Лавалю в 1883 г. Через поставленные под углом сопла на лопатки направляли пар, который давил на них и раскручивал колесо. Позднее Лаваль усовершенствовал конструкцию, применив сопло, которое расширялось на выходе. Благодаря этому увеличилась скорость пара и, соответственно, скорость вращения ротора. Полученная струя направлялась на один ряд лопаток, которые были насажены на диск. Давление пара и число сопел определяли мощность турбины, работающей по активному принципу. Если отработанный пар не уходил в атмосферу, а направлялся в конденсатор, где при пониженном давлении сжижался, то мощность турбины оказывалась наивысшей. Турбина Лаваля получила всеобщее признание, она давала большие выгоды при соединении с машинами, имеющими высокую скорость (сепараторы, пилы, центробежные насосы). Использовали её и в качестве привода для электрогенератора, правда, только через редуктор (из-за её высокой скорости).
Лаваль создал первую паровую турбину, по одной из версий, для того, чтобы приводить в действие сепаратор молока собственной конструкции. Для этого нужен был скоростной привод. Двигатели того времени не обеспечивали достаточную частоту вращения. Единственным выходом оказалось сконструировать скоростную турбину. В качестве рабочего тела Лаваль выбрал широко используемый в то время пар. Изобретатель начал работать над своей конструкцией и в конце концов собрал работоспособное устройство. В 1889 г. Лаваль дополнил сопла турбины коническими расширителями, так появилось знаменитое сопло Лаваля, которое стало прародителем будущих ракетных сопел. Турбина Лаваля стала прорывом в инженерии. Достаточно представить себе нагрузки, которые испытывало в ней рабочее колесо, чтобы понять, как нелегко было изобретателю добиться стабильной работы турбины. При огромных оборотах турбинного колеса даже незначительное смещение в центре тяжести вызывало сильную вибрацию и перегрузку подшипников. Чтобы избежать этого, Лаваль использовал тонкую ось, которая при вращении могла прогибаться.

Схема одноступенчатой активной турбины Лаваля.
1 – вал; 2 – диск; 3 – рабочие лопатки; 4 – сопловая решётка; 5 – корпус; 6 – выпускной патрубок.
Главная заслуга Лаваля состоит в том, что он сумел создать основные элементы турбины, довести их до совершенства и соединить в работоспособную конструкцию, которая во многих отношениях на десятилетия опережала свое время. Если сравнить современную одноступенчатую активную турбину с её прабабушкой, созданной Лавалем, то поразит их сходство. Оказывается, что за более чем столетний период совершенствования в одной из самых динамичных областей техники формы сопел, лопаток, диска турбины претерпели в общем незначительные изменения. Это, наверное, беспрецедентный случай в истории техники. Причём показатель, связанный с прочностью конструкции.

Карл Густав Патрик де Лаваль.
Почти одновременно с Лавалем создал свою турбину английский изобретатель Чарлз Парсонс. В 1884 г. он запатентовал многоступенчатую реактивную турбину, специально сконструированную им для приведения в действие электрогенератора. Это была первая паровая турбина, которая начала с успехом применяться в промышленности. При меньшей скорости вращения энергия пара здесь использовалась максимально благодаря тому, что пар, проходя через 15 ступеней, расширялся постепенно. Каждая ступень имела пару венцов лопаток. Неподвижным был один венец с направляющими лопатками, которые крепились на корпусе турбины. Второй венец был подвижный, с рабочими лопатками на диске, насаженном на вращающийся вал. Лопатки венцов (неподвижных и подвижных) сориентированы в противоположных направлениях. С целью уравновешивания осевого усилия пар подводился к средней части вала турбины, а затем протекал к его концам. Первая паровая турбина Парсонса имела мощность всего 6 л.с. (около 4,4 кВт) и была подвергнута разнообразным испытаниям. Основные затруднения представляла разработка рациональной конструкции лопаток и способов их крепления в роторе, а также обеспечение уплотнений. Уже в конструкции 1887 г. Парсонс применил лабиринтные уплотнения, что позволило перейти к турбинам с однонаправленным потоком пара. К 1889 г. уже свыше трёхсот таких турбин использовалось для выработки электроэнергии, а в 1899 г. появилась первая электростанция с турбинами Парсонса. В турбине, изготовленной в 1896 г., мощность достигла уже 400 кВт, а удельный расход пара доходил до 9,2 кг/кВт(ч).

Первая многоступенчатая реактивная турбина Чарлза Парсонса.
Изобретатель старался расширить сферу применения своего изобретения, и в 1894 г. он построил опытное судно «Турбиния» с приводом от паровой турбины. На испытаниях оно продемонстрировало рекордную скорость – 60 км/ч. Вскоре паровые турбины начали устанавливать на быстроходных судах.

«Turbinia» – опытное судно Чарлза Парсонса. Автор фото Alfred John West.
Невозможность получить большую агрегатную мощность и очень высокая частота вращения одноступенчатых паровых турбин Лаваля (до 30000 об/мин у первых образцов) привели к тому, что они сохранили своё значение только для привода вспомогательных механизмов. Активные паровые турбины развивались в направлении создания многоступенчатых конструкций, в которых расширение пара осуществлялось в ряде последовательно расположенных ступеней. Это позволило значительно повысить единичную мощность, сохранив умеренную частоту вращения, необходимую для непосредственного соединения вала турбины с вращаемым ею механизмом.
Реактивная паровая турбина Парсонса некоторое время применялась, в основном, на военных кораблях, но постепенно уступила место более компактным комбинированным активно-реактивным турбинам, у которых реактивная часть высокого давления заменена одно- или двухвенечным активным диском. В результате уменьшились потери на утечки пара через зазоры в лопаточном аппарате, турбина стала проще и экономичнее. Хотя и сегодня паровые турбины в основном сохранили черты турбины Парсонса.

Чарльз Алджернон Парсонс.
Французский учёный Рато вывел комплексную теорию турбомашин на основе имевшегося опыта.
Газовые турбины. В ступенях этих лопаточных машин энергия сжатого и нагретого газа преобразуется в механическую работу на валу. Газовые турбины используются в составе газотурбинных двигателей, стационарных газотурбинных установок и парогазовых установок.
Англичанин Джон Барбер в 1791 г. впервые предложил идею создания газотурбинного двигателя с газогенератором, поршневым компрессором, камерой сгорания и газовой турбиной.
Турбина Барбера могла работать на нефти, угле и древесине, что обеспечивалось путём их предварительной газификации (перегонки) в специальных ёмкостях в виде реторт. В схеме его газотурбинной установки кроме воздушного, был и газосжигательный компрессор. Смесь, образованную воздухом и газом, предлагалось нагнетать в камеру горения при помощи компрессора. После горения горючей смеси её предлагалось подавать с большой скоростью на лопатки рабочего колеса, на котором должна производиться работа расширения газа. Для предотвращения перегрева турбины от действия высоких температур предполагалось охлаждение продуктов горения впрыском воды в камеру горения.

Газотурбинная установка Джона Барбера. Рисунок из его патента.
Изобретение Барбера не было реализовано на практике. Первую в мире газовую реверсивную турбину сконструировал русский инженер и изобретатель Павел Дмитриевич Кузьминский в 1887 г. Его десятиступенчатая турбина работала на парогазовой смеси, получаемой в созданной им же в 1894 г. камере сгорания – «газопаророде». Кузьминский применил охлаждение камеры сгорания водой. Вода охлаждала стенки и затем поступала внутрь камеры. Подача воды снижала температуру и в то же время увеличивала массу газов, поступающих в турбину, что должно было повысить эффективность установки. В 1892 г. П. Д. Кузьминский испытал турбину и предложил её военному министерству в качестве двигателя для дирижабля его собственной конструкции. В 1895 г. Кузьминский предложил вариант газовой турбины более простой конструкции. Этот проект был осуществлён в 1897 г. на Петербургском патронном заводе, где была построена действующая газовая турбина, которую изобретатель готовил к показу на Всемирной выставке в Париже в 1900 г., однако не дожил до неё несколько месяцев.

Павел Дмитриевич Кузьминский.
Одновременно с Кузьминским опыты с газовой турбиной (в качестве перспективного двигателя для торпед) проводил также Чарлз Парсонс, однако вскоре пришёл к выводу, что имеющиеся сплавы из-за низкой жаропрочности не позволяют создать надёжный механизм, который приводился бы в движение струёй раскалённых газов либо парогазовой смесью, после чего сосредоточился на создании паровых турбин.
В 1872 г. в Германии инженером Штольце был получен патент на газовую турбину, названную им «огненной турбиной», которая содержала практически все основные узлы современной ГТУ с непрерывным процессом горения топлива в камере сгорания: осевой воздушный компрессор, воздухоподогреватель, совмещённый с камерой сгорания, и турбину. ГТУ была создана и рассчитана на получение мощности 200 л.с. при частоте вращения 2000 об/мин. Однако её испытания не были успешными и вместо 200 л.с. было получено только 20 л.с.

ГТУ Штольце с горением при постоянном давлении
(непрерывного горения).
1 – компрессор; 2 – нагреватель; 3 – реактивная турбина; 4 – газогенератор.
В 1906 г. французскими инженерами Арманго и Лемалем с участием профессора Рато была построена газовая турбина с подводом теплоты при постоянном давлении мощностью 400 л.с. (294 кВт). Установка имела двухступенчатый центробежный компрессор. Направляющие лопатки турбины имели водяное охлаждение, а вода из системы охлаждения подавалась в продукты сгорания керосина, снижая их температуру до 560°С. Турбина развивала мощность, немногим превышающую мощность компрессора, поэтому компрессор приводился от постороннего двигателя.
В том же 1906 г. русский инженер В. В. Караводин спроектировал, а в 1908 г. построил во Франции бескомпрессорный ГТД с четырьмя камерами прерывистого горения, или со сгоранием при постоянном объёме, и газовой турбиной. Мощность, затрачиваемая на сжатие воздуха в таких установках, существенно ниже, чем у газотурбинных установок постоянного давления. Турбина развивала мощность 1,6 л.с. (1,18 кВт) при 10000 об/мин, а эффективный к.п.д. достигал всего лишь 2%.

Газотурбинная установка В. В. Кароводина с горением при постоянном объёме (прерывистого горения).
1 – камера сгорания; 2 – всасывающий клапан; 3 – пружина; 4 – регулирующий винт хода клапана; 5 – свеча; 6 – газоход; 7 – сопло; 8 – колесо турбины.
Определённый прогресс в развитии газовых турбин постоянного объёма был обеспечен работами немецкого инженера Карла Гольцварта, который в 1908 г. предложил оригинальную конструкцию газовой турбины прерывистого горения. В 1910 г. швейцарской фирмой Brown Boveri эта установка была построена. Камера сгорания, сопла и колесо турбины охлаждались водой. Центробежный компрессор приводился в действие паровой турбиной, пар для которой получался как за счёт охлаждения камеры сгорания, так и за счёт теплоты выхлопных газов турбины. По сути, установка Гольцварта была одной из первых действующих парогазовых установок. В этой установке компрессор не имеет такого большого значения, как в газотурбинной установке непрерывного горения, так как горение происходит при постоянном объёме (при закрытых клапанах на входе и выходе из камеры сгорания) и поэтому давление в камере повышается сверх давления, развиваемого компрессором. Однако в целом установка получилась более сложной и дорогой, чем ГТУ непрерывного горения, поскольку для её работы требовались сложные клапанные устройства и паровая турбина с конденсатором. На этой установке была достигнута мощность 200 л.с. (147 кВт) при к.п.д. порядка 14%. Это наибольший к.п.д., который был получен в опытах с турбинами Гольцварта за период до 1927 г.

ГТУ прерывистого горения Гольцварта (с горением при постоянном
объёме), конструктивная схема.
1 – клапан подачи воздуха от компрессора; 2 – клапан подачи топлива; 3 – камера сгорания; 4 – клапан подачи продуктов сгорания к соплам; 5 – сопла; 6 – колесо турбины.
Начиная с 1908 г., по проектам Гольцварта было построено несколько ГТУ прерывистого горения. Поскольку в первые десятилетия прошлого века реализация таких ГТУ осуществлялась более успешно, чем ГТУ непрерывного горения, был накоплен положительный опыт, сыгравший благотворную роль в прогрессе газотурбостроения вообще. Так, в 1928 г. швейцарская фирма Brown Boveri возобновляет постройку ГТУ конструкции Гольцварта. Вскоре фирма получает заказ на разработку, а в 1939 г. приступает к изготовлению этих установок. К.п.д. таких установок оценивался на уровне 18—20%, максимальная мощность составляла 5000 л.с. Это время можно считать временем рождения первой промышленной стационарной газотурбинной установки. На основе накопленного опыта фирма Brown Boveri разработала и начала производство котлов типа «Велокс», горение в которых осуществлялось под давлением. Воздух в топку подавался компрессором, а приводила его в движение газовая турбина, работавшая на уходящих газах котла. Было выпущено большое количество таких котлов.
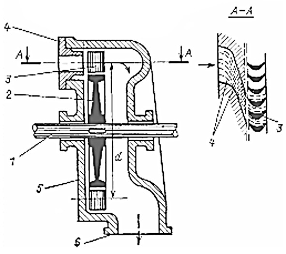
В 1936 г. В. М. Маковским был создан проект, а в 1940 г. Харьковским турбогенераторным заводом была изготовлена экспериментальная установка мощностью 735 кВт с начальной температурой газа 850°С. Турбина имела две ступени скорости. Рабочие лопатки приварены к диску. Корпус и ротор турбины охлаждались водой. Охлаждающая ротор вода специальным насосом подавалась через один конец полого вала, проходила через радиальные сверления и кольцевую полость в диске, а также через сообщающиеся между собой радиальные каналы в рабочих лопатках и отводилась через другой конец полого вала.

Газовая турбина В. М. Маковского.

