
Кровельные работы
Если нужно сверлить древесину твердой породы, то потребуются довольно значительные физические усилия.
Спиральные, винтовые, цилиндрические сверла являются самыми удобными. Винтовой заглубитель конической формы помогает сверлу легко входить в дерево. Боковые винтовые ленточки оканчиваются острыми резцами (дорожниками), с помощью которых древесина режется по окружности. Подрезанная древесина удаляется плоским ножом и поднимается по спирали вверх. Дорожники определяют диаметр просверливаемого отверстия. Для чистовой обработки лучше использовать сверла, имеющие мелкую насечку жала. Для работы с мягким деревом нужны сверла с крупной насечкой. Спиральным сверлом работать намного легче, чем всеми другими.
Иногда при сверлении в месте выхода сверла дерево откалывается, а само отверстие получается скошенным. Во избежание этих неприятностей следует придерживаться следующих правил:
– заготовка, которую необходимо просверлить, должна быть надежно закреплена;
– центры будущих отверстий следует наметить шилом или обыкновенным карандашом;
– нужно проверить точность направления сверла дважды: перед началом сверления и после того, как сверло войдет на небольшую глубину;
– направление сверла при высверливании глубоких отверстий можно проверить на глаз, по заранее начерченной карандашом линии.
Для сверления несквозных отверстий используют ограничитель – деревянный брусок, который располагают сбоку от сверла и сверлят до тех пор, пока ограничитель не соприкоснется с зажимным патроном. Перед началом работы сверлят брусок сверлом большего диаметра и получают приспособление для наблюдения за углом сверления.
Можно сделать несколько отверстий под разными углами, которые впоследствии послужат эталоном. Около каждого из них делают необходимую пометку, чтобы получился универсальный шаблон.
Очень часто отколы дерева происходят в месте выхода сверла. Чтобы избежать этого, необходимо внимательно наблюдать за выходом жала наружу: как только оно покажется, следует перевернуть деталь и прекратить сверление. В принципе возможно сверление в одном направлении, но тогда под низ обрабатываемого предмета следует подложить небольшой брусок дерева.
Очень часто появляется необходимость расширить уже просверленное отверстие. Для этого в имеющееся отверстие вставляют деревянную пробку, а в ее середину вворачивают сверло. В данной ситуации пробка служит центрирующим звеном и направляет сверло по оси меньшего отверстия. Сверло можно использовать и в качестве вспомогательного инструмента для выдалбливания гнезд. Но для этого потребуется сверло, диаметр которого равен ширине будущего отверстия. Сверлят на нужную глубину ряд гнезд, а затем убирают оставшиеся перемычки стамеской.
Во время хранения, чтобы уберечь головку сверла от повреждений, нужно навернуть на жало деревянную или винную пробку подходящего размера.
Инструменты для распиливания и рубки материалов
ПилыПилы используют для распиливания древесных материалов и металлов. Пила имеет металлическую ленту (диск) с зубьями. Промежуток между вершинами двух соседних зубьев называется шагом, а промежуток между вершиной зуба и основанием – высотой зуба. У зубьев пилы есть 2 боковые и 1 передняя режущие кромки.
У пилы, предназначенной для продольного распиливания пиломатериалов, зубья сделаны в форме треугольника и имеют прямую заточку, благодаря которой пилить можно только в одном направлении. Передняя режущая кромка такой пилы разрезает волокна, две боковые отделяют их друг от друга.
У пилы, предназначенной для поперечного распиливания, зубья в основном выполнены в виде равнобедренного треугольника и имеют двухстороннюю заточку. У этой пилы передняя заточка отделяет волокна, боковые же кромки разрезают их.
Выпускаются электрические, ручные и выкружные пилы. Первые используются как для поперечного, так и для продольного распиливания материалов, например брусков, досок. Кроме этого, ими можно выполнять некоторые виды плотничных работ, например пиление под определенным углом. Эти пилы удобны тем, что работа с ними не отнимает слишком много времени и сил. Широко применяются электропилы ЭП-5КМ, ЭП-К6, К-5М, ИЭ-5107.
Пилы ЭП-5КМ, ЭП-К6, К-5М необходимы при распиливании необтесанных бревен, кряжей, досок, брусьев. Режущей частью пил является пильная цепь, состоящая из зубьев, которые скреплены между собой шарнирами.
При работе с этими электропилами следует соблюдать правила техники безопасности:
– не работать с пилой во влажном помещении при напряжении выше 36 В;
– чтобы перенести пилу, помещать ее в чехол;
– по окончании работ пилу убирать в шкаф или в специально отведенное для нее место.
Пилой ИЭ-5107 благодаря ее частоте вращения (49 с-1) можно распиливать древесные материалы толщиной 65 мм. Ее также можно использовать как стационарный станок, если предварительно установить на верстаке.
Чтобы работу с пилой сделать максимально безопасной, проверяют, правильно ли заточены и разведены ее зубья, как посажен диск на шпиндель, нет ли на диске трещин и других повреждений. Состояние редуктора проверяют проворачиванием диска. Если диск проворачивается с затруднением, разжижают смазку, включая на 60 с холостой ход инструмента.
Затем, когда все неисправности будут устранены, правой рукой захватывают заднюю рукоятку, а левой – переднюю, и устанавливают режущую часть пилы на материале, предварительно закрепленном на верстаке. Пилу направляют строго по намеченной линии, плавно, без резких толчков, так как при резких и быстрых движениях диск инструмента может заклинить, что приведет к поломке электродвигателя.
В том случае, если диск все же заклинило и он остановился, электропилу слегка отводят назад, чтобы диск освободился и набрал необходимую частоту вращения, после чего продолжают распиливание. Если диск не набирает нужную частоту вращения, работу с пилой прекращают.
Закончив распиливание, инструмент отключают, обтирают ветошью, смоченной в керосине, и убирают на хранение.
Ручные пилы бывают ножовочные (ножовки), поперечные и лучковые.
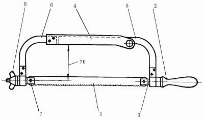
Ножовки предназначены для резки небольших прутков (рис. 1).

Рис. 1. Ножовка ручная: 1 – полотно ножовки; 2 – рукоятка; 3 – стержень; 4 – обойма; 5,6 – правая и левая полурамки; 7 – натяжной винт; 8 – барашек.
Обычная ручная ножовка имеет правую и левую полурамки, которые сращены обоймой. На стороне правой полурамки находится рукоятка. Полотно ножовки помещают в зазор натяжного винта и стержня, а затем фиксируют штифтом. После этого полотно инструмента натягивают барашком.
Полотна ножовки выпускаются длиной 320 и 370 мм. Ширина ножовки составляет 15 мм, а толщина не более 0,75 мм. Высота профиля зуба ножовки может быть 55–60 мм.
Выбор количества зубьев у полотна ножовки зависит от работы с тем или иным металлом. Так, например, полотна, имеющие 16 зубьев, пригодны только для работы с мягкими металлами, полотна с 19 зубьями предназначены для изделий из твердых металлов, а полотна с 22 зубьями используются при работе со сверхтвердыми металлами.
Чтобы разрезать пруток ножовкой, его помещают в тиски и зажимают таким образом, чтобы линия отреза находилась близко к губкам тисков. Если режут деталь большой ширины, ножовку устанавливают в горизонтальном положении, а если режут детали из угловой или полосовой стали, ножовку держат наклонно.
Для получения наилучшего результата за минуту выполняют 40–50 движений ножовкой. При движении инструмента вперед делают нажим, при движении назад нажим не делается.
От того, с каким металлом проводится работа, зависит сила нажима. Так, при резке мягких металлов сила нажима должна быть значительно меньше, чем при резке изделий из твердого металла.
В процессе работы с ручной ножовкой, для того чтобы полотно инструмента не треснуло и не поранило руки, стараются не делать резких движений с большим нажимом.
Кроме ручных ножовок, используют также и электрические. Во время работы с такой ножовкой время от времени полотно инструмента смачивают жидкой эмульсией, чтобы оно не перегревалось.
Поперечные пилы используют для поперечного распиливания, а также для плотничных работ. Зубья пилы имеют вид равнобедренных треугольников и косую заточку. Угол у вершины зуба обычно оставляют 42–45°. Полотна пилы могут быть толщиной 1,1 и 1,4 мм.
Лучковые пилы состоят из лучка, изготовленного из древесины твердых пород деревьев, полотна длиной 785–800 мм, тетивы, сделанной из крученого пенькового или льняного шнура толщиной 3–4 мм. Они могут быть поперечными и продольными. У поперечных лучковых пил полотно имеет ширину 22–25 мм, расстояние между зубьями 4,5–5 мм, а угол заострения 70–79°. У продольных лучковых пил полотно делают шириной 50–55 мм, толщиной от 0,5 до 0,7 мм с расстоянием между зубьями 5 мм, угол заострения 45–50°.
Выкружные пилы применяют для распиливания материала по кривым линиям. Длина полотна этих пил 500 мм, ширина 5–15 мм, расстояние между зубьями 5 мм и угол заострения 55–60°. Зубья пилы имеют прямую заточку.
Чтобы уменьшить силу трения, из-за которой полотно инструмента может застрять в пропиле, зубья разводят. Для этого полотно помещают в тиски и зажимают. Затем берут универсальную разводку и отгибают вершины зубьев от основания не менее чем на 2/3 их высоты. Все четные зубья отклоняют в одну, а нечетные в другую сторону.
Если предстоит работа с древесиной твердых пород деревьев, то зубья разводят на 0,25–0,5 мм. Если же нужно будет распилить материалы из мягких пород деревьев, то зубья пилы разводят на 1 мм. Чтобы проверить, правильно ли выполнен развод, используют шаблон. Для того чтобы тетива долго не растягивалась, после окончания работ с пилой закрутку слегка отпускают.
ТопорТопоры бывают с прямыми и округлыми лезвиями. Топор с прямым лезвием необходим для рубки древесных материалов, топор с округлым лезвием – для отделки.
Такую деталь топора, как топорище, изготавливают из древесины твердых пород, например ясеня, клена, граба, вяза, березы.
Древесину выбирают без трещин, сучков, гнили и плесени. Топорище хорошо отшлифовывают сначала крупнозернистой, а затем мелкозернистой наждачной бумагой и покрывают слоем олифы, смешанной с 11–12 %-ной охрой. После этого, чтобы продлить срок службы топорища, его покрывают бесцветным лаком.
ЗубилаДля вырубания отверстий, перерубания проволоки и отдельных полос металла используют зубила различных видов. Например, слесарным зубилом овального сечения, изготовленным из специальной инструментальной стали, рубят сталь толщиной около 1 мм, зубилом Когана, имеющим достаточно широкую режущую часть, прорубают стальные листы толщиной до 1 мм.
Небольшие детали рубят по намеченным линиям, предварительно зажав в тиски, а детали больших размеров рубят также по намеченным линиям, но только на столе, покрытом листовой сталью толщиной 13–15 мм.
В процессе рубки в тисках обращают внимание на то, чтобы режущий край зубила шел на одном уровне с губками тисков. Деталь для этого зажимают так, чтобы риска совмещалась с краем вкладыша тисков. Детали из стали толщиной до 1,5 мм обрубают в 1 прием, а толщиной в 1,6 мм и более – в 2 приема.
Во время рубки следят за тем, чтобы режущий край инструмента двигался строго по намеченной линии. Инструмент держат левой рукой под небольшим углом к отрубаемой части. По зубилу ударяют молотком. Выполнив прорубы на одной стороне детали, деталь переворачивают на другую сторону и повторяют ту же операцию, а затем разламывают деталь руками.
В процессе рубки деталей следят за тем, чтобы мелкие кусочки, отлетев в сторону, не поранили тех, кто находится поблизости.
Зубила точат точно так же, как и ножницы.
Инструменты для строгания древесины
Древесину строгают после ее распиливания. Для этого используют или обычный нож, или различные виды рубанков, которые состоят из деревянного корпуса и ножа, закрепленного клином, и, кроме того, имеют вклейку из твердых пород дерева, которая защищает подошву рубанка от быстрого износа.
ШерхебельЭтот рубанок предназначен для первичной грубой обработки древесины. Лезвие ножа имеет овальную форму. При необходимости оно может выдвигаться на 1–3 мм.
Рубанок с одинарным ножомИнструмент используют для первоначального строгания древесных материалов, а также для строгания древесины, обработанной шерхебелем.
Нож инструмента прямой и выступает за корпус примерно на 1 мм.
Рубанок с одинарным ножом не имеет приспособления для ломки стружки, поэтому стружка получается целой. В результате этого на обрабатываемой поверхности образуются задиры и неровности.
Рубанок с двойным ножомИнструмент применяют для чистовой обработки древесины. Им обстругивают торцы, убирают задиры и другие неровности. Это возможно благодаря наличию в нем стружколома.
ФуганокФуганок необходим для окончательной чистовой доводки поверхностей.
Он сглаживает неровности и выравнивает поверхности больших размеров. Инструмент в 3 раза длиннее обычного рубанка, поэтому им легко строгать длинные доски. Длина ножа фуганка 180 мм, ширина – 65 мм. Спереди у него имеется устройство для удаления ножа из летка с помощью киянки.
ПолуфуганокИнструмент применяется для обработки небольших поверхностей. Его корпус длиной всего 530 мм, нож длиной 180 мм, шириной 50 мм.
ШлифтикЭто рубанок с укороченным корпусом. Он служит для строгания и зачистки поверхностей, имеющих задиры и сучки. Верхний слой обрабатываемой поверхности, благодаря узкой щели, он снимает в виде тонкой стружки.
Инструменты для профильного строгания
ФальцгебельЭтот инструмент служит как для обработки, так и для зачистки четвертей. Он имеет подошву в виде ступенек.
ЗензубельЕго используют для выборки фальцев, четвертей, а также для их зачистки. В корпусе инструмента имеются ножи в виде лопаток и боковое отверстие для выхода стружки.
ШтапЭтот инструмент используют для сглаживания кромок деталей.
Инструменты для выборки и зачистки различных отверстий
Долото и стамескаДолота бывают столярные и плотничные.
Как и стамеска, долото состоит из ручки, которую делают, как правило, из древесины твердых пород или пластмассы, обладающей высокой прочностью, а также полотна, изготавливаемого из высококачественной стали.
Для ручек берут древесину без следов гнили и плесени, без трещин и червоточины.
Полотно делают с лезвием, имеющим одностороннюю заточку.
Долото предназначено для выдалбливания гнезд. Работают с долотом, соблюдая осторожность и аккуратность.
Его устанавливают у намеченной риски фаской внутрь и ударяют по нему киянкой.
Чтобы провести выборку и зачистку отверстий, пазов, шипов, гнезд, а также снятие фасок, используют плоские стамески.
Для выборки шипов закругленной формы, для работы с неровными поверхностями (выгнутыми или вогнутыми) применяют полукруглые стамески.
Во время работы со стамесками соблюдают следующие правила безопасности:
– при работе со стамеской направлять ее не на себя, а от себя;
– нельзя резать стамеской на весу;
– нельзя резать деталь, положив ее на колени;
– пальцы левой руки следует располагать сзади лезвия инструмента.
Инструменты для отгибки и сборки элементов кровли
КлещиКровельные клещи используют при сборке металлических листов, когда нужно загибать кромки листов. Клещи могут быть прямые, полукруглые и кривые. Первые имеют плоские широкие губки, благодаря которым не повреждается цинковый слой металла. Они нужны при устройстве дымовых труб, вентиляционных и слуховых отверстий.
Полукруглыми клещами выполняют многие операции, например окантовку гребней, отгибы различных видов, отделку фасонных элементов кровли, разборку желобов и покрытий для их ремонта. Кривые клещи необходимы для сборки кровли на труднодоступных участках.
КромкогибщикДля загибания стоячих фальцев применяют кромкогибщик, имеющий в середине продольную прорезь высотой 25–35 мм.
ЗаклепочникЭтим инструментом пользуются для сращивания листовых деталей.
Зажимные приспособления
ТискиК зажимным приспособлениям относятся тиски, которые могут быть параллельными и стуловыми.
И параллельные, и стуловые тиски состоят из подвижной и неподвижной губок и рычага для вращения винта. Тиски закрепляют на верстаке.
Инструменты для опиливания
НапильникиПри опиливании (выборке верхнего слоя с поверхности детали) используют напильники различных видов. Каждый напильник имеет на своей рабочей поверхности насечки, благодаря которым снимается слой металла, и состоит из носа, тела, пятки и хвостовика.
Напильники бывают различного сечения, например квадратного, прямоугольного, полукруглого, круглого, треугольного.
Напильники квадратного сечения нужны для обработки поверхностей прямоугольной формы.
Напильники прямоугольного сечения – универсальные, ими можно доводить практически любую поверхность, включая и фасонную.
Напильники полукруглого сечения предназначены для работы с вогнутыми поверхностями. Напильники с треугольным сечением служат для доводки отверстий с треугольным сечением и углов, с круглым сечением предназначены для круглых отверстий.
Есть еще и специальные напильники, сечение которых может быть ромбовидным, овальным или в форме меча.
Выпускаются напильники с одинарной и двойной насечкой. Напильником с одинарной насечкой выполнять опиливание сложнее, потому что он снимает слой металла в виде стружки, в то время как напильник с двойной насечкой измельчает стружку, превращая ее в опилки. Опиливать металлическую поверхность можно 2 способами: чистовым и черновым.
Чистовое опиливание проводится личным напильником длиной от 125 до 450 мм, черновое – драчевым напильником длиной также 125–450 мм. Затем обрабатываемую поверхность доводят бархатным напильником длиной 125–250.
Напильники предназначены также для отделки пазов, зазоров, канавок, плоскостей. Кроме этого, с их помощью деталям из металла можно придать необходимую форму или размеры, обработать кромку деталей и т. д.
Для того чтобы правильно опилить деталь, опиливание выполняют перекрестным способом, то есть сначала движения напильником делают слева направо, а затем справа налево. Чтобы проверить, ровно ли опилена деталь, прикладывают к поверхности детали линейку или угольник: если между линейкой и плоскостью нет просветов, то все сделано правильно.
Инструменты для выполнения и обработки отверстий
СверлаОтверстия выполняют путем сверления. Для этого используют сверла в виде спиралей, дрели (ручные и электрические), буравчики и т. д.
Сверло имеет рабочую часть, которая делится на режущую и цилиндрическую, хвостовик, который помещается в шпиндель (вращающийся вал с приспособлением для закрепления сверла и т. п.) станка, и лапку.
Чтобы в процессе работы стружки отлетали в сторону, в цилиндрической части сверла делают две винтовые канавки, по краям которых располагаются ленточки. Ленточки нужны для того, чтобы уменьшить трение сверла о кромки отверстия.
Другая, режущая, часть сверла выполнена в виде конуса, на котором располагаются три кромки: две режущих и одна поперечная. В зависимости от того, из какого металла изготовлена деталь, угол заточки сверла делают от 110 до 150°.
Хвостовик сверла может быть цилиндрической и конической формы. Первый закрепляется в шпинделе станка кулачковым патроном, второй держится в шпинделе из-за трения между переходной конусной втулкой и конусом самого хвостовика.
Лапка сверла нужна для упора при извлечении сверла из патрона или гнезда.
В процессе работы сверло, вращаясь, снимает стружку с металлической поверхности и продвигается вдоль оси вращения, постепенно углубляясь внутрь детали.
Если углы режущей кромки сверла быстро становятся тупыми, это говорит о том, что скорость вращения слишком большая и ее следует уменьшить. Сделать это можно только после полной остановки привода.
С электродрелью работают в резиновых перчатках или во время сверления одной ногой стоят на резиновом коврике.
Кроме этого, постоянно обращают внимание на состояние провода электродрели.
После завершения сверлильных работ стружку тщательно собирают веником и выбрасывают.
ЗенковкаТакой инструмент, как зенковка, служит для отделки углублений цилиндрической или конической формы, а также фасок высверленных отверстий под головки винтов, болтов и заклепок.
Зенковка может быть цилиндрической и конической. Первая состоит из хвостовика, рабочей части, у которой может быть от 4 до 8 зубьев, и направляющей цапфы, опускающейся в высверленное отверстие, благодаря чему происходит совмещение оси отверстия и полученного с помощью зенковки углубления.
Вторая также имеет хвостовик и рабочую часть. Чаще всего применяют зенковки с углом конуса 120, 90 и 60°.
ЗенкерЗенкер служит для доводки отверстий, полученных различными способами, например при штамповании, ковке, сверлении или литье.
Зенкер напоминает сверло. Но если сверло имеет 2 режущих кромки, то у зенкера их 3 или 4. Хвостовик зенкера зажимают в патроне.
В том случае, если отверстие будет высверливаться сверлом, а затем доводиться зенкером, диаметр сверла должен быть меньше, чем диаметр готового отверстия.
ПробойникПробойник используют для проделывания отверстий различного диаметра.
Заточка инструментов
Для того чтобы работы были качественными, а на их выполнение не уходило слишком много сил, необходимо следить за состоянием всех инструментов. Прежде всего обращают внимание на то, как они заточены.
Для заточки инструментов используются точило, брусок, оселок и напильник.
ТочилоЭтим инструментом точат лезвия режущих инструментов. Точила выпускаются различной формы и зернистости. От крупнозернистых точил на затачиваемых инструментах остаются зазубрины и царапины. Мелкозернистые точила удаляют их, делая лезвие острым и гладким.
При заточке зубила, стамески, рубанка круглым точильным камнем его направляют навстречу лезвию (рис. 2).

Рис. 2. Точило.
В процессе работы следят за положением острия, которое должно полностью лежать на точильном камне. Во время затачивания камень регулярно смачивают водой, чтобы избежать отжига стали инструмента.
После того как острие заточили, его немного закругляют. Это делают для того, чтобы во время работы с инструментом на обрабатываемых поверхностях не появлялись зазубрины.
Топоры точат на круглом точиле. Для этого фаску инструмента прижимают к точилу и в процессе затачивания следят за тем, чтобы угол заострения не менялся. При этом одной рукой придерживают середину топорища, а другой обух инструмента. Точило направляют навстречу топору.
Топор и точило время от времени охлаждают водой. Топор затачивают с обеих сторон. Лезвие доводят на мелкозернистом бруске или оселке, выполняя при этом круговые движения.
БрусокБрусок, изготовленный из камня-песчаника, используют для грубого затачивания лезвий инструментов. Из-за крупных зерен он достаточно быстро снимает металл. Как и точило, брусок перед заточкой смачивают, а затем закрепляют. После этого фаску инструмента прижимают к бруску и с нажимом водят по нему вперед и назад. Лезвие после заточки бруском доводят на оселке.
ОселокОселок применяют для шлифовки лезвия после заточки. Кроме этого, его используют для удаления заусенцев с лезвий инструментов. Лезвие водят по намоченному водой или смазанному машинным маслом оселку, выполняя круговые движения и переворачивая лезвие то одной, то другой стороной до тех пор, пока оно не станет гладким и не приобретет зеркальную, блестящую поверхность.
НапильникСуществует несколько видов напильников, которые используют для заточки различных инструментов. Трехгранный напильник применяют для заточки пилы. Размер напильника выбирают в зависимости от размеров зубьев пилы.
Перед затачиванием зубцы пилы разводят, чтобы они были одинаковой высоты и имели одинаковую ширину развода. Делают это или специальным инструментом (разводкой), или разводными клещами.
Пилу перед затачиванием зажимают в тисках таким образом, чтобы зубья выступали над губками тисков примерно на 20 мм. Пилу точат с правой стороны полотна в направлении к левой. При этом на ее зубьях появляются заусенцы, увеличивающие режущую способность инструмента. В процессе затачивания следят за тем, чтобы на все зубья приходилось равное количество движений напильника. Зубья пилы перед распиливанием сырой древесины точат и с правой, и с левой стороны. Хорошо и правильно заточенные сверла позволяют получать качественные и аккуратные отверстия. Сверло, как правило, затачивает специалист, имеющий необходимые опыт и знания. Для этого он использует надфили или напильники, а окончательную доводку проводит на оселке.

