
Здоровье пчелиного укуса

Галина Анатольевна Гальперина
Здоровье пчелиного укуса
Введение
Пчелы появились на Земле около 60—80 млн лет назад. Это было установлено благодаря находкам, обнаруженным в ходе палеонтологических раскопок в различных уголках земного шара. А памятники древней культуры свидетельствуют, что первобытные люди не только употребляли мед и другие продукты пчеловодства в пищу, но и использовали их в лечебных целях.
Упоминания об использовании продуктов пчеловодства содержатся и в письменных источниках Древнего Египта, Древней Греции, Древнего Рима и ряда других стран. Сохранилось более 500 старинных рецептов лечебных снадобий, в состав которых входили воск и мед.
Согласно письменным свидетельствам, в Египте эпохи фараонов с помощью меда лечили гнойные раны и язвы. Считалось также, что мед повышает интеллектуальные способности и способствует лучшему физическому развитию, поэтому его рекомендовали давать детям в возрасте 5-8 лет и 12-14-летним подросткам.
Благотворное влияние продуктов пчеловодства и пчелиного яда на человеческий организм отмечал и знаменитый древнегреческий врач, реформатор античной медицины Гиппократ, живший в V—IV вв. до н. э. Он советовал есть мед при заболеваниях желудочно-кишечного тракта, печени, нервных расстройствах (в этом случае мед необходимо разбавлять водой), а также использовать его в качестве отхаркивающего и бактерицидного средства.
Гиппократ считал, что мед и пчелиный яд являются главными целительными средствами от всех недугов и способны продлить жизнь человека. Как и древнеегипетские целители, знаменитый грек рекомендовал лечить раны препаратами, приготовленными на основе пчелиного меда.
В Древнем Риме мед давали новорожденным. Считалось, что данный продукт пчеловодства повышает аппетит и оказывает благотворное воздействие на желудок и кишечник, а яд, выделяемый пчелами при укусах, является лучшим средством от радикулита.
Большим знатоком и ценителем продуктов пчеловодства был живший в X—XI вв. прославленный врач, ученый и мыслитель Востока, автор фундаментального труда «Канон врачебной науки», обобщающего опыт врачей древности и Средневековья, Абу Али ибн Сина, известный больше под именем Авиценна.
Он считал, что лекарственные препараты «…истощают естество человека…». Наиболее эффективными лечебными и профилактическими средствами, не приносящими вреда человеческому организму, по мнению Авиценны, являются физические упражнения, массаж, правильный режим питания и сна. Важной составляющей правильного питания прославленный врач называл мед, помогающий при многих заболеваниях и повышающий жизнестойкость человеческого организма. Данный продукт Авиценна советовал употреблять в пищу практически всем людям в любом возрасте.
На Руси о целебных свойствах продуктов пчеловодства, а также о благоприятном воздействии на человеческий организм пчелиных укусов было известно еще в древности.
В Киевской Руси и удельных княжествах Московского государства мед являлся излюбленным лакомством и использовался для приготовления различных напитков (медовухи, кваса, травяных чаев с медом), сластей с семенами, его также добавляли в выпечку (пряники медовые и печатные). Мед находил широкое применение в народной медицине при лечении ряда заболеваний и гнойных ран.
Пчелиный воск использовали при изготовлении красок и лаков, им обрабатывали специальные дощечки для письма, изготавливали восковые печати, свечи и благовония, а также некоторые лекарственные препараты.
Прополис считался хорошим противовоспалительным средством и эффективным биостимулятором, повышающим защитные силы человеческого организма. Его использовали при лечении кожных заболеваний, заболеваний полости рта и горла, при зубных болях и в ряде других случаев.
Особым почетом на Руси пользовалось лечение методом пчелоужаливания. Пчелиный яд по сей день считается эффективным средством при лечении ряда заболеваний – радикулита, подагры, сердечно-сосудистых заболеваний, заболеваний центральной нервной системы, плешивости, воспалительных процессов и др.
Однако прежде чем начать лечение любыми продуктами пчеловодства (в том числе ядом и медом), необходимо проконсультироваться со специалистом и выяснить, нет ли аллергии на тот или иной препарат.
Часть I
Пчела – чудо природы
Пчелы – удивительные создания живой природы. Уже при первом знакомстве с ними человека поражает слаженность и организованность гармоничного, совершенного мира пчелиной семьи. Имея небольшие размеры, эти насекомые тем не менее отличаются достаточно сложной внутренней организацией и имеют ряд особенностей строения.
Медоносные пчелы – замечательные природные фармацевты. Они вырабатывают целый ряд разнообразных по своей биологической активности продуктов – мед, прополис, воск, маточное молочко, пыльцу, пергу, а также яд, являющийся эффективным средством при лечении радикулита и ревматизма.
Однако следует помнить, что все продукты пчеловодства, особенно пчелиный яд и маточное молочко, активно воздействуют на человеческий организм и при неправильной дозировке или при повышенной чувствительности к ним могут оказаться весьма токсичными для больного. Даже мед при некоторых заболеваниях может создать угрозу для жизни человека.
Назначать препараты, содержащие продукты пчеловодства, должен лечащий врач только после тщательного обследования пациента. При этом специалист должен вести наблюдение за больным в течение всего курса лечения.
Медоносные пчелы являются незаменимыми помощниками агрономов: перелетая с одного растения на другое и собирая пыльцу, которая является для них излюбленным лакомством, эти насекомые производят перекрестное опыление, без которого было бы невозможным размножение растений. Земледельцы издавна используют пчелоопыление для повышения урожайности сельскохозяйственных культур – таких, как гречиха, клевер, плодовые и овощные культуры и др.
Пчелы обеспечивают жизнеспособность растений. Невозможно переоценить их роль в сохранении и развитии растительного мира на Земле. Считается, что ценность опылительной работы этих насекомых в 15—20 раз больше, чем стоимость продуктов, получаемых от них. Но эта цифра не учитывает опыление дикорастущих кормовых и лекарственных растений.
Общие сведения о пчелах
Пчелы – надсемейство насекомых подотряда жалящих перепончатокрылых. Насчитывается около 30 тыс. видов пчел, на территории Российской Федерации известно около 3,5 тыс. видов.
Широко распространенным видом является пчела медоносная – насекомое длиной 1-1,5 см, разводимое в домашних хозяйствах с целью получения меда, воска и ряда других ценных продуктов, а также для опыления растений.
Строение тела пчелы
Тело пчелы делится на 3 подвижно соединенные между собой части – голову, грудь и брюшко – и покрыто твердым, прочным, но достаточно гибким хитиновым покровом – кутикулой, служащей опорой для ножек и крыльев. Хитиновый покров имеет на поверхности волоски различной формы.
Голова пчелы представляет собой коробку, в средней части которой находится треугольная площадка (лоб). От ее основания отходят усики, являющиеся органами осязания и обоняния. Каждый усик состоит из длинного основного членика и жгутика, приводящего усик в движение.
Верхние челюсти, расположенные книзу от усиков, позволяют насекомому грызть или хватать что-либо. За челюстями находится сложно устроенный хоботок, которым пчела всасывает мельчайшие капельки цветочного нектара и воду. В нерабочем состоянии хоботок сворачивается в спираль и помещается в специальной выемке в нижней части головы.
По обе стороны головы располагаются 2 больших сложных (фасеточных) глаза, каждый из которых состоит из нескольких тысяч отдельных маленьких глазков и имеет выпуклую форму, обеспечивающую лучший обзор. На теменной части головы между сложными глазами помещаются 3 простых глаза.
Необходимо отметить, что пчела имеет головной мозг (так называемый надглоточный ганглий) и подглоточный нервный узел, которые находятся в головной части тела.
Через затылочное отверстие голова соединяется с грудью, состоящей из 4 сросшихся между собой сегментов (колец). К этой части тела крепятся передняя и задняя пары перепончатых крыльев и 3 пары членистых ножек. Крылья и ножки приводятся в движение благодаря работе мышц, расположенных внутри грудного отдела тела.
Передние и задние крылья (необходимо отметить, что первые немного больше, чем вторые) состоят из прочных продольных и поперечных жилок, между которыми натянута прозрачная перепонка. В жилках крыла проходят трахеи и нервы, омывающиеся гомолимфой.
В спокойном состоянии крылья сложены вдоль спинки (задние располагаются под передними). При взлете передние и задние крылья образуют как бы одно целое крыло с каждой стороны тела. Сцепление крыльев происходит с помощью крючочков, расположенных на передней стороне заднего крыла, и складки на заднем краю переднего крыла, за которую крючки цепляются.
Во время полета происходят быстрые мускульные сокращения, обеспечивающие около 200—250 взмахов крыльев за 1 с, при этом пчела может развивать скорость 60 км/ч и более.
Ножки позволяют насекомому передвигаться по поверхности и выполнять ряд других действий – сбор и перенос цветочной пыльцы, передачу восковых пластинок с восковых зеркалец к ротовым частям во время постройки сотов и др.
Ножки пчелы состоят из нескольких сочлененных частей и заканчиваются лапкой с 2 коготками, разделенными подушечкой. Коготки необходимы для хождения по шероховатой поверхности, а подушечки – по гладкой, скользкой (ими пчела как бы присасывается к поверхности).
На задних ножках рабочей пчелы имеются корзиночки из волосков для сбора цветочной пыльцы. Комочки пыльцы в таких корзиночках называются обножкой. У маток и трутней подобные корзиночки отсутствуют.
Грудь соединяется с брюшком коротким стебельчатым члеником, позволяющим пчеле двигать брюшком вниз и в стороны. Брюшко состоит из 6 подвижных члеников-сегментов, каждый из которых образуется 2 полукольцами – спинным и брюшным, подвижно соединенными между собой. Благодаря такому строению пчела может изменять объем брюшка, что очень важно при дыхании и сборе нектара.
На брюшке имеется несколько хитиновых участков, лишенных волосков, – так называемых восковых зеркалец, под которыми расположены восковыделительные железы. Воск накапливается на поверхности восковых зеркалец в виде тонких пластинок, но только у молодых пчел.
На конечной части брюшка располагается жалоносный аппарат. Следует отметить, что жало пчелы устроено достаточно сложно: оно состоит из 2 острых хитиновых иголочек, на концах которых имеется 8-10 зазубринок, обращенных заостренными концами назад. Внутри иголочек имеется полость, по которой яд из большой и малой ядовитых желез проникает при ужалении в ранку. В спокойном состоянии жало втянуто в тело пчелы. При ужалении зазубринки на жале не дают пчеле извлечь его обратно, и при попытке взлететь жалоносный аппарат отрывается от тела вместе с частью внутренних органов, что приводит к гибели пчелы.
К внутренним органам пчелы относятся: органы пищеварения, дыхания, выделения, лимфосистема, нервная система, половые органы, жировое тело, жалоносный аппарат.

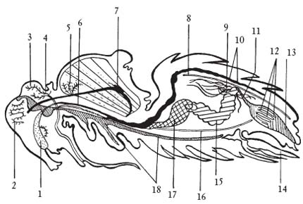
Внутренние органы пчелы: 1 – верхнечелюстная железа; 2 – глоточная железа; 3 – надглоточный узел (мозг); 4 – задняя ветвь глоточной железы; 5 – грудная железа; 6 – яйцевод; 7 – аорта; 8 – спинная диафрагма; 9 – мальпигиевы сосуды; 10 – камеры сердца; 11 – толстая кишка; 12 – ректальные железы; 13 – прямая кишка; 14 – жало; 15 – средняя кишка; 16 – брюшная диафрагма; 17 – медовый зобик; 18 – нервная цепочка.
Нектар, всасываемый с помощью хоботка, изо рта поступает в глотку, где смешивается со слюной, ферменты которой расщепляют сложные сахара на простые. Затем пища поступает в медовый зобик, служащий для переноски нектара, а в период роения – меда в улей. Содержимое медового зобика (он вмещает около 30—40 мг нектара) в улье отсасывается через хоботок и передается пчелам-приемщицам. При длительных перелетах часть нектара используется для собственного питания. Для этого в медовом зобике открывается клапан, и порция нектара поступает в среднюю кишку, которая выполняет роль желудка. Пища под действием ферментов желудочного сока расщепляется на простые вещества, которые через стенки средней кишки поступают в кровь.
Непереваренные остатки пищи через тонкую кишку заднего отдела кишечника попадают в прямую (толстую) кишку. В ней происходит скопление экскрементов. Необходимо отметить, что толстая кишка обладает способностью значительно растягиваться, что очень важно для насекомых во время длительной зимовки. В кишечнике пчелы имеется несколько ректальных желез, сжиживающих содержание прямой кишки. Они также выделяют каталазу, нейтрализующую токсичное действие на организм пчелы накапливающихся экскрементов. От количества выделяемой каталазы зависит окончание зимовки.
В голове и частично в груди пчелы имеются 4 парные железы: верхнечелюстная, глоточная, заднеголовая и грудная. Они вырабатывают биологически активные вещества, входящие в состав маточного вещества, и ферменты, необходимые для превращения нектара в мед.
У матки и молодых пчел сильно развиты верхнечелюстные железы, которые у рабочих пчел вырабатывают молочко, а у бесплодной матки – ароматическое вещество, которое привлекает трутней. Как только происходит осеменение, в железах матки начинает вырабатываться секрет маточного вещества, тормозящий развитие яйцевых трубочек. Этот секрет привлекает рабочих пчел и повышает их рабочий энтузиазм: они начинают строить больше трутневых сотов и готовиться к роению. Если матка старая, то секрета маточного вещества выделяется недостаточно, что тормозит рост пчелиной семьи.
Половая система маточной пчелы представлена расположенными в брюшке половыми органами, состоящими из 2 яичников. Каждый из них образуется сотней яйцевых трубочек, в которых происходит развитие и созревание яиц. В верхней части трубочки находятся зачатки яиц, по мере развития они поступают вниз, а созревшее яйцо опускается в один из парных яйцеводов, которые затем соединяются в непарный. В конце брюшка находится влагалище, обе стороны которого имеют выпуклости, в которые входят рожки полового органа при спаривании.
Немного ниже места соединения парных яйцеводов находится канал семяприемника, в котором сохраняются сперматозоиды, введенные трутнем при спаривании. Процесс спаривания происходит в воздухе. После спаривания до откладывания яиц обычно проходит несколько дней.
При откладывании яиц в пчелиную ячейку, или маточную мисочку, отверстия которой у пчелы на тот момент сужаются до размеров пчелиной ячейки, чувствительные волоски брюшка передают импульс нервам семяприемника. Из него поступают сперматозоиды и оплодотворяют яйцо.
Особого разговора заслуживает кровеносная система пчелы. У нее нет замкнутой системы сосудов. Кровь пчелы (гемолимфа), не содержащая красных кровяных телец и имеющая светлую окраску, разносит по клеткам организма питательные вещества и удаляет продукты распада углеводов и жиров.
Гемолимфа приводится в движение сердцем, расположенным в спинной части брюшка. Сердце, имеющее вид трубочки, разделенной на 5 камер, снабженных клапанами, подает гемолимфу в аорту, по которой она поступает в голову. Подсердечные диафрагмы из головы возвращают гемолимфу обратно в брюшко, а через специальные отверстия она вновь поступает в сердце. Снабжение кровью конечностей осуществляется с помощью пульсирующих органов, расположенных в груди у основания ножек и усиков.
В спокойном состоянии сердце пчелы производит около 60—70 сокращений в минуту, во время полета их число увеличивается примерно в 2 раза.
Газообмен у пчел происходит через трахеи – густую сеть трубочек, заполненных газом. Кислород из внешней среды поступает в организм насекомого через 10 пар боковых отверстий (дыхальцев), из которых 7 расположены на брюшке, а 3 – на груди. При расширении брюшка кислород проходит через своеобразный фильтр в дыхальца, а затем через множество тонких трахей доставляется ко всем клеткам. При уменьшении объема брюшка из организма удаляются газы. Трахеи местами имеют значительные расширения – воздушные мешки, служащие для облегчения полета. В спокойном состоянии пчела делает около 40 вдохов и выдохов в минуту, при движении темп дыхания возрастает в 3-4 раза.
Нервная система пчелы, отвечающая за согласованность действий органов чувств, представлена высокоразвитым головным мозгом и цепочкой нервных окончаний, тянущейся от головы через нижнюю часть груди к брюшку. Скопления нервных клеток образуют нервные узлы, связанные между собой 2 продольными нервными нитями.
Головной мозг, представленный надглоточным узлом, имеет достаточно сложное строение. От него ко всем частям тела отходит множество тонких нитевидных нервов, по которым в мозг поступает информация от органов чувств, а в обратном направлении идут сигналы, побуждающие к действию. Таким образом, мозг и нервная система управляют всей жизнедеятельностью особи.
Пчелиная семья
Медоносные пчелы – насекомые общественные. Они живут большими семьями, количество особей в которых варьируется в зависимости от времени года: весной – 10—30 тыс., в середине лета перед главным взятком – 70—80 тыс., осенью – 20—25 тыс.
Пчелиная семья состоит из одной матки, нескольких сотен самцов (трутней) и нескольких десятков тысяч рабочих пчел. Каждая семья имеет свой уклад жизни и проявляет нетерпимость по отношению к представителям других семей.
Матка – главная женская особь пчелиной семьи. По внешнему виду ее легко отличить от рабочих пчел – она в 1,5-2 раза крупнее их. Пчелы сами выращивают «королеву» в ячейках-маточниках. Матка вырастает из обычной личинки благодаря усиленному кормлению и выполняет только одну функцию – откладывает яйца. При благоприятных условиях за весенне-летний период она может отложить около 150—200 тыс. яиц.
Матка вылетает из улья только при роении. Корм ей приносят рабочие пчелы. Пчелы отличают свою «королеву» от чужой по запаху, всякую другую, залетевшую в их улей, они безжалостно убивают. Свита активно ухаживает за маткой: кормит ее молочком и убирает секрет маточного вещества. Матка живет в среднем 5-7 лет, однако уже на 2-3-й год жизни ее плодовитость значительно снижается.
Трутни – это мужская часть пчелиной семьи. Их легко отличить от рабочих особей по ряду признаков: масса тела трутня почти в 2 раза больше массы тела рабочей пчелы, летают трутни с большей скоростью, быстро ориентируются в пространстве. Это неуклюжие, толстые, круглоголовые существа, крылья которых во время полета производят густой, басовитый звук. Этот звук может показаться грозным, но трутень вполне безобиден, поскольку у него нет жала.
В пчелиной семье за весенне-летний период выводится несколько тысяч трутней, что обеспечивает быструю встречу наиболее развитых и сильных мужских особей с маткой. Единственное назначение трутней – осеменение матки.
Оплодотворение ее происходит в полете, в процессе участвуют 6-8 трутней, которые после этого сразу погибают. Остальных трутней после завершения периода размножения рабочие пчелы выгоняют из улья, а весной выводят снова.
Рабочие пчелы – это женские особи, имеющие недоразвитые половые органы и неспособные к спариванию с трутнями. Рабочие пчелы – «специалисты широкого профиля», от них зависит состояние и продуктивность семьи.
Поиск и сбор корма, выкармливание личинок, доставка воды в улей и выпаривание влаги из нектара, строительство сотов, уборка улья и его обогрев – в пчелиной семье всегда много работы. Пчелы трудятся круглосуточно, причем одни работы ведутся только днем, другие – ночью, третьи – в течение суток. Помимо меда рабочие пчелы вырабатывают целый ряд продуктов, отличающихся высокой биологической активностью, – это прополис, маточное молочко, пчелиный яд, воск, пыльца, перга. Кроме того, рабочие пчелы опыляют сельскохозяйственные растения.
Всех рабочих пчел в семье можно разделить на 2 группы. Самые молодые входят в группу пчел, выполняющих работу внутри улья, – это уборщицы, чистильщицы, приемщицы. Вторую группу составляют полевые пчелы – разведчицы, сборщицы, сторожа.
Пчела-разведчица ищет источник меда на значительных расстояниях от дома – в радиусе 2-3 км. Возвращаясь в улей, она передает сведения об обнаруженном участке с медоносами с помощью знаковой системы танца. В движениях танцующей пчелы кодируется информация о направлении полета, ориентированном относительно Солнца. Пчела верно угадывает положение небесного светила и тогда, когда оно скрывается за пеленой туч или уходит за гору.
Пчела-сборщица за день может совершить до 26 вылетов за нектаром, при этом каждый полет может длиться до 2 ч. Чтобы собрать 1 кг меда, пчела должна взять нектар из 10 млн цветков и налетать около 300 000 км. При интенсивной работе пчелиная семья может собрать за день до 10—12 кг нектара, из которого получается 3-4 кг меда. У пчел хорошее обоняние, они различают запахи в 1000 раз лучше человека и способны на расстоянии 1 км определить по аромату цветов лучшие по содержанию нектары.
Продолжительность жизни рабочей пчелы зависит от времени года, в который она появилась на свет: летние пчелы живут всего 5-6 недель, родившиеся осенью – около 7-8 месяцев.
Каждая рабочая пчела проходит в своем развитии различные фазы. Молодые особи, только что появившиеся на свет, особенно чувствительны ко всякому непорядку в улье, поэтому уже на 2-3-й день после рождения они принимаются чистить и лакировать ячейки, выносить мусор. В первые дни своей жизни пчела усиленно потребляет пыльцу и быстро меняется физиологически: у нее развиваются глоточные железы, способные выделять молочко для кормления личинок. В это время пчела энергично занимается выкармливанием личинок.
Затем насекомое начинает выделять ферменты, необходимые для переработки нектара в мед, у нее набухают восковые железы. С появлением на брюшке белоснежных пластинок воска пчела принимается за строительство сотов.
Через некоторое время у нее пробуждается инстинкт сторожа, и она начинает охранять родной улей от непрошеных гостей. Примерно через 2-3 недели после рождения насекомое становится летным и превращается в пчелу-разведчицу или пчелу-сборщицу.
Породы пчел
В настоящее время во всем мире существует несколько десятков пород медоносных пчел, формирование которых происходило под влиянием естественных природных факторов (местных природных условий, наличия кормовой базы и др.). Представители той или иной породы отличаются не только продуктивностью, но и имеют ряд внешних особенностей.
Все пчелы подразделяют на 2 типа: черные (или коричневые) и желтые.
Черные (или коричневые) делятся в свою очередь на голландских (или вересковых) и собственно черных (коричневых). Черные пчелы распространены в Центральной Европе и Великобритании, Северной Африке, Америке и на Мадагаскаре.
Конец ознакомительного фрагмента.
Текст предоставлен ООО «ЛитРес».
Прочитайте эту книгу целиком, купив полную легальную версию на ЛитРес.
Безопасно оплатить книгу можно банковской картой Visa, MasterCard, Maestro, со счета мобильного телефона, с платежного терминала, в салоне МТС или Связной, через PayPal, WebMoney, Яндекс.Деньги, QIWI Кошелек, бонусными картами или другим удобным Вам способом.
Приобретайте полный текст книги у нашего партнера:

