
Вода в доме и на участке
Приступая к работе, необходимо определить, из какой стали выполнена труба. Это поможет правильно подобрать плашку при нарезании резьбы. В противном случае можно испортить инструмент и трубу.
Плоскогубцы
Это наиболее простой и распространенный зажимной инструмент, состоящий из 2 рукояток и двух прижимных губок. С помощью плоскогубцев можно прижать деталь, согнуть гвоздь или перекусить проволоку.
Разметочная плита
Данное приспособление применяют при выполнении слесарных работ. Разметочную плиту выполняют из серого чугуна. Плита должна быть ровной, гладкой. Обязательное условие при ее установке – хорошо освещенное место. Следует учитывать, что свет должен падать вертикально.
Для того чтобы установить плиту строго горизонтально, рекомендуется использовать домкрат. При работе нужно следить за тем, чтобы на плите не было крошек, стружек. Она должна быть сухой и чистой.
По окончании работы плиту протирают маслом, чтобы предотвратить появление ржавчины, и накрывают деревянным или железным щитом для защиты поверхности.
Следует учитывать, что, помимо разметочных, никакие другие виды работ на плите выполнять не рекомендуется.
Тиски параллельные
Это зажимное приспособление, которое отливается из серого чугуна и состоит из корпуса и губок (рис. 8). Одна из губок подвижная, что позволяет зажимать детали разных размеров.

Рис. 8. Тиски
На обеих губках имеются поперечные насечки, помогающие прочно удерживать в них детали. Подвижную губку приводят в движение с помощью рукоятки винта.
Помимо этого, нередко встречаются тиски со стопорной пружиной и педалью. Такие приспособления позволяют при зажиме детали прилагать минимум усилий.
При работе с тисками следует проявлять аккуратность, так как, несмотря на кажущуюся монументальность, инструмент довольно часто ломается (срывается резьба гайки винта).
Рекомендуется периодически прочищать винт и гайку, смазывая их солидолом или машинным маслом. Кроме того, в процессе работы нельзя ударять по тискам молотком, не следует зажимать деталь слишком сильно и применять дополнительно рычаги для затягивания тисков.
Тисочки-струбцины
Это зажимное приспособление (рис. 9), в отличие от тисков, применяют для зажима плоских деталей.
Большую помощь тисочки-струбцины оказывают при сборке сложных механизмов.

Рис. 9. Тисочки-струбцины: 1 – губки; 2 – винт с рукояткой; 3 – ручка
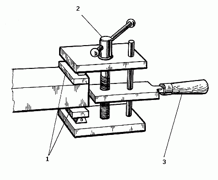
Трубный прижим
Это приспособление (рис. 10) помогает надежно фиксировать трубы во время нарезания резьбы.

Рис. 10. Трубный прижим
Устанавливать трубный прижим следует на прочном массивном основании, привернув его болтами. Это обеспечивает неподвижность инструмента. Принцип работы инструмента довольно прост: в отверстие вставляют трубу и прижимают ее с помощью пресса. Существуют более сложные по конструкции прижимы, например с откидной верхней частью. Такое приспособление позволяет прижать трубу сбоку.
Однако практического значения такие прижимы не имеют, так как в большинстве случаев обрабатываемый конец трубы в любом случае должен выступать из прижима на минимальную длину.
Трубогиб
Этот инструмент необходим для механизации более точного изгибания труб. Трубогибы бывают ручными и стационарными. Все они снабжены набором роликов-шаблонов с соответствующими им опорными роликами, подходящими для труб разных диаметров. Ролики помогают соблюдать правильный радиус изгиба в зависимо-сти от диаметра трубы. В противном случае при прокладывании водопровода неизбежным было бы нарушение просвета, деформация стенок или разрыв трубы.
На трубогибе закреплена специальная скоба, которая прочно фиксирует трубу.
С помощью трубогиба сгибают даже толстостенную трубу: длинная рукоятка-рычаг позволяет провести это без особых усилий. При этом длина трубы не имеет значения, так как угол, на который можно согнуть трубу, может быть любым.
Один из видов трубогибов – станок Вольнова (рис. 11).

Рис. 11. Трубогиб
Он позволяет производить практически все типы изгибов на трубах разного диаметра. Ролики станка Вольнова мягко гнут трубу, не позволяя ей деформироваться.
Фиксирующая скоба надежно обеспечивает непо-движность изгибаемой трубы, длинная рукоятка служит рычагом и помогает согнуть на требуемый угол практически любую трубу, даже самую толстостенную.
Опорный ролик и ролик-шаблон собраны в едином блоке, что облегчает настройку приспособления и ускоряет процесс выполнения работы.
Другое немаловажное преимущество трубогиба за-ключается в том, что он одинаково успешно гнет длинную трубу и самые короткие ее отрезки.
Труборез
Этот инструмент (рис. 12) используют при резке трубы. Труборез позволяет получить наиболее чистую линию разреза, строго перпендикулярную к ее стенкам.

Рис. 12. Труборез
Резать можно трубы диаметром до 100 мм, так как из 3 дисковых резцов, имеющихся в инструменте наряду со стальной скобой и винтовым зажимом, 1 является подвижным.
Конструктивно труборез представляет собой прочную стальную обойму, рассчитанную на охват труб большого сечения. В обойме закреплены дисковые резцы, изготовленные из прочной высокоуглеродистой стали.
Положение резцов относительно друг друга можно регулировать. Обычно 1 или 2 резца устанавливают на по-движной части обоймы, которая посредством резьбового штока перемещается в плоскости разреза.
В самых простых, но не менее эффективных моделях труборезов подающий шток служит одновременно рукояткой. Преимущество трубореза перед ножовкой заключается в качестве сделанного разреза и в экономии сил и времени, затраченных на выполнение данного вида работы. Никакая, даже самая совершенная, ножовка по металлу не позволит сделать такого чистого и ровного разреза, как труборез. Кроме высокого качества результата, он заметно сокращает время, необходимое, чтобы разрезать трубу большого диаметра.
Кроме того, затрата сил при использовании трубореза значительно ниже, чем потребовала бы работа обычной ножовкой.
Место, на котором будет сделан разрез, предварительно поливают маслом или водой. Затем трубу вставляют в корпус трубореза, начинают вращать рукоятку до тех пор, пока ролик-резак не соприкоснется с трубой, и за-кручивают еще немного, чтобы ролик врезался в трубу.
Труборез двигают поступательным движением назад-вперед, повторяя процедуру, пока труба не будет полностью разрезана.
Однако наиболее пригодным инструментом для резки труб является дисковая электропила.
Угломер
Этот инструмент предназначен для измерения угла детали и представляет собой полудиск со шкалой. К угломеру с помощью стопорного винта прикреплен передвижной сектор, на который нанесен нониус, и линейка. Еще одна съемная линейка и угольник крепятся к по-движному сектору.
Измерение проводят следующим образом: деталь прикладывают одной стороной к съемной линейке угломера, передвижную линейку сдвигают таким образом, чтобы между сторонами линеек и деталью была небольшая щель. Затем передвижной сектор закрепляют стопорным винтом и определяют размер сначала по измерительной шкале, а после этого – по нониусу.
Уровень
Все трубопроводы прокладывают с определенным уклоном, проконтролировать правильность которого можно с помощью уровня.
Этот инструмент представляет собой металличе-ский или деревянный брусок, в середине которого установлена стеклянная трубка, заполненная водой и герметично закрытая.
В воде имеется пузырек, находящийся в центре. Если уровень уложить на трубу, пузырек воздуха в трубке смещается. Это показывает, в какую сторону направлен угол наклона. Линейка помогает определить уклон.
С помощью уровня можно проложить водопровод не только в доме, но и на приусадебном участке.
Фитинги
Это специальная соединительная арматура, необходимая при прокладывании водопровода. Фитинги необходимы при сборке отдельных участков трубопровода, для временной заглушки концов, соединения труб разного диаметра и устройства ответвлений.
Таким образом, соединительные фасонные части (фитинги) являются наиболее важными элементами трубопровода. Они могут быть изготовлены из стали или ковкого чугуна.
Фитинги, выполненные из ковкого чугуна, имеют утолщения-буртики по краям. Муфты, изготовленные из чугуна, снабжены продольными ребрами.
Разница в материале принципиального значения не имеет, однако, покупая набор тройников, муфт и прочих фасонных частей, следует учитывать, что стальные фитинги могут быть изготовлены в любой полукустарной мастерской.
При покупке фитингов следует учитывать, что их торцы должны быть ровными и строго перпендикулярными к оси изделия, а резьба – чистой, без рванин и заусенцев.
Циркуль
Это разметочный инструмент, который применяют для измерения длины на чертежах, деления углов, прямых линий для вычерчивания окружностей, построения перпендикуляров. Циркули бывают разных размеров.
Чертилка
Это самый распространенный из инструментов, предназначенных для разметки. Чертилка представляет собой круглый стержень, изготовленный из металла повышенной прочности.
Диаметр инструмента не превышает 5–6 мм, длина обычно составляет 20 см. Один конец чертилки остро заточен. В последнее время часто встречаются чертилки со вставной иглой, которую можно сделать в домашних условиях. Для этого за основу берут отвертку со сменными насадками. Вместо насадки вставляют заточенный стальной стержень.
Нередко можно встретить чертилки, у которых с двух концов вставлены стальные стержни, заточенные под разными углами. Обычно у таких инструментов один стержень согнут под углом 90°.
Если возникает необходимость в инструменте, который оставляет при разметке следы, но не делает рисок, применяют латунную чертилку. Для удобства при работе среднюю часть инструмента делают утолщенной, покрывая накаткой.
Шабер
Этот инструмент используют для подгонки и обеспечения более плотного прилегания деталей при сборке. Выполнение работы с помощью шабера называется шабрением.
Шаберы представляют собой толстый стержень с разной рабочей поверхностью: плоской – для предварительного шабрения, двугранной, трехгранной и фасонной – для работы в труднодоступных местах.
Изготавливают шаберы из твердых сплавов, однако встречаются шаберы и со вставной пластинкой из твердого сплава. Как и все рубяще-режущие инструменты, шаберы по мере необходимости следует затачивать. Для этого используют точильные станки, предварительно смазанные пастой из наждачного порошка.
Штангенциркуль
Это наиболее часто используемый измерительный инструмент, представляющий собой негнущуюся металлическую линейку (штангу) с ценой деления 0,5 мм (рис. 13).

Рис. 13. Штангенциркуль: 1 – измерительные губки; 2 – рамка; 3 – штанга; 4 – нониус; 5 – стопорный винт
На верхней части линейки имеются 2 измерительные губки, на передней прикреплена металлическая рамка, которая перемещается вдоль штанги. На линейку также нанесена измерительная шкала с ценой деления 0,02 мм.
Кроме того, на рамке расположены 2 губки. Перемещение рамки по линейке во время измерения можно остановить с помощью винтика. Таким способом фиксируют полученный размер.
Щетки
Щетки изготавливают из различной проволоки и применяют для очистки деталей от окалины, краски, шпатлевки. Размер щеток может быть разным – от 30 до 500 мм.
При выборе щеток нужно помнить, что чем толще проволока, из которой они изготовлены, тем более грубой получится обрабатываемая поверхность.
Приступая к обработке, щетку надевают на точильный круг, запускают двигатель и подносят к щетке деталь. Вместо точильного круга можно использовать электродрель.
Щуп
Это измерительный инструмент, необходимый для определения величины зазора.
Щуп состоит из нескольких пластинок разной толщины. Ширину зазора определяют, накладывая несколько пластинок друг на друга, а затем пропуская в измеряемое отверстие. Если щуп проходит в отверстие свободно, добавляют еще по пластинке. С этим инструментом нужно обращаться очень осторожно, так как пластинки хрупкие и легко ломаются.
Хранение слесарных инструментов
Для того чтобы слесарные инструменты прослужили как можно дольше, необходимо придерживаться некоторых полезных советов о том, где и как их правильно хранить.
Металл, как известно, подвержен коррозии. Большинство слесарных инструментов изготовлено именно из этого материала. Чтобы предотвратить появление ржавчины, следует хранить инструменты в сухом, хорошо проветриваемом помещении.
Если для этой цели выбрана открытая лоджия или балкон, необходимо следить за тем, чтобы влага не попадала непосредственно на инструменты.
Если же на инструменты попала влага, следует насухо вытереть их ветошью, а затем смазать тонким слоем машинного масла.
В том случае, если инструменты используются нечасто, рекомендуется периодически осматривать их, проверяя исправность. Особенно аккуратно нужно обращаться с электрическими инструментами.
Перед тем как включить какой-либо инструмент, необходимо удостовериться в целостности провода и вилки.
Для лучшей сохранности слесарного инвентаря и с целью собственного удобства рекомендуется изготовить специальный ящик, в котором можно разместить все инструменты. Преимущество ящика заключается в том, что его можно переносить с места на место.
Крупные инструменты можно разместить в шкафчиках, находящихся в специально отведенном для них месте.
Для работы с тисками и для разметки можно изготовить откидной столик. Очень удобен при выполнении слесарных работ щит из толстого куска фанеры с закрепленными на нем инструментами. Такой щит можно прикрепить к стене или задней стенке шкафчика.
Особое внимание нужно уделить правильному освещению в ходе работы. В дневное время необходимо следить за тем, чтобы свет падал с левой стороны и соответственно расположить стол.
Для работы в вечернее время рекомендуется использовать переносную электролампу на длинном шнуре, которая удобна тем, что подвесить ее можно практически везде.
Основным условием для долгого хранения и продления срока службы инвентаря является использование инструментов по их прямому предназначению. Не следует применять нож вместо отвертки, а кусачки вместо плоскогубцев, так как это приводит к порче инструментов.
Не следует торопиться при работе с различными инструментами, так как можно нанести себе серьезную травму. Приступая к прокладыванию водопровода, необходимо хорошо обдумать ход работы и заранее подготовить весь необходимый набор инструментов.
Не следует работать неисправными или затупившимися инструментами. Режущие инструменты нужно хранить в специальных футлярах из пластмассы или кожухе.
Организация рабочего места
Человеку, который решил самостоятельно провести водопровод, необходимо правильно организовать свое рабочее место.
С этой целью можно переоборудовать гараж, подвал, а если позволяют условия, соорудить мастерскую, где гораздо удобнее выполнять самые сложные слесарные работы и хранить различные инструменты, например сварочный аппарат или слесарный станок.
Как ни странно, многие не обращают внимания на такие мелочи, как хранение инструмента или организация рабочего пространства. Между тем большая часть бытовых травм связана с работой неисправным инструментом.
Приступая к прокладыванию водопроводных труб, следует помнить, что инструменты становятся непригодными к работе при неправильном их хранении и неаккуратном обращении.
Работа на неправильно организованном рабочем месте продвигается дольше и бывает неудобной.
В условиях городской квартиры верстак, конечно же, поставить проблематично. Да это и не требуется – не так часто возникает необходимость в нем.
Если нужно вырубить прокладку, нарезать резьбу или разобрать водопроводный кран, то можно работать на любом столе.
При этом не следует забывать лишь о том, что на его крышку нужно положить широкую ровную доску и для надежности прижать ее струбцинами.
Устанавливая тиски, с нижней стороны крышки стола под прижимы можно подложить кусок толстой фанеры, дощечку или другую опорную плоскость.
Для того чтобы в процессе работы не тратить время на поиски необходимого инструмента, нужно оборудовать домашнюю мастерскую, в которой каждому инструменту будет отведено свое место.
Нужно придерживаться правила, что все необходимое, например, для ремонта, должно лежать в определенном месте, аккуратно уложенное и готовое к применению.
В городской квартире лучше всего оборудовать мастерскую во встроенном шкафу. Откидной столик может послужить верстаком.
Кроме того, на задней стенке шкафа можно разместить щит с инструментами. В таком случае все необходимое для работы постоянно будет под рукой. Часть инструментов, детали запорной арматуры, материал для прокладок и прочие мелочи можно хранить на полках, на внутренних сторонах дверок или в выдвижных ящиках.
Главный принцип в размещении инструментов: все, что берется левой рукой, должно храниться слева, а все, что берется правой, соответственно, справа.
Если щит для хранения инструментов переносной, что особенно важно при ремонте сантехники, нужно предусмотреть надежные крепления, – такие, как пружинные зажимы, полоски кожи или резины, прибитые обойными гвоздями.
Сам щит лучше выполнить из листа фанеры толщиной 7–10 мм, предусмотреть вырез в верхней его части, который послужит ручкой для переноски и петлей для крепления к стене. В нижней части можно закрепить неглубокий пенал для болтов, гаек и различных запчастей к водопроводным кранам.
Завершающим штрихом при оборудовании рабочего места является изготовление специальной наковальни, предназначенной для вырубания прокладок.
Чтобы не тупить о деревянную колоду просечку, нужно сделать из свинца небольшой плоский брусочек. Следы от просечки на нем можно выровнять несколькими ударами молотка, инструменту же мягкий свинец не повредит.
Существует несколько основных правил, которых следует придерживаться при прокладывании водопровода:
– до начала работы нужно приготовить все необходимые инструменты и материалы, чтобы потом не тратить времени на их поиски;
– все используемые инструменты затем нужно складывать в том же порядке, в котором они располагались в начале работы;
– по окончании работы инструменты следует разложить на специально отведенных для них местах;
– все виды работ при прокладывании водопровода рекомендуется выполнять только теми инструментами, которые для этого предназначены;
– не следует удлинять рукоятки ключей обрезками труб и тому подобными усилителями рычага;
– не следует работать тупыми или неисправными инструментами, содержать их необходимо в чистоте и в рабочем состоянии;
– стершиеся зубцы инструментов можно восстановить, пропилив их ножовкой по металлу;
– ножовку по металлу следует хранить, надев на полотно разрезанный вдоль отрезок ПВХ-трубки;
– для того чтобы не тупить сверла при хранении и переноске, держать их следует в специальном футляре, изготовленном из пластмассы. Можно навернуть на их жала пробки соответствующих размеров.
2. Необходимые материалы
При прокладывании водопровода, его обслуживании и проведении ремонтных работ понадобятся не только инструменты, но и многочисленные материалы (уплотнители, прокладки, утеплители, различные виды труб, краны, вентили, смесители, фасонные части и др.). Об этих материалах и пойдет речь в данной главе.
Виды труб
При устройстве систем водоснабжения на участке, водяного отопления, водоснабжения и канализации в жилом доме используют различные виды труб: стальные, чугунные, асбестоцементные, пластмассовые и др.
Стальные трубы
Самый распространенный на сегодняшний день вид труб для систем водоснабжения и водяного отопления – стальные трубы. При их выборе учитывают широкий диапазон диаметров, марок стали, толщины стенок и т. д.
Наружный диаметр стальных водонапорных труб может заметно варьироваться в зависимости от толщины стенок. Поэтому, говоря о диаметрах стальных труб, обычно имеют в виду не внешний, а внутренний – так называемый диаметр условного прохода, или диаметр «в свету». Его значение является величиной более постоянной, чем диаметр самой трубы. Измеряется диаметр условного прохода в миллиметрах.
Однако когда о трубе говорят «три четверти дюйма» или «одна вторая дюйма», речь, вроде бы, тоже идет о диаметре. Как же разобраться во всех этих дробях?
Очень просто. Во втором случае речь действительно идет о диаметре. Но только не о внутреннем, а о внешнем, в зависимости от диаметра резьбы, которая может быть нарезана на конкретной трубе.
Причина такого «двойного стандарта» лежит буквально на поверхности. Поскольку внешний диаметр трубы вещь, как уже говорилось, приблизительная, была выбрана более надежная характеристика, ведь размер той или иной резьбы является величиной стандартной.
А поскольку трубная резьба измеряется в дюймах (так уж повелось), то и говорят для краткости и большей точности «одна вторая дюйма» вместо «около двадцати с половиной миллиметров».
В разводке, используемой в жилых строениях, применяют трубы полудюймовые и трехчетвертные. Их внутренний диаметр – 15 мм и 20 мм соответственно, а внешний может составлять для первых от 20,4 до 20,7 мм и для вторых от 25,9 до 26,2 мм. Для удобства следует принять, что любая труба, на которой можно нарезать ту или иную резьбу, называется в соответствии с диаметром этой резьбы.
Таким образом, дюймовая труба будет диаметром примерно 32,9 мм, труба семь восьмых (дюйма) – около 30 мм, трехчетвертные трубы имеют внешний диаметр около 26,8 мм, труба с резьбой пять восьмых – примерно 22,5 мм, а трубой полудюймовой называют трубу с внешним диаметром, близким к 21,5 мм.
В продаже стальные оцинкованные и неоцинкованные трубы бывают разной длины. Они могут иметь нарезанную на одном или обоих концах резьбу, а могут и не иметь ее. Часто производитель поставляет в торговую сеть вместе с трубами еще и комплекты соединительных частей – фитингов.
По способу производства стальные трубы бывают сварными или цельнотянутыми (бесшовными). Последние несколько дороже, но более надежны.
Стальные трубы могут быть как бесшовными, так и сварными. Первые более надежны, поэтому они и стоят дороже.
Стальные бесшовные трубы обычно применяют в том случае, если невозможно использование сварных труб.
Сварные трубы различаются по химическому составу и механическим свойствам, поскольку изготовляются из разных видов сталей.
Трубы данного вида отличаются достаточно высокой прочностью и пластичностью. Они выдерживают большое внутреннее давление, а также обладают значительно меньшим, по сравнению с чугунными, весом.
К недостаткам сварных труб следует отнести их подверженность коррозии и сравнительно небольшой срок службы.
Стальные трубы могут быть как с антикоррозийным покрытием внутри и/или снаружи, так и без него (такие трубы еще называют черными). В качестве покрытия обычно используют цинк, напыляемый электролитиче-ским способом.
Оцинкованные трубы не нуждаются в покрытии краской, дополнительной грунтовке и тому подобных мероприятиях по защите от ржавчины, за исключением участков с нарезанной резьбой – на них тонкий защитный слой нарушен. Соединяя оцинкованные трубы стальными (не чугунными) фитингами, следует учитывать этот факт и позаботиться о надежной антикоррозийной защите; проржавевшая стальная муфта накрепко схватывается с резьбой оцинкованной трубы не хуже, чем с черной.
Основной способ соединения стальных труб – сварка. Поэтому обязательно надо учитывать их свариваемость (с увеличением содержания углерода в трубах она ухудшается).
Асбестоцементные трубы
Трубы данного вида, производимые из смеси асбестоцементного волокна и портландцемента, обладают следующим преимуществами: малой массой и небольшой теплопроводностью. Они легко поддаются механической обработке. Даже при длительной эксплуатации асбестоцементные трубы сохраняют гладкую внутреннюю поверхность, к тому же они являются хорошими диэлектриками.

