
Большая книга дачного мастера
Тип дюбеля и его длина зависят от вида и толщины теплоизоляционного материала и обычно указаны в рекомендациях производителя. Как правило, применяют тарельчатые дюбели в количестве 4 – 5 шт./м2. В углах конструкции дюбелей требуется больше – до 7 шт./м2. При этом они не должны утопать в теплоизоляционном слое очень глубоко, иначе будут заметны на штукатурке при резких колебаниях температуры и повышенной влажности.
Наружные углы стен, которые подвержены наибольшему риску повреждения, особенно на первом этаже здания, укрепляют при помощи дополнительного слоя армирующей, бронированной сетки или сеткой вместе со специальными угловыми профилями (рис. 40).

Рис. 40. Отделка наружных углов стен: а) с использованием только армирующей сетки; б) с использованием армирующей сетки и углового профиля; 1 – дюбели; 2 – полотна армирующей сетки с нахлестом; 3 – клей для крепления утеплителя; 4 – утеплитель; 5 – угловой профиль; 6 – раствор для выполнения армирующего слоя; 7 – армирующая сетка; 8 – штукатурка
Если армирующую сетку укладывают без углового профиля, то необходим нахлест минимум 40 см: по 20 см двойного слоя сетки должно быть на каждой стороне наружного угла здания (стандартный нахлест на фасаде равен 10 см). Кроме того, чтобы укрепить утеплитель в зоне, непосредственно прилегающей к угловому профилю, требуется больше дюбелей, чем обычно.
В области дверных и оконных проемов плиты крепят к поверхности фасада при помощи клея. Для этого их нужно предварительно подогнать по размеру, обрезав все лишнее и учитывая, что стыки не должны приходиться на линию откоса (рис. 41).
Если торец утеплителя примыкает к неутепляемым конструкциям, например, балконной плите, ригелю, камере видеонаблюдения и т. д., стык с плитой обеспечивают посредством уплотнительной саморасширяющейся ленты. Ее приклеивают одной стороной к примыкающей конструкции так, чтобы она находилась близко к наружной поверхности утеплителя, но при этом не выходила за ее пределы. Там, где утеплитель примыкает к оконным проемам, требуется специальный оконный профиль, который выступает в качестве деформационного шва между системой утепления и оконным блоком, а также препятствует возникновению трещин по всему периметру оконных проемов.

Рис. 41. Оформление проемов теплоизоляционными плитами: а) неправильное; б) правильное
Как правило, окна и двери монтируют у наружного края несущей стены, там, где проходит граница теплоизоляционного слоя. Если проект предусматривает железобетонную перемычку, то тогда появляется линейный мостик холода по всей ее длине. Вследствие этого на стене внутри помещения могут возникнуть капли росы, темные пятна и даже развиться грибок.
Достаточно удлинить слой теплоизоляции на 2 – 3 см, чтобы она находила на край коробки и образовывала так называемую четверть, предотвращающую утечку тепла (рис. 42). То же самое применимо к откосам: надвинув плиту утеплителя на раму и образовав четверть шириной в несколько сантиметров, можно предотвратить неприятные явления.
Чтобы система обладала трещиностойкостью в области вершин углов оконных и дверных проемов, требуется предварительное армирование косынками, которые состоят из стеклотканевой сетки размером 300 × 200 мм под углом 45° (рис. 43).

Рис. 42. Исключение мостиков холода вокруг дверной коробки: 1 – четверть, образованная напуском утеплителя на коробку; 2 – перемычка; 3 – откос

Рис. 43. Усиление углов проемов (стрелка вверху указывает направление укладки сетки): 1 – армирующая сетка; 2 – перехлест стеклосетки; 3 – плита ЭППС; 4 – тарельчатый дюбель для крепления плит; 5 – противопожарная рассечка из минераловатных плит; 6 – усиливающий элемент из армирующей сетки; 7 – оконный или дверной проем
На поверхность уже смонтированных плит, имеющих площадь чуть больше площади косынки, нужно нанести клей слоем приблизительно 2 мм и легким движением при помощи гладкой стороны шпателя утопить в него сетку. Таким же образом производят укрепление всех наружных углов, в которых армирование выполнено при помощи специального углового профиля из ПВХ с сеткой.
Если для утепления фасада используют пенополистирол, нужно позаботиться о противопожарных мерах. Так, если в доме более 2-х этажей, то на каждом этаже по всему периметру здания на уровне верхних откосов проемов (дверных или оконных), по контурам всех проемов и по всей площади лоджий и балконов необходимо установить рассечки из минераловатных плит, представляющие собой полоски шириной не меньше 10 см.
Чтобы вследствие температурных деформаций и возникающего на больших участках стен напряжения не образовывались трещины и разломы, непосредственно в конструкции стен предусматривают деформационные швы (рис. 44). Без них нельзя обойтись также в системах наружного утепления. Для того чтобы их сделать, применяют специальные И-образные элементы или цокольные профили, прикрепляемые вертикально к стене.

Рис. 44. Устройство деформационных швов: 1 – заполнение полоской минеральной ваты; 2 – клей; 3 – компенсационный шов, в котором размещены профиль и сетка; 4 – армирующая сетка, утопленная в клеевой раствор; 5 – утеплитель; 6 – штукатурка
Основание, на котором выполняют окончательную отделку декоративными материалами, представляет собой слой из клеевого штукатурного состава, армированный сеткой из стекловолокна. При этом сетку нужно выбирать щелочестойкую с плотностью 140 – 190 г/м2. Укладывают ее таким образом, чтобы обеспечить перехлест полотнищ на ширину 10 см.
Работа ведется следующим образом: плиты утеплителя покрывают базовым слоем штукатурки толщиной приблизительно 4 – 5 мм, после чего в него утапливают сетку, ровно, без образования складок. Поверх наносят выравнивающий штукатурный слой методом «мокрое по мокрому» толщиной 1 – 2 мм. Нужно следить за тем, чтобы скрыть шляпки дюбелей. Если армирующий слой получится слишком тонким, то там, где теплоизоляционные плиты соединяются между собой, могут появиться трещины на штукатурке. Их появлению может способствовать тот факт, что армирующая сетка была уложена без нахлеста либо неравномерно утоплена в раствор.
Перед тем как закончить декоративную отделку, на армированный слой наносят специальные грунтовки. Как только грунтовочный слой высохнет, поверхность будет готова к нанесению декоративного слоя.
Навесной вентилируемый фасад
Более половины новых загородных европейских домов строят с вентилируемыми фасадами. Конструкция навесного вентилируемого фасада (НВФ) похожа на облицовку гипсокартонном и включает в себя металлическую или деревянную конструкцию, прикрепленную к несущей стене, на которую навешивают внешнюю облицовку (или фальшстену), а также утеплитель и вентилируемую зону (рис. 45).

Рис. 45. Конструкция навесного вентилируемого фасада на металлическом каркасе: 1 – утепляемая стена; 2 – распорный анкер; 3 – кронштейн; 4 – направляющие; 5 – теплоизоляционные плиты; 6 – плиты защитной декоративной облицовки; 7 – воздушный зазор; 8 – вставка кронштейна; 9 – фасадный дюбель
Выбор теплоизоляционного материала
В качестве утеплителя, как правило, выступает минеральная вата, а для облицовки подходят виниловый сайдинг, ПВХ панели, а также деревянный и металлический сайдинг, блокхаус. Намного реже фасад облицовывают керамогранитом, натуральным и искусственным камнем, керамическими, фиброцементными и цементными плитками и панелями, кассетами из листовых материалов. Лучше всего отдать предпочтение легким материалам, чтобы излишне не нагружать фундамент.
К утеплителям, используемым в навесных фасадах, существует ряд жестких требований, наиболее важные из которых пожаробезопасность, а также прочность слоев на отрыв, поскольку имеет место проблема выдувания волокон утеплителя вследствие особенностей самой конструкции.
Традиционно применяют негорючие минераловатные утеплители плотностью от 75 кг/м3. Если же требуется удешевить конструкцию, обеспечив при этом нужную жесткость системы утепления, используют двухслойные системы «стекловолокно – стекловолокно» либо «стекловолокно – базальт».
На поверхность фасада устанавливают теплоизоляционные волокнистые плиты плотностью более 30 кг/м3, после чего со стороны воздушной прослойки на них монтируют второй ряд утеплителя, обладающий большей плотностью (более 80 кг/м3). Таким образом, благодаря более мягкому нижнему слою будет достигнуто плотное прилегание теплоизоляции к утепляемой стене, а жесткий наружный материал защитит внутренний слой от выдувания волокон и распространения огня при пожаре. Чтобы избежать дополнительных теплопотерь, швы в разных слоях утеплителя выполняются вразбежку.
Блокхаус представляет собой разновидность стеновой деревянной панели. Это визуальная имитация оцилиндрованного бревна, которая, в отличие от настоящего дерева, не растрескивается и обладает идеально ровной поверхностью. Можно сказать, что блокхаус – это вагонка.
Элементы защитной облицовки монтируют не вплотную, а с компенсационным зазором. Вентилируемый воздушный зазор между защитной облицовкой и утеплительными плитами должен составлять не менее 60 мм. Благодаря этому диффузионная влага, которая просачивается через наружную стену в виде пара, не будет скапливаться в утеплительном слое, а выйдет наружу, и теплоизоляция не потеряет теплосберегающих свойств.
Если внутрь воздушной прослойки попадет атмосферная влага, она тоже испарится благодаря щелям между элементами обшивки. Также зазор между элементами облицовки необходим для предотвращения ее разрушения вследствие температурных деформаций и создания баланса давления воздуха в вентилируемом слое.
Летом такой фасад снизит нагрев ограждающих конструкций солнечными лучами и температура внутри здания резко не возрастет. НВФ подходит и для домов из поризованных пустотелых газобетонных и керамических блоков, так как позволяет стеновому материалу «дышать». Еще один плюс данной системы: она является отличным звукоизолятором.
Различают кассетные и реечные (линейные) вентилируемые фасадные системы, которые можно устанавливать в любое время года, поскольку мокрые процессы исключаются. Фасады долго служат, не требуют частого ремонта и особого ухода. При ремонте полный демонтаж конструкции не требуется, просто заменяют поврежденные части.
Навесные фасады, имеющие металлический каркас и навесные панели из дорогих материалов, отличаются высокой ценой. Это их главный минус. Также НВФ подойдет не каждому дому. Например, кассетный НВФ органично впишется в фасады современных домов, а с точки зрения цены и дизайна ко многим зданиям больше подойдет реечный фасад.
Этапы работы
Монтаж НВФ на металлическом каркасе
Система навесного кассетного фасада представляет собой совокупность кронштейнов из алюминия и направляющих, которые присоединяют к стене при помощи крепежных элементов, удерживающих защитно-декоративную панель. Кронштейны с паронитовыми прокладками крепят анкерами к наружной несущей стене. После этого дюбель-болтами к ней прикрепляют утеплитель из каменной ваты. Плиты должны плотно и без зазоров примыкать друг к другу и кронштейнам. Утеплитель защищен от воздушных потоков и выветривания ветрозащитной мембраной, которая регулирует его влажность и не дает атмосферной влаге проникнуть в него.
К кронштейнам болтами и вытяжными заклепками крепят вертикальные и горизонтальные элементы подконструкции, к которым прикрепляют элементы навесного защитного экрана. При применении фасадных кассет нижнюю часть кассеты ставят в замок вместе с верхней частью кассеты, находящейся внизу, а верхнюю прикрепляют при помощи вытяжных заклепок или самонарезных винтов к направляющей.
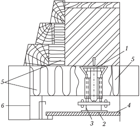
Самые большие ветровые нагрузки испытывают наружные углы, поэтому следует обратить особое внимание на то, насколько прочно прикреплена конструкция подсистемы НВФ к несущей стене (рис. 46). Кроме того, выступающий угол дома следует тщательно утеплить, соблюдая зубчатую перевязку швов между утеплительными плитами.
Чтобы обеспечить пожарную безопасность, по периметру оконных и балконных проемов выполняют специальное обрамление из листовой стали толщиной не меньше 0,55 мм (рис. 47).

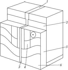
Рис. 46. Схема крепления облицовки и плит утепления в зоне наружного угла здания: 1 – кронштейн; 2 – теплоизоляционные плиты; 3 – кляммер; 4 – плитка облицовочная; 5 – утепляемая стена; 6 – заклепка; 7 – анкерный дюбель; 8 – гнутый уголковый профиль

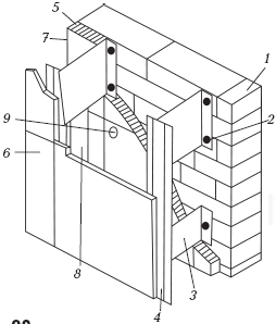
Рис. 47. Узел примыкания навесной фасадной системы к оконному проему: 1 – кронштейн; 2 – направляющая; 3 – кляммер; 4 – плитка облицовочная; 5 – плита теплоизоляционная; 6 – стальной элемент рамы оконного обрамления
Навесной вентилируемый фасад является сложной инженерной конструкцией. Важно правильно рассчитать все параметры системы, подобрать комплектующие и произвести монтаж, соблюдая все требования. Самостоятельно выполнить такую работу вряд ли получится, поэтому обычно производители продают подобные системы в комплекте, а монтаж можно заказать дилерам.
Монтаж НВФ на деревянном каркасе
Самый дешевый и популярный вариант НВФ – деревянный каркас, к которому крепят блокхаус или недорогой сайдинг из винила либо металла.
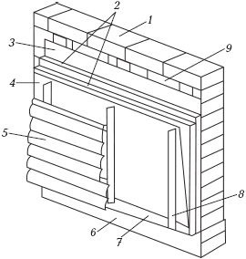
Сначала на стене дома при помощи дюбелей устанавливают обрешетку из деревянного бруса с шагом 40 – 70 см (рис. 48). На нее укладывают пароизоляцию, служащую для утеплителя защитой от влаги, которая будет проникать в него изнутри строения. После этого укладывают собственно утеплитель в один или два слоя (последнее зависит от теплотехнического расчета). Если требуется два слоя утеплителя, его укладывают с разбежкой стыков в разных слоях.
Система НВФ схожа с системой монтажа гипсокартонных листов только на первый взгляд. Использование фасадных профилей, которые рассчитаны на гипсокартонные стены, является грубейшим нарушением строительных норм и приведет к крайне неприятным последствиям.
Получившийся «пирог» покрывают ветрозащитной пленкой, которую крепят деревянными направляющими, одновременно создающими вентиляционный зазор между утеплителем и фальшстеной. По направляющим снизу вверх монтируют панели сайдинга или блокхауса. Однако перед этим внизу конструкции делают отлив для стока воды, а над ним устанавливают вентиляционную решетку.

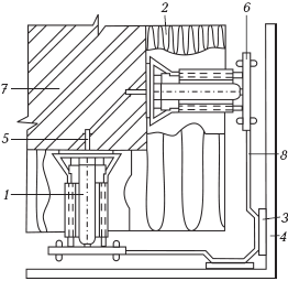
Рис. 48. Монтаж навесного вентилируемого фасада на деревянном каркасе: 1 – наружная стена; 2 – утеплитель (два слоя минеральной ваты); 3 – пароизоляция; 4 – ветрозащита; 5 – сайдинг; 6 – стартовая планка; 7 – вентиляционная решетка, защищенная сеткой; 8 – дистанционная планка, обеспечивающая наружный вентиляционный зазор; 9 – дистанционная планка, обеспечивающая вентиляцию между стеной и утеплителем
Изоляция стен каркасной конструкции
Возведение домов каркасной конструкции менее трудоемкое, чем строительство рубленых. Их стены состоят из несущих стоек, обвязок, утеплителя и отделочных слоев. Срок службы каркасных домов доходит до 30 лет и более. Для их возведения нужно в 1,5 – 2 раза меньше древесины, чем для рубленых домов, при этом по теплотехническим характеристикам они не уступают, а порой даже превосходят стены сруба.
Выбор теплоизоляционного материала
Для каркасных стен в качестве утеплителя, как правило, выбирают легкие минеральные и органические материалы с объемной массой до 500 кг/м3. Они отличаются легкостью, огнестойкостью, не гниют и не подвергаются атаке грызунов.
При установке плиту разрезают таким образом, чтобы ширина теплоизоляционного слоя превышала расстояние между стойками каркаса на 10 – 20 мм, а вставлять ее приходилось с небольшим усилием. В таком случае материал заполнит изолируемое пространство полностью и будет надежно держаться в конструкции.
По желанию утеплитель прикрепляют к каркасу с помощью гвоздей. Иногда на матах предусмотрены специальные уши, благодаря которым теплоизоляцию монтируют к каркасу. Когда плиты укладывают в два слоя, швы между плитами первого слоя должны перекрываться плитами второго слоя.
Другие существующие минеральные утеплители (керамзит, топливные и металлургические шлаки, трепел), которыми долгое время заполняли полости в стенах, сильно уступают минеральной вате по теплоизоляции, поэтому их использование в районах с расчетной температурой наружного воздуха ниже –25 °C нерационально. Сыпучие материалы в процессе эксплуатации дают осадку, что приводит к возникновению пустот.
Кроме того, стены приходится возводить из двух слоев досок, чтобы образовывалась полость под засыпку. Впрочем, их можно использовать тогда, когда требуется быстро утеплить каркасный или сборный дом без переделки самой ограждающей конструкции. Легкие стены подобных домов вследствие небольшой массы имеют низкую теплоаккумулирующую способность, поэтому их утепляют изнутри фальшстеной из гипсовых строительных плит толщиной 80 мм, промежуток между которыми заполняют сыпучими материалами (рис. 49).
Если говорить о пенопластах, они легко воспламеняются, повреждаются грызунами и часто имеют высокую токсичность для человека. Поэтому пенопласт целесообразно применять для наружного утепления кирпичных или бетонных стен.
Этапы работы
Теплоизоляционный материал при этом виде утепления располагается внутри изолируемой конструкции. Как правило, внешние стены в данном случае – это силовой каркас, состоящий из сухого струганного бруса, заполненного утеплителем, толщина которого зависит от климата в данном регионе и назначения постройки. При этом сечение стоек каркаса рассчитывают, исходя не только из нагрузки, но и из толщины теплоизоляции.
Чтобы утеплитель всегда был сухим, с внешней стороны от атмосферной влаги и ветра его защищает пленка, не создающая препятствия для выхода остаточного водяного пара, который скапливается в порах теплоизоляции. От водяного пара из помещения утеплитель изнутри защищает пароизоляционная пленка или пергамин (рис. 50).
Внутренние перегородки делают из бруса меньшего сечения, заполняют утеплителем и закрывают с двух сторон пароизоляционной пленкой. Стены снаружи отделывают облицовочным кирпичом, фасадной штукатуркой, обшивают влагостойкими 05В-плитами толщиной 10 мм, сайдингом или блок-хаусом, а изнутри – вагонкой или гипсокартоном. Для защиты стен от влаги обшивку выполняют с перекрываемыми вертикальными и горизонтальными стыками, устраивая нужные сливы с выступающих элементов стен.
Пароизоляция нужна для того, чтобы защитить утеплитель от пара, проникающего из помещения. А в легких постройках она часто защищает и от холодного воздуха, проникающего снаружи через стыки матов утеплителя с каркасом и т. д.
Пароизоляцию укладывают после того, как был смонтирован каркас и уложен утеплитель, и закрепляют скобами или гвоздями под гипсокартонными плитами. Пленку соединяют с нахлестом шириной 10 – 15 см и скрепляют клеящей лентой. Если склейка не предусмотрена, нахлест должен составлять не менее 30 см. Места забивания скоб или гвоздей тоже заклеивают лентой.
Нередко маты утеплителя продаются с уже готовым слоем пароизоляции. При использовании облицовки в качестве пароизоляции лучше крепить ее к стойкам и ригелям, чтобы обеспечить лучшую герметичность. При этом следует учесть, что могут появиться трудности с установкой вагонки и других элементов, используемых при внутренней отделке.
Облицованные фольгой маты крепят таким образом, чтобы появился воздушный зазор между теплоизоляцией и внутренней обшивкой. Он нужен для того, чтобы слой фольги мог эффективно отражать тепло.
Необлицованные маты эффективны, если вставлены между элементами каркаса плотно, без щелей, а изнутри помещения закрыты слоем пароизоляции. При работе важно обратить внимание на то, чтобы внутри стены не было пустот, а пароизоляция была сплошной.
Жесткая изоляция повышает сопротивление стены теплопередаче в целом. Ее крепят по сплошной черновой обшивке, которая и сама может выступать в качестве жесткой изоляции. При этом необходимо хорошо изолировать концевые балки (рис. 51). Такое покрытие должно быть паропроницаемым для обеспечения вывода из стены влаги.

Рис. 49. Утепление щитовой стены: 1 – легкая стена из гипсоплит; 2 – утеплитель; 3 – гипсовая строительная плита

Рис. 50. Изоляция каркасной стены: 1 – фундамент; 2 – утеплитель, уложенный в каркас пола; 3 – герметичный стык пароизоляции стены и пола; 4 – пароизоляция; 5 – внутренняя отделка; 6 – теплоизоляция стены в полостях каркаса; 7 – ветро– и гидроизоляция; 8 – наружная обшивка

Рис. 51. Изоляция концевых балок: а) одинарных; б) двойных; 1 – стойка; 2 – одинарная концевая балка 50 × 150 мм; 3 – теплоизоляционный мат; 4 – обшивка; 5 – жесткая изоляция; 6 – сдвоенная концевая балка из досок 50 × 150 мм
Утепляем стены старого деревянного дома
Деревянные дома обладают не только преимуществами, но и недостатками. Главный из них – сквозняки, возникающие потому, что в стенах часто есть щели.
Выбор теплоизоляционного материала
Деревянный дом лучше всего утеплять снаружи минеральной ватой, которую монтируют на каркасе.
Этапы работы
В первую очередь устанавливают пароизоляцию, которая может состоять из алюминиевой фольги толщиной не менее 0,02 мм, полиэтиленовой или ПВХ пленки толщиной не менее 0,1 мм, либо рубероида, покрытого битумом с обеих сторон. Важно проследить за тем, чтобы слой был герметичен, поэтому нельзя использовать разорванный или поврежденный материал.
Полосы пароизоляции располагают с нахлестом шириной 5 – 10 см. Стыки проклеивают между собой или герметизируют с помощью самоклеящейся ленты. Также ею заклеивают места забивания гвоздей или скоб.
Рекомендуемая средняя толщина теплоизоляционного материала из высококачественных минераловатных плит в Средней полосе России составляет 200-250 мм. Эта цифра рассчитана по европейским нормам энергосбережения. Для Сибири она, соответственно, должна увеличиться.
Пароизоляцию крепят с наружной или внутренней стороны стены. Последний вариант оправдан, если внутренние стены отделаны гипсокартонными плитами. Если это не предусматривается, лучше закрепить пароизоляцию с наружной стороны. В данном случае нужно предусмотреть вентиляционный зазор: в него будет поступать теплый воздух из помещения, тогда капли конденсата станут высыхать, и опасности гниения древесины не возникнет. Для этого в нижней и верхней частях стены просверливают отверстия диаметром приблизительно 2 см с шагом 50 – 100 см. Если стена гладкая, то между ними следует прибить узкие рейки толщиной 2 – 2,5 см, которые позволят воздуху поступать вертикально. Если стена состоит из круглых бревен, делать отверстия не обязательно, поскольку ее неровности и углубления позволят воздуху циркулировать.
Следующим шагом является монтирование каркаса для установки теплоизоляции. Утеплитель обычно укладывают в 2 слоя толщиной по 5 – 6 см каждый. Материал должен представлять собой полужесткие плиты плотностью 80 – 120 кг/м3, достаточно упругие для того, чтобы удерживаться между рейками каркаса без добавочного крепления, и довольно устойчивые, чтобы не сползать под давлением ветра или тяжести своего веса.
Если дом построен из бревен диаметром 30 см, утепление ему, скорее всего, не требуется. Если же он выстроен из бревен меньшей толщины, может, лучше оставить красивый фасад в первозданном виде и дополнительно обогревать здание? Взвесьте все «за» и «против» перед началом работ.
Двухслойный каркас изготавливают из сосновых или еловых планок толщиной 3,8 – 5 см и шириной 5 – 6 см, установленных на торец. Их прибивают непосредственно поверх пароизоляции (рис. 52).
Стандартная ширина минеральной ваты 50 – 60 см. К стенам снаружи прибивают отдельные элементы с шагом 53 или 63 см. Поскольку между элементами остается пространство в 48 – 49 см или 58 – 59 см, плиты из минеральной ваты укладывают в каркас с применением небольшого усилия, достаточного для плотного заполнения образовавшейся ячейки.

