
Большая книга дачного мастера
Когда первый слой минеральной ваты будет уложен, можно приступать к монтированию горизонтальных планок второго слоя теплоизоляционного каркаса. Плиты нужно укладывать таким образом, чтобы между ними не оставалось щелей. Места их соединения в следующей плоскости каркаса должны смещаться относительно друг друга, а стыки во втором слое не должны пересекаться со стыками первого.
Поверх утеплителя устанавливают слой ветроизоляции. Лучше всего использовать для этой цели полиэтиленовую пленку, обладающую высокой паропроницаемостью (более 1300 г/сут./м2), но если ее не оказалось, можно взять провощенную бумагу или подкладочный рубероид с односторонним покрытием, но такой подход будет малоэффективен.
Полотна ветроизоляции укладывают на минеральную вату с нахлестом 5 – 10 см, прибивают скобами или гвоздями к каркасу, который держит утеплитель. Желательно дополнительно герметизировать стыки при помощи самоклеящейся ленты, особенно если они находятся между планками (рис. 53).
Поверх ветроизоляции устанавливают еще один каркас, нужный для окончательной обшивки. Для этого используют сосновые или еловые планки толщиной 2,5 – 3,2 см и шириной не менее 5 см, которые предварительно обрабатывают антисептической пропиткой. Планки прибивают так, чтобы образовался вентиляционный зазор между ветроизоляцией и внешней обшивкой, необходимый для высушивания ветроизоляции и досок обшивки от конденсата и попадающего внутрь дождя или снега. Внизу желательно монтировать частую металлическую сетку, чтобы внутрь не проникали насекомые и грызуны.

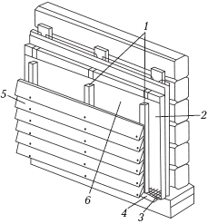
Рис. 52. Укладка паро– и теплоизоляции: 1 – стена фундамента; 2 – гидроизоляция; 3 – пароизоляция; 4 – вертикальные планки каркаса для второго слоя утеплителя; 5 – горизонтальные планки каркаса для первого слоя утеплителя; 6 – самоклеящаяся лента, герметизирующая крепежные отверстия в пароизоляции; 7 – каркас из досок; 8 – бревенчатая стена; 9 – первый слой теплоизоляции; 10 – второй слой теплоизоляции; 11 – вентиляционный зазор; 12 – вентиляционное отверстие

Рис. 53. Укладка ветроизоляции и финишной обшивки: 1 – каркас для обшивки; 2 – ветроизоляционный слой; 3 – металлическая защитная сетка; 4 – дополнительная планка, применяемая при обшивке досками внахлест; 5 – обшивка; 6 – самоклеящаяся лента, герметизирующая место стыка полос ветроизоляции
Для фасадных досок следует подобрать древесину, которая устойчива к переменам погоды, например сосну, лиственницу, дуб. Чтобы защититься от разрушительного влияния сырости, доски импрегнируют, окрашивают или покрывают лаком, а затем прибивают горизонтально или вертикально в зависимости от личных предпочтений. При вертикальном расположении необходим дополнительный горизонтальный каркас.
Рекомендации по утеплению строительных конструкций минераловатными утеплителями
1. Стекловолокно в сжатом состоянии не сможет исполнять функцию изолятора, поэтому перед монтажом следует аккуратно развернуть материал и убедиться в том, что он расширился до толщины, указанной в паспорте.
2. Утеплитель в каркасе устанавливают враспор. Таким образом, ширина материала должна быть больше ширины утепляемого пространства на 10 мм, благодаря чему материал будет установлен в каркасную конструкцию очень плотно и без применения дополнительных крепежных элементов.
3. После установки материала в конструкцию его требуется герметично закрыть пароизоляционным материалом изнутри помещения, а уже потом выполнить внутреннюю отделку здания.
4. Проще всего использовать вокруг проложенных в стенах коммуникаций короткие маты. Необходимо обратить внимание на то, чтобы они располагались плотно друг к другу.
5. Изоляция неэффективна, если она не охватывает все трубы, провода, осветительную арматуру и розетки. Чтобы проложить теплоизоляционный материал вокруг горизонтально расположенных проводов, нужно разрезать маты таким образом, чтобы одна половина находилась за проводом, а другая – перед ним. Точно так же изолируют и участки вокруг водопроводно-канализационных труб. Если пролет узкий, то поперек задней стороны мата выполняют неглубокий надрез, в который затем помещают трубы или провода.
6. Стекловолокно при перемещении воздуха с функцией изолятора не справится, поэтому перед изоляцией узких пространств между оконными и дверными коробками и элементами каркаса сначала требуется герметизировать данные участки для блокирования воздушного потока извне. Этого легко достичь при помощи монтажной пены.
7. При изолировании узкого пространства нельзя заталкивать в него много материала. Допустимо только незначительное сжатие, которое позволит удержать утеплитель в проеме.
8. В процессе монтажа изоляции вокруг осветительной арматуры, находящейся в углублениях, нужно обратить внимание на то, что существует два класса светильников: изолированные и неизолированные. Если арматура неизолированная, то изоляция должна пролегать на расстоянии не меньше 75 мм от светильника, чтобы предотвратить возможное возгорание. Если же арматура изолированная, можно монтировать изоляцию вокруг светильников, избегая натяжения.
Глава 2. Утепляем пол и перекрытия
Выбор теплоизоляционного материала и способ утепления пола зависят от вида пола, наличия подвала и т. д. При теплоизоляции очень важно тщательно и надежно утеплить стыки между стенами и полом. Для этого нужно приобрести специальную строительную пену. Также необходимо произвести теплоизоляцию чердачных перекрытий, поскольку тепло покидает дом и через них, и позаботиться о снижении глубины промерзания грунта, что поможет в значительной степени утеплить полы в помещении.
Снижение глубины промерзания грунта
Когда пол устроен на грунте, то по мере его промерзания полы в помещении становятся просто ледяными. Но если грунт будет промерзать не слишком глубоко, температура пола на первом этаже дома повысится. Для этого необходимо теплоизолировать и цоколь, и фундамент здания.
Выбор теплоизоляционного материала
Для данного вида работ подойдут пенополистирольные плиты, а также теплая отсыпка из керамзита, шлака, пенопластовой крошки и т. д. Чтобы предотвратить намокание утеплителя, плиты нужно укладывать в целлофановых мешках.
Этапы работы
По периметру дома надо вырыть траншею глубиной 40 – 50 см, затем на дно насыпать песок слоем 20 см, утрамбовать, после чего уложить с небольшим уклоном от стены фундамента плиты из экструдированного пенополистирола. Если глубина промерзания грунта составляет 1,5 м, ширина теплоизоляционного материала не должна быть меньше 1,2 – 1,4 м. Потеря тепла через наружные углы намного больше, чем через стены, поэтому там толщина теплоизолятора должна быть в 1,5 раза больше, чем у укладываемого вдоль стен. После укладки утеплитель следует засыпать песком слоем не менее 30 см и выполнить отмостку. Благодаря такому способу, грунт около фундамента дома промерзать не будет, что повысит его теплоизоляцию и сделает полы первого этажа намного теплее.
Пенополистирольные плиты можно по желанию заменить теплой отсыпкой из шлака, керамзита, пенопластовой крошки и т. д. Утепление грунтов требуется также при неправильном устройстве фундаментов, когда дома из дерева деформируются, а в стенах кирпичных зданий появляются трещины. Уложенный под отмосткой либо с двух сторон фундамента утеплитель поможет без значительных затрат предохранить конструкции от разрушений.
Теплоизоляция пола на грунте
Даже если грунт утеплен, все равно необходимо утеплить пол в отапливаемых помещениях. А если подобные работы не проведены и пол в доме находится ниже уровня промерзания грунта, сделать это надо обязательно. Главное при этом – защитить теплоизоляционный материал от влаги во время выполнения данной работы. Ведь он справляется со своей задачей, только пока остается сухим.
Выбор теплоизоляционного материала
Теплоизоляционный материал должен быть очень прочным на сжатие, поскольку он будет испытывать большие нагрузки. Лучше остальных подходят ПСБ, ЭППС, иногда используют минеральную вату, но вследствие ее высокого водопоглощения применять ее все-таки нежелательно. ПСБ (пенополистирол) – это твердый пластик, обладающий замкнуто-пористой структурой. Его получают посредством вспучивания полистирола при нагревании, что происходит под действием газообразователя. В результате получается материал, который на 98 % состоит из воздуха, находящегося в мелких закрытых ячейках. Поэтому пенополистирол обладает низкой теплопроводностью и малым водопоглощением и паропроницаемостью.
Также можно использовать разнообразные сыпучие материалы для теплоизоляции.
Этапы работы
Приготовить основание: утрамбовать щебень в сухой грунт. Если грунт влажный, применяют слой гидроизоляции, состоящий из жирной глины или пропитанного битумом щебня. Чтобы выровнять основание, можно уложить поверх грунта слой песка толщиной 5 – 10 см. Затем на песок поместить гидроизоляционный слой, на него – плиты пенополистирола толщиной не менее 5 см. На них уложить покрытие из железобетона или монолитного бетона. При использовании минеральной ваты или теплоизолирующей засыпки в качестве утеплителя требуется дополнительный слой гидроизоляции между ним и бетоном (рис. 54).

Рис. 54. Утепление пола подвала: 1 – фундаментная плита или грунт с выравнивающим слоем песка; 2 – противокапиллярная изоляция; 3 – теплоизоляция; 4 – гидроизоляция поверх слоя минваты (для пенополистирола такой слой не нужен); 5 – бетонная стяжка
Теплый водяной пол по грунту
Если дача используется до самых морозов, то для утепления пола дачного дома подойдет такой способ, как теплый водяной по грунту. Внутри пола оборудуется система «теплый пол». Она включает в себя трубы, встроенные внутрь бетонного основания пола, нагревающего воду котла, а также циркуляционного насоса. Его мощность зависит от числа петель в водяных трубах. Такой пол выполнить лишь немного сложнее, чем обычный вид утепления, но он требует последующего обслуживания.
Выбор теплоизоляционного материала
В качестве утеплителя при таком способе теплоизоляции применяют плиты из полистирола либо минеральной ваты. Чтобы теплый пол долго служил, слой утеплителя нужно уложить очень ровно, не допуская образования щелей между плитами.
Этапы работы
Сначала на пол укладывают теплоизоляцию: полистирол, минеральную вату и т. д. Затем монтируют арматурную сетку. После этого переходят к трубам. Трубы укладывают через каждые 10 – 30 см и закрепляют на арматурной сетке при помощи пластиковых хомутов. Способ укладки: по спирали, змейкой, двойной змейкой, как больше понравится. Один конец трубы закрепляют в подающий коллектор, а в конце укладки конец последней трубы подсоединяют к возвратному коллектору (рис. 55).

Рис. 55. Укладка труб: а) по спирали; б) змейкой
Можно арматурную сетку уложить и непосредственно над трубами. В месте прохождения компенсационных швов на трубы надевают гофрированные рукава для их защиты. После монтажа труб проводят опрессовку системы отопления – гидравлическое испытание трубопроводов и котлов на герметичность. Опрессовка нужна обязательно, она позволит убедиться в том, что повреждений труб нет. Она должна проводиться прямо перед заливкой бетонной стяжки. После того как конструкция пройдет успешное испытание, можно залить ее бетоном, слой над трубами не должен быть менее 30 см. Заливку бетоном проводят при комнатной температуре, при этом система находится под давлением в 3 – 4 бар в течение 24 ч. Желательно систему отопления оставить под давлением до окончательного завершения всех работ по монтажу теплого пола (рис. 56).

Рис. 56. Устройство водяного теплого пола: 1 – бетонная стяжка (30 мм над трубой); 2 – демпферная лента; 3 – труба PE-RT; 4 – арматурная сетка; 5 – полистирольная плита плотностью не менее 35 мг/м3, толщиной 30 – 200 мм; 6 – полиэтиленовая пленка 100 мкм
Бетонная стяжка – теплораспределительный материал в системе теплого водяного пола. Для ее выполнения обычно используют цементно-песчаный раствор либо пескобетон. Включать такую систему допустимо только после полного высыхания и отвердения бетонного раствора (не менее 28 дней). Когда раствор наберет прочность, надо постепенно повышать температуру воды, доводя ее до требуемой величины за 3-е суток.
Заключительный этап – укладка чистового покрытия на бетонную стяжку. Внимание! Материал должен иметь коэффициент сопротивления теплопередаче не выше 0,15 м2 × К/Вт. Керамическая плитка и подобные ей материалы не доставят проблем, а паркет и ковролин должны быть специально предназначены для системы «теплый пол».
Деревянная система водяного теплого пола
Вданной системе в качестве основы направляющих элементов выступают обрезная доска, ламинированная древесностружечная плита, фанера либо иные материалы толщиной не менее 20 мм.
Выбор теплоизоляционного материала
Дерево является лучшим строительным материалом. Легкий деревянный тип водяных теплых полов – самый востребованный из всех легких систем напольного отопления.
Такой тип системы экологичен, прочен, надежен и обладает минимальной высотой конструкции пола с нагревательными элементами. Направляющие из дерева делают конструкцию пола более прочной, к тому же при их применении в качестве чистовых напольных покрытий можно использовать керамическую плитку, керамогранит, паркет и паркетную доску, ламинат.
Особенность деревянного типа водяных теплых полов состоит в том, что при их монтаже отсутствует мокрый процесс, что выгодно отличает такой способ от бетонных систем. Система будет готова к эксплуатации сразу после окончания монтажа. И наконец, минимальная высота конструкции составляет 20 мм, а нагрузка, которую она может выдержать, равна приблизительно 30 кг/м2.
Легкую деревянную систему монтируют в тех случаях, когда необходимо снизить нагрузку на конструкции перекрытий. Например, в деревянных домах, когда в качестве перекрытий используют деревянные балки. В таком случае нагрузка на конструкции перекрытия составляет примерно 30 кг/м2, что практически в 10 раз меньше, чем при монтаже бетонной системы напольного отопления. Также легкая деревянная система применяется, когда требуется уменьшить «пирог» теплого пола.
Этапы работы
Сначала надо подготовить направляющие, состоящие из обрезной строганной доски, ламинированной древесностружечной плиты/ЛДСП, древесностружечной плиты/ДСП и т. д. Ширина направляющих зависит от расстояния между трубами контуров теплого пола. Например, если шаг равен 150 (300) мм, ширина направляющих будет составлять 130 (280) мм. Концы направляющих должны быть округлены в сторону поворота трубы.
Далее приступают к монтажу направляющих. Их укладывают на черновой пол с разбежкой в 20 мм. В качестве крепежа здесь подойдут саморезы. Для первичной гидроизоляции используют полиэтиленовую пленку. Чтобы компенсировать линейное расширение при нагреве отопительной панели, по всему периметру помещения надо уложить демпферную ленту из вспененного полиэтилена шириной 50 мм и толщиной 8 – 10 мм.
Следующий этап – монтаж теплораспределительных пластин. В пазы, сформированные направляющими, укладывают теплораспределительные алюминиевые пластины. Не следует их укладывать внахлест, чтобы исключить образование утолщения.
Затем приступают к укладыванию труб в штампованные пазы алюминиевых пластин. Они будут передавать тепло алюминиевым пластинам, покрывающим не менее 80 % всей площади помещения. Такие пластины имеют очень высокую теплопроводность, благодаря чему аккумулируют, а затем перераспределяют тепло по всей поверхности пола.
После этого приступают к монтированию основания для чистового напольного покрытия. При использовании ламината, паркета, паркетной доски либо массива из так называемого «термодерева» поверх пластин надо настелить подложку толщиной 2 – 3 мм, выполненную из вспененного полиэтилена. Следует обязательно обратить внимание на то, чтобы паркет и паркетная доска подходили для систем напольного отопления. В случае использования керамической плитки или керамогранита, на алюминиевые пластины требуется уложить гипсоволокнистую плиту (ГВЛ, ГВЛВ) толщиной около 10 мм. Такие плиты прикрепляют к направляющим при помощи саморезов. Затем на клеевую основу можно монтировать чистовое напольное покрытие.
Деревянная система водяного теплого пола реечного типа
Вдеревянной системе водяного теплого пола реечного типа теплоизоляционный слой намного тоньше, чем в обычном, поэтому такой пол подходит для второго этажа и выше, но никак не для первого.
Выбор теплоизоляционного материала
В качестве теплоизоляции применяют минеральную или базальтовую вату, полистирол. Такие материалы хорошо справляются с поставленной задачей.
Этапы работы
Этапы работы практически такие же, как и при монтаже деревянного вида теплого пола. Такая система монтируется прямо на лаги (балки перекрытия) с шагом между ними не более 600 мм (при применении керамической плитки – не более 300 мм). Теплоизоляционный слой укладывают между лагами. Теплораспределительные пластины из алюминия укладываются с шагом 150, 200 и 300 мм. Там, где происходят самые большие теплопотери (большое остекление и т. п.), используют шаг в 150 мм (рис. 57).

Рис. 57. Реечный тип монтажа водяного теплого пола: 1 – теплоотражающая пластина; 2 – лаги; 3 – труба отопления; 4 – теплоизоляция
Полистирольная система водяного теплого пола
Такая система является самой легкой по весу из всех существующих на сегодняшний день. Плюсами такой системы являются отсутствие мокрых процессов, возможность эксплуатации сразу после окончания выполнения монтажа.
Выбор теплоизоляционного материала
Основа такой системы – плиты из полистирола 30 × 300 × 1000 с пазами. В них вкладывают теплораспределительные пластины из алюминия. Чтобы тепло от труб распределялось по всей поверхности пола равномерно, используют пластины из алюминия, предназначенные для шага укладки 150 и 300 мм. Они обладают специальным профилем, обеспечивающим плотное прилегание к трубе. Также потребуется полиэтиленовая пленка и влагостойкий гипсоволоконный лист либо многослойная фанера.
Этапы работы
Для начала требуется тщательно очистить от мусора и неровностей основание. Если есть необходимость, применить выравнивание с помощью заливки бетона.
Затем на подготовленное основание укладывают полистирольные плиты со специальными пазами для тепловой трубы. Укладку проводят по мозаичному принципу, что позволяет избежать в будущем эффекта выпуклости и вогнутости покрытия пола. Суммарная толщина слоя теплоизоляции, в которую входят дополнительный полистирол и полистирол настильной системы, должна составлять приблизительно 40 – 80 мм.
В скандинавских странах качество утепления определяют так: дом на сутки оставляют без отопления, температура в нем за это время должна понизиться только на 1 °С.
Пластины из алюминия укладывают в пазы полистирольных плит. Чтобы вся поверхность пола нагревалась равномерно, нужно покрыть теплораспределительными пластинами не менее 80 % площади помещения.
После этого на пластины из алюминия укладывают подложку из вспененного полиэтилена либо картона, которая помогает сгладить все неровности между участками, одни из которых свободны от пластин, а другие покрыты ими.
Последний слой – гипсоволоконный лист или многослойная фанера. На него впоследствии укладывают собственно чистовое покрытие.
Такая система теплого водяного пола универсальна: ее можно монтировать и на бетонное основание, и на дощатый пол, уложенный на деревянные лаги.
Теплоизоляция перекрытий
Когда в подвале гораздо холоднее, чем в самом доме, утепление перекрытий необходимо. Стоит обратить внимание, что теплопотери идут из теплого помещения в холодный подвал – сверху вниз. Теплоизоляция перекрытия должна обеспечивать температуру поверхности пола в близком значении к температуре воздуха внутри помещения. Допускается разница в 2 °С. Через перекрытия, точно так же, как через наружные стены, идет диффузия пара из теплого помещения внутри дома наружу. Поэтому чтобы защитить теплоизоляционный слой от увлажнения, пароизоляцию устраивают над теплоизоляцией, уложенной с более холодной стороны, т. е. подвала.
Всем известно, что ногам холодно на мраморном, бетонном и цементном полу, а, например, на паркете стоять намного теплее. Это объясняется тем, что мраморный и бетонный пол забирает много тепла и имеет показатель теплоусвоения в 3 раза больше, чем у деревянного паркета. Поэтому устраивая перекрытия над холодным подвалом, в комнатах, прихожей и коридорах первого этажа в качестве покрытия для пола применяют паркет, древесностружечные плиты для пола, линолеум, обладающий теплозвукоизоляционным слоем, полимерные плитки, т. е. те материалы, которые обладают небольшим теплоусвоением.
Деревянные перекрытия над подвалом
Выбор теплоизоляционного материала
В качестве утеплителя подойдет базальтовый материал либо штапельное стекловолокно, которое позволит полу «дышать». Но не следует забывать о том, что стекловолокно, находясь в сжатом состоянии, не будет выполнять свою теплоизоляционную функцию. Базальтовый материал обязательно надо тщательно расправить перед укладкой. Он негорючий, паропроницаемый, не повреждается насекомыми и грызунами. К тому же служит дольше, чем штапельное стекловолокно.
Этапы работы
Прежде чем начинать утеплять перекрытие или пол, следует убедиться в том, что подполье сухое. Для этого необходимо выполнить вентиляционные отверстия, позволяющие воздуху свободно циркулировать, а грунт в подполе тщательно утрамбовать, насыпав сверху песок слоем 15 – 20 см.
Деревянные балки в перекрытиях над цокольными этажами и подвалами также принимают на себя функции лаг пола. Чтобы уложить утеплитель, по всей их длине нужно прибить черепные бруски, а на них выполнить накат из досок или уложить влагостойкую плиту 05В. Доски следует укладывать плотно друг к другу, иначе утеплитель будет выдуваться через щели. После этого уложить пергамин либо водонепроницаемую пленку. Следующий слой – утеплитель. Поверх утеплителя прибивают бруски из дерева размером 50 × 50 мм непосредственно к балкам перекрытия или укладывают ориентированно-стружечные плиты ОЗВ-3, которые впоследствии будут служить основанием для чистового пола (рис. 58). Можно обойтись без брусков и выполнить черновой пол из необрезных досок, укладывая их поверх лаг. Надо обязательно оставить между стеной и полом вентиляционный зазор шириной 1 см, а после укладки выбранного напольного покрытия прикрыть его плинтусом.

Рис. 58. Схема утепления перекрытий первого этажа по деревянным балкам: 1 – черновой пол; 2 – чистовой пол; 3 – утеплитель; 4 – лаги пола; 5 – накат из досок; 6 – черепной брусок; 7 – воздушный зазор; 8 – песчаная засыпка; 9 – уплотненный щебнем грунт
Точно так же можно утеплить грунтовый пол. Тогда грунт уплотняют щебнем, засыпают песком, выравнивают, а затем укладывают лаги.
Перекрытия из железобетонных плит
Такие типы перекрытий также необходимо утеплять, поскольку через стыки железобетонных плит будет уходить немалое количество тепла. При правильной теплоизоляции потери удастся в значительной степени сократить.
Выбор теплоизоляционного материала
Какой материал выбрать для теплоизоляции железобетонного перекрытия? Следует исходить из конструкции полов. Если они нагружаемые, то их укладывают прямо на железобетон. В этом случае надо выбирать теплоизоляционный материал высокой прочности, обладающий низкой деформацией при сжатии, поскольку на него будут ложиться такие же нагрузки, как и на покрытие. Лучше всего с такой задачей справятся жесткие плиты из минеральной ваты на основе базальтового волокна. Они специально предназначены для полов. Хорош также экструзионный пенополистирол. Он обладает прочной цельной микроструктурой, состоящей из мелких, полностью изолированных друг от друга ячеек. Они непроницаемы, благодаря чему данный материал имеет очень низкую теплопроводность. К тому же ЭППС очень устойчив к деформации сжатия и долговечен, что делает его незаменимым при утеплении пола.

