
Сушка, защита, отделка древесины и все о лакокрасочных покрытиях

Илья Мельников
Сушка, защита, отделка древесины и все о лакокрасочных покрытиях
Сушка и защита древесины
Сушкой называют процесс удаления из древесины влаги испарением. Технологическое назначение сушки – предупреждение изменений деталей по размерам и форме в готовом изделии, улучшение технологических свойств древесины – чистоты распила, фрезерования, шлифования, повышения прочности склеивания и качества отделки покрытиями. Сушка повышает прочностные характеристики древесины.
Различают массовую и технологические сушки пиломатериалов и заготовок. В первом случае товарные пиломатериалы высушивают на лесопильных предприятиях до транспортной влажности – 22-23 % – в естественных условиях на открытых или закрытых складах или в специальных установках, где пиломатериалы обдуваются подогретым воздухом. В последнем случае пиломатериалы сушат до эксплуатационной влажности, среднее значение которой равно влажности воздуха, окружающего готовое изделие в условиях эксплуатации.
В некоторых случаях прибегают к комбинации способов сушки: сначала ведется атмосферная, затем камерная сушка.
Для изделий деревообработки эксплуатационная влажность древесины нормирована стандартами и техническими условиями.
В процессе механической обработки заготовок удаляется сухой поверхностный слой древесины, а при последующей сборке элементов и узлов изделий с клеем вносится влага, в результате чего влажность древесины увеличивается. По этой причине на практике материал из сушильных камер выгружают, когда влажность его на 2-3 % ниже влажности указанной в нормативно-технической документации.
В зависимости от назначения пиломатериалов и заготовок установлено четыре категории качества сушки. Первые три категории предусматривают сушку до средней эксплуатационной влажности готовых изделий. I категория дает возможность механически обрабатывать и собирать детали для высокоточных элементов изделий (производство лыж, несущих деревянных строительных конструкций и т. д.). II – механически обрабатывать и вести сборку в мебельном производстве, пассажирском вагоностроении и др. III – механически обрабатывать пиломатериалы для производства погонажных столярно-строительных изделий, в товарном вагоностроении и т. д.
Нулевая категория качества предусматривает сушку товарных пиломатериалов до транспортной влажности.
Камерная сушка
Ее проводят в специально оборудованных камерах при повышенной температуре, регулируемой влажности и интенсивной циркуляции воздуха.
Есть разные лесосушильные камеры. Их различают по агенту сушки – воздушные, паровые и газовые; по принципу действия – периодического и непрерывного действия; по способу циркуляции агента сушки – с естественной и принудительной. В воздушных и паровых камерах агенты сушки – влажный воздух и перегретый пар нагреваются калориферами. В газовых камерах – смесь влажного воздуха с топочными газами, получаемыми в специальных топках. Камеры периодического действия работают с остановками по окончании сушки для выгрузки и загрузки материала; камеры непрерывного действия работают без остановок.

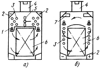
Рис. Схема камер с принудительной циркуляцией:
а – воздушной камеры с принудительной циркуляцией вентиляторами, б – воздушной камеры с эжекционной циркуляцией агента сушки; 1 – увлажнительная труба, 2 – приточно-вытяжные каналы, 3 – калориферы, 4 – вытяжная труба, 5 – вентиляторы, 6 – штабель, 7 – сопла

Рис. Камера непрерывного действия:
1 – шторная перегородка, 2 – калорифер, 3 – электродвигатель, 4 – вентилятор, 5 – приточная труба, 6 – выхлопная труба, 7 – вспомогательный вентилятор, 8 – рекуператор, 9 – заборная труба, 10 – штабеля пиломатериалов
В камерах с естественной циркуляцией происходит вертикальное перемещение агента сушки, скорость перемещения мала и срок сушки пиломатериалов значителен. В камерах с принудительной вентиляцией агент сушки перемещается с помощью вентиляторов, что заметно сокращает срок сушки и повышает качество сушки за счет равномерности влажности материала.
В камерах периодического действия на лесопильно-деревообрабатывающих предприятиях ведется сушка пиломатериалов до транспортной влажности, а также пиломатериалов и заготовок – до эксплуатационной.
Одним из условий высокого качества сушки является правильная укладка материала в штабеля, что значительно снижается процент брака от коробления, улучшается равномерность просыхания материала.

Рис. Способы укладки досок:
а – сплошная укладка, б – укладка со шпациями, в – укладка в штабель досок разной длины
При формировании сушильных штабелей число прокладок устанавливается в зависимости от породы древесины, толщины пиломатериалов и длины штабеля.
Прокладки по высоте располагают друг против друга, крайние укладывают заподлицо с торцами заготовок или пиломатериалов. Необрезные доски укладывают концами в разные стороны. Узкие, а также короткие доски помещают в середину, широкие и длинные – по краям штабеля. Стыкуемые заготовки укладывают не менее чем на двух прокладкам. Форма поперечного сечения штабелей должна быть прямоугольной, торцы досок выровнены по вертикали.
Размеры межрядных прокладок 25х40х1800 мм, отклонения по толщине не должны превышать 1 мм. В качестве прокладок допустимо использование самих заготовок, если их сечение не превышает 32х70 мм.
Режимы сушки рассчитаны с учетом возникновения и развития внутренних напряжений в материалах. Основная задача – удаление влаги из древесины в максимально короткое время без нарушения целостности древесины и дефектов.
Режимомсушки называют расписание температуры сушильного агента в зависимости от влажности древесины в камере. В зависимости от требований, предъявляемых к качеству древесины, пиломатериалы высушивают по режимам для низкотемпературного или высокотемпературного процессов.
Существует несколько видов режимов сушки: мягкие, нормальные, форсированные и высокотемпературные.
Мягкие режимы, обеспечивающие бездефектную сушку материала при полном сохранении естественных физико-механических свойств древесины, в том числе прочности и цвета, рекомендуются для сушки до транспортной влажности экспортных пиломатериалов, в отдельных случаях – для заготовок собственного потребления до эксплуатационной влажности.
Конец ознакомительного фрагмента.
Текст предоставлен ООО «ЛитРес».
Прочитайте эту книгу целиком, купив полную легальную версию на ЛитРес.
Безопасно оплатить книгу можно банковской картой Visa, MasterCard, Maestro, со счета мобильного телефона, с платежного терминала, в салоне МТС или Связной, через PayPal, WebMoney, Яндекс.Деньги, QIWI Кошелек, бонусными картами или другим удобным Вам способом.
Приобретайте полный текст книги у нашего партнера:

