
Ремонт и планировка квартиры
Чтобы придать интерьеру неповторимый вид, можно ввести в приготовленную смесь различные декоративные добавки.
Не стоит бояться развести большее количество материала, чем будет использовано: если закрыть пластмассовую емкость крышкой, разведенные обои могут храниться очень долго, несколько месяцев или даже более. А вот еще один вариант: хранение остатков разведенного материала в полиэтиленовом пакете.
Жидкие обои можно наносить на потолок с помощью:
– пластиковой терки;
– пульверизатора;
– малярного валика;
– кельмы из оргстекла (рис. 12).

Рис. 12. Кельма из оргстекла (размеры даны в мм)
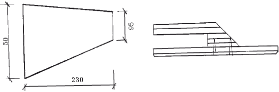
При отстутствии кельмы ее легко приготовить в домашних условиях. Для этого потребуется кусок оргстекла. Вырезают из него треугольник 5–6 см и привинчивают ручку.
Таким образом, жидкие обои наносят на потолок либо вручную (теркой, валиком, кельмой), либо механизированным способом (с помощью пульверизатора). В первом случае происходит набрасывание раствора на потолок и затем разравнивание его валиком или теркой. Малярный валик должен быть с жесткой шубой. С помощью рельефных валиков можно осуществить фактурную отделку. Накатывание рисунка следует производить через 4–7 ч после того, как обои были нанесены на потолок. Не забывают постоянно смачивать валики водой.
При распылении пульверизатором вам потребуется компрессор с рабочим давлением 0,4–0,5 МПа и производительностью не менее 400 л/мин, сечение сопла подбирают в зависимости от фактуры покрытия – от 5 до 10 мм. Можно регулировать поток при распылении изменением количества воды, добавляемой в материал.
Если решено облегчить свою задачу и воспользоваться пульверизатором, прежде всего следует нанести небольшой слой, покрывающий потолок всплошную. Затем, как только поверхность подсохнет, можно наносить окончательный слой уже достаточной густоты. Можно сэкономить на материале и покрыть потолок пульверизатором только один раз, однако при нормальной плотности покрытия в некоторых местах возможно его сползание в процессе набрызга.
Жидкие обои могут значительно сократить материальные и физические затраты, поскольку, применяя это покрытие, можно обойтись и без штукатурных работ. Для этого поверхность потолка покрывается в два этапа. Сначала жидкими обоями следует зашпатлевать швы, например в листах гипсокартона, кирпичной кладки и пр. Затем, дождавшись, когда поверхность высохнет, наносят второй декоративный слой.
Если наносят обои в достаточно прохладной комнате (при температуре менее 10 °С), лучше всего сразу внести в комнату нагревательный прибор типа калорифера. Кстати, можно его оставить там же для того, чтобы ускорить процесс высыхания. Для этой же цели можно устроить в комнате сквозняк или установить вентилятор – словом, любые средства, которые так не «любят» обычные обои. А вообще, время высыхания покрытия в комнате с температурой около 21 °С – 2–3 ч.
В зависимости от того, в каком состоянии находятся потолки, 1 кг сухой смеси можно покрыть до 3 м2 площади.
При проведении небольшого ремонта в квартире поврежденные места покрытия следует обильно смочить водой, удалить, после чего нанести свежеприготовленный слой. Если проводят только легкий косметический ремонт, можно только немного освежить покрытие с помощью любой водно–дисперсионной краски и красящего наполнителя.
При желании можно перенести обои в другое помещение. Для этого покрытие следует обильно смочить водой, аккуратно снять шпателем, уложить в пластмассовую емкость, размочить в воде и нанести на другую поверхность. А можно оставить на несколько месяцев в сухом виде: добавив другие пигменты, обои можно использовать вторично.
Отделка потолка винистеном и пенопленом
Винистен – поливинилхлоридный рулонный материал с печатным рисунком и рельефной поверхностью, окрашенный в один или несколько цветов; может имитировать ценные породы древесины. Ширина рулона – около 120 см, длина – 12 м и более.
Для наклеивания этого материала на потолок требуется специальный зубчатый шпатель, которым наносится тонкий слой клея на тыльную сторону подготовленных полотнищ. Материал довольно тяжел, и клей не сможет удержать его сразу после нанесения, поэтому полотна дополнительно закрепляют с помощью деревянной рейки и маленьких гвоздей, вбитых в верхней части на одну треть своей длины в штукатурку. Примерно через сутки планку и гвозди можно снимать.
Аналогичным образом приклеивают и пеноплен. Слой клея, наносимого на тыльную сторону этого материала, должен быть более густым. Очень удобна самоклеящаяся пленка. Наклеивают ее так. Снимают с подготовленного полотнища защитную бумагу на участке 8–10 см и закрепляют клеящей поверхностью. Затем снимают с полотнища защитную бумагу по всей длине, отклеивают от потолка прикрепленную часть и проверяют ее по вертикальной линии. Если в процессе приклеивания образовались морщины или пузыри, пленку отклеивают и наклеивают вновь, после чего тщательно разглаживают ветошью. Второе полотнище наклеивают внахлест с напуском на первое на 5–10 мм, обращая кромки в сторону окна, чтобы шов не давал тени.
Дефекты потолков, оклеенных обоями
Пузыри и морщины на обоях появляются вследствие применения крепкого клейстера для тонких бумажных обоев, неаккуратного разглаживания, замедленного высыхания. Исправить этот дефект невозможно. Придется заново переклеивать полотно.
Несовпадение рисунка на некоторых полотнах. Скорее всего, в процессе работы допущена ошибка, исправить которую можно, только переклеив эти полотна.
Полное или частичное отслаивание возможно в том случае, если обои наклеены на поверхности, ранее окрашенные клеевыми или известковыми составами, или же поверхность потолков не затерта.
Также среди возможных причин можно отметить применение жидкого клейстера, повышенную температуру воздуха во время оклеивания. Исправление этого дефекта возможно только после удаления старой краски, использования более густого клейстера и тщательного разглаживания.
Все другие дефекты – неправильное расположение полотен, заметные швы обоев, рваные кромки на полотнах и просветы между ними – можно исправить, переклеив эти участки.
Многоуровневые потолки
Еще сравнительно недавно ремонт потолков проводился одинаково: сначала недостаточно ровный потолок штукатурили, потом выравнивали с помощью шпатлевки, окрашивали в белый, реже – в светло–голубой или светло–зеленый цвет. Затем появились новые технологии отделки – многоуровневые (или разноуровневые) потолки.
В первое время дизайн таких покрытий оставлял желать лучшего: не хватало специалистов по монтажу; идеи авторов данных потолков были очень оригинальными, однако не всегда подходили для жилых помещений; строительные материалы, используемые для устройства многоуровневых потолков, были далеко не лучшего качества.
Разноуровневые потолки помогают решить многие эстетические и технические проблемы. Наиболее стильные интерьеры создаются без использования верхних уровней.
Потолки с верхним уровнем применяют с тщательной проработкой рисунка в плане и точными расчетами высоты конструкции.
Ранее многоуровневые потолки устраивали в основном в офисах, больницах и т. д.
Во многом распространению потолков данного вида способствовало появление на рынке стройматериалов натяжных потолков и гипсокартона, относительно недорогих и не имеющих ограничений по конфигурациям материалов.
Многоуровневые потолки применяют в следующих случаях:
– для скрытия неровностей и дефектов базового потолка (рис. 13): часто перепады бывают настолько заметными, что замаскировать их иначе практически невозможно;

Рис. 13. Многоуровневый потолок для скрытия дефектов базового покрытия
– для прикрытия систем кондиционирования, электропроводки, воздуховодов, фреонопроводов, труб водоснабжения, отопления (рис. 14); в этом случае многоуровневый потолок – идеальное решение.

Рис. 14. Многоуровневый потолок для прикрытия технологических элементов
Многоуровневый потолок помогает также решить проблему низких потолков (рис. 15).

Рис. 15. Создание визуально высокого потолка с помощью многоуровневых потолков
Специалисты по интерьеру предпочитают использовать следующий прием: если уровень потолка в прихожей опустить, а в гостиной сохранить прежним, при входе в нее кажется, что пространство будто расправлено. При этом основной уровень потолка в гостиной дополнительно выделяют с помощью подсветки, светлых оттенков потолочных обоев и красок, а также текстурой.
Зонирование квартиры
При отделке квартир очень популярен способ зонирования отдельных помещений. Это особенно актуально для современных частных домов, построенных по принципу плавного перетекания одной комнаты в другую без стен, в результате чего получается единая пластическая структура.
Таким образом, вместо прежней системы с неудобными коридорами, ведущими в отдельные комнаты, дизайнеры совместно с архитекторами разработали систему зонирования помещений. Согласно этому методу все жилое пространство символически делится на две зоны: частную и общественную.
В данном доме функциональные зоны принято выделять отделкой пола, стен, освещением. При этом далеко не последнюю роль играет многоуровневый потолок. Например, овал на потолке может повторить овал стола в столовой (рис. 16).

Рис. 16. Решение многоуровневого потолка в столовой
Примерно по такому же принципу следует выделять ванную комнату, зимний сад, барную стойку и даже проход между помещениями.
Довольно часто очертания разноуровневых потолков подчеркиваются полом. Это могут быть, например, подиум (рис. 17) или сочетание различных материалов для пола, или материалы разных оттенков.

Даже если ваш потолок идеален, многоуровневый потолок можно использовать просто в качестве украшения интерьера. Применяют самые разнообразные формы конструкций данных потолков:
– геометрические формы;
– гнутые, фантастические формы;
– сочетания кривой линии и треугольника;
– перепады уровней относительно базового.
При устройстве многоуровневых потолков не менее часто используют лепнину (рис. 18), карнизные системы или другие композиции.

Рис. 18. Решение многоуровневого потолка с лепниной и подсветкой
Многоуровневый потолок расширяет возможности света. В данном случае он оказывает влияние на весь интерьер в целом: мягкий свет, высвечивающий весь базовый потолок, одновременно отражается от него и выгодно подчеркивает все пространство (рис. 19). Вообще нужно сказать, что при устройстве данных потолков освещение занимает далеко не последнее место и расположить правильно источники освещения довольно непросто: светильники следует спрятать, не заглубив их, в противном случае света будет недостаточно.

Рис. 19. Применение многоуровневых потолков с отраженным светом
В заключение добавим, что, работая с многоуровневыми потолками, следует учитывать также дизайн мебели, стен, полов.
Акустические потолки
Все мы живем в мире звуков: встав с постели после сна, включаем телевизор, магнитофон, радио, с утра начинает звонить телефон или пейджер. На кухне к этим звукам присоединяется шум от бытовой техники. К сожалению, почти все мы привыкли никак не реагировать на данные звуковые раздражители. В результате к 30 годам многие страдают от хронической усталости, гипертонии и неврозов. Если невозможно решить проблему громких звуков на улице, то в своей квартире или в офисе можно контролировать уровень шума.
Вы заметили, наверное, что, если повесить на стену ковер, а на пол постелить ковролин, в комнате станет намного тише? Уровень шума можно регулировать также и с помощью потолков, отделав их современными звукопоглощающими материалами. Чаще всего звукоизоляционные (акустические) потолки бывают подвесными или натяжными. Многие производители подвесных панелей – такие, как «Armstrong», «Eсophon», «Akusto», «Owa», «Rockfon», «Luxalon», – выпускают акустические потолки. Плиты потолков производства фирм «Armstrong», «Rockfon», «Owa» сделаны из минерального волокна, а «Eсophon», «Akusto» – из пористой стекловаты, считающейся одним из лучших звукопоглощающих материалов.
Потолки фирмы «Luxalon» представляют собой алюминиевые перфорированные потолки, уменьшающие так называемый эффект эха и снижающие общий уровень шума в жилом помещении.
Акустические потолки обладают и другими свойствами:
– отвечают самым высоким требованиям пожаробезопасности;
– относятся к группе трудносгораемых покрытий: стекло и минеральное волокно, которые входят в материал панелей, не горят;
– потолочные плиты акустических потолков – прекрасный утеплитель: после монтажа такого потолка (рис. 20) в помещении становится не только тише, но и гораздо теплее.

Следует знать, что подбор акустических материалов должен осуществляться специалистом–акустиком.
Специалист также может предложить идеальный вариант только для вашей квартиры, поскольку при монтаже акустических потолков зачастую используется комбинация нескольких видов потолков. Для низких частот подходят одни потолки, для высоких – другие.
Подробнее об устройстве подвесного потолка читайте в главе «Реечные потолки».
Уход за акустическими потолками
За акустическими подвесными потолками (рис. 21) необходимо тщательно ухаживать, особенно в том случае, если они на кухне.

Рис. 21. Акустический потолок
Существует два способа чистки потолочных панелей: сухой и влажный. При чистке сухим способом вам потребуется пылесос. Заранее поинтересуйтесь, возможно ли протирать ваше покрытие влажной ветошью (это и есть влажный способ).
Натяжные потолки
Идея натяжных потолков возникла в глубокой древности. Декорирование поверхности потолка тканью, в основном шелковой, применялось античными мастерами.
Ткань подбиралась под интерьер всего помещения, что выглядело очень красиво. Подобные тканевые потолки могли позволить себе только очень богатые люди, ведь материя – недолговечный материал, с течением времени выцветающий и провисающий в некоторых местах. В результате мастерам приходилось ежегодно менять покрытие.
Натяжной потолок применялся и на Кавказе: в Армении в ХVII в. тонкую хлопковую ткань пропитывали водной суспензией мела и натягивали на специальный, прибитый к стенам каркас.
В процессе высыхания ткань давала усадку, в результате чего потолок выглядел идеально. Однако и такой способ не приносил желаемого успеха: с течением времени мел начинал осыпаться.
Кстати сказать, подобные матерчатые потолки используются в Армении до сих пор. Правда, в качестве окрасочных составов армянские мастера применяют специальную водорастворимую краску для потолков.
Сохранились свидетельства, что во время Крымской войны в севастопольских госпиталях, для того чтобы уберечь раненых от осыпающейся штукатурки во время артиллерийского обстрела, натягивали простыни под потолком.
Конструкция натяжных потолков была разработана еще в 50-х гг. ХХ в. во Франции. Фернанд Шеррер, один из работников фирмы «Barrisol», занимавшейся в то время производством алюминиевого профиля, во время оформления витрины, натянул между двумя профилями прочную пленку. Эту конструкцию решили затем установить на потолок.
Примерно тогда же технология натяжных потолков появилась и на Скандинавском полуострове: мастера взяли на вооружение метод античных строителей, заменив обычную ткань тонкой пластиковой пленкой различных оттенков.
Следует сказать, что наибольшее распространение на территории Европы натяжные потолки получили только в середине 80-х гг. ХХ в.
Потолки данного типа нашли широкое применение даже в медицинских учреждениях, поскольку обычные оштукатуренные и подвесные потолки способствуют распространению пыли и микробов. Популярность данного вида строительного материала из года в год только увеличивается.
Классификация натяжных потолков
Натяжные потолки представляют собой прочную декоративную пленку ПВХ без добавления кадмия, толщиной не более 0,17 мм, натягиваемую на специальный каркас (багет) из пластика или алюминия и закрепляемую с помощью специальных замочков.
Натяжные потолки различаются по двум признакам:
– по материалу полотна;
– по способу крепления к основному потолку.
Выпускают натяжные потолки из мягкого поливинилхлорида (ПВХ) без содержания кадмия и полиэфирной ткани, пропитанной полиуретаном. Это потолки почти всех известных фирм, исключая «Clipso». Ко второй группе относятся потолки фирмы «Clipso».

Рис. 21. Установка потолка фирмы «Clipso»: а – крепление багета; б – развешивание полотна; в – заправка полотна; г – натяжка; д – обрезка; е – установка осветительных приборов
По способу крепления натяжные потолки делятся на два больших класса: гарпунные и безгарпунные.
При гарпунном способе по периметру полотна приваривают окантовку из более жесткого ПВХ, имеющую в поперечном сечении форму крючка-гарпуна (отсюда и название).
К классу гарпунных натяжных потолков относятся материалы всех известных фирм – «Barrisol», «Extenzo», «Сarre Noir», «Novelum», а также новичков на российском рынке строительных материалов – фирм «DPS», «Decomat», «Deckenfest».
Класс безгарпунных потолков, в свою очередь, делится на подклассы:
– потолки клинового крепления;
– потолки кулачкового крепления;
– потолки крепления гибким шнуром.
В первом случае края нагретого и расправленного полотна зажимают на багете распорным профилем примерно так же, как салфетку в пяльцах.
При кулачковом способе поливинилхлоридную пленку закрепляют между двумя полукруглыми поверхностями «кулачков», входящих в крепежный профиль (рис. 22).

Рис. 22. Устройство потолка кулачкового крепления: а – крепежный профиль; б – полотно; в – фиксирующий клин; г – багет
«Кулачки» раздвигаются при проталкивании пленки шпателем, однако при попытке вытянуть пленку назад они автоматически сжимаются. Крепежный профиль позволяет сократить потерю высоты помещения до 8 мм.
Кулачковый способ используют при установке потолочных систем фирм «Prestige», «Design» и «Skol».
Способ крепления гибким шнуром применяют при установке полиэфирных потолков фирмы «Clipso».
Самые популярные гарпунные потолки изготавливает компания «Barrisol» начиная с 1976 г. Считается, что по качеству и разнообразию моделей потолкам фирмы «Barrisol» нет равных.
Среди недостатков отмечается только малый выбор фактур. Кроме того, довольно много времени тратится на изготовление полотна необходимого размера и доставку его из Франции: дело в том, что полотна вырезают по точным размерам помещения на заводе–изготовителе.
Самый богатый выбор фактур у продукции фирмы «Newmat» – примерно 15. Помимо общих для всех производителей матовых, сатиновых и лаковых потолков, полотна фирмы «Newmat» бывают следующей фактуры:
– матовое стекло;
– бархат;
– фантазии природы;
– рельеф и многие другие.
Также новаторской является и технология «Newg-raphic» – нанесение любого рисунка на матовое полотно натяжного потолка, причем изображение проникает в структуру материала.
В последние годы расширена коллекция готовых изображений. Известно, что теперь их ровно 125. Интересно, что изображения делают как в виде картин и некоторых декоративных элементов, так и в виде отдельно стоящих фигур по всему полотну потолка.
На натяжные потолки фирмы «Newmat» дается 10-летняя гарантия качества и цвета изображения.
В начале 2003 г. на рынке строительных материалов появились плетеные натяжные потолки «Battinewline» французской фирмы «Newmat». Оригинальный дизайн, изящная декоративность, выносливость к механическим повреждениям и низким температурам, а также воздухопроницаемость сразу же поставили новинку на одно из первых мест.
Эта фирма не так давно выпустила еще один «хит» – акустические натяжные потолки с матовой фактурой, немного утолщенной, в которой за счет микроперфорации были изменены акустические свойства отражающей поверхности. Дополнительно рекомендуется установить слой стекловолокна под акустическими потолками.
Декоративные и технические характеристики натяжных потолков фирмы «Extenzo» в последние годы становятся все более и более популярными. Следует знать, что на российском рынке строительных материалов потолки этой фирмы присутствуют с 1994 г., поэтому многие архитекторы и дизайнеры стараются использовать только их.
Среди представленных на рынке стройматериалов полотна натяжных потолков фирмы «Carre Noir» не так давно стали занимать одно из первых мест. На выбор представлено более 60 цветовых оттенков и 6 структур потолков.
На наш взгляд, натяжные потолки голландской фирмы «Mondea» более удобны в применении: они могут быть установлены цельным куском без швов, с фиксацией только по периметру потолка.
Подробнее о натяжных потолках фирмы «Mondea» мы расскажем чуть позже.
Особо хотелось бы отметить потолки французской фирмы «Clipso», изготовленные из полиэстера со специальной полиуретановой пропиткой, белого цвета, которые в случае необходимости окрашиваются любыми составами для потолков.
Помимо этого, технология монтажа такого потолка довольно проста: не требуется ни специальных приспособлений для нагревания потолка, применяемых при установке других потолочных систем, ни особых умений и навыков.
Устанавливают специальный багет на потолке, если он достаточно ровный, или на стенах, если требуется скрыть некоторые дефекты базового потолка. Затем вместе с помощником разворачивают полотно и натягивают его к углам багета, закрепив защелками–клипсами (рис. 23).
Существуют и другие отличия полотна фирмы «Clipso» от некоторых других потолочных систем:
– бесшовность (ширина до 4,6 м);
– пожаробезопасность;
– морозоустойчивость.
Достоинства натяжных потолков
В последние годы все больше людей решается установить в квартире натяжные потолки. Несмотря на то что сам материал стоит достаточно дорого, хозяева убеждаются в том, что он себя окупает. Прежде всего во время установки потолка не нужно двигать мебель или укрывать ее полиэтиленовой пленкой от пыли.
Монтаж натяжного потолка не займет много времени, например установка потолка фирмы «Аrmstrong» занимает в 3 раза больше времени, а традиционное оштукатуривание потолка и последующая его покраска – в 10 раз больше.
Натяжной потолок имеет следующие достоинства:
– скрывает неровности, потеки и другие дефекты основного потолка;
– практически не требует дополнительного ухода;
– позволяет сэкономить средства для регулярного косметического ремонта (покраска);
– гарантия на каждое полотно натяжного потолка – не менее 10 лет;
– выдерживает большой объем воды в случае затопления с верхнего этажа;
– не пропускает пыли;
– полотно натяжного потолка абсолютно безвредно, его можно применять и в медицинских учреждениях;
– поверхность натяжного потолка выглядит как обычный твердый потолок;
– натяжные потолки легко отмываются от жира и копоти;
– прослойка воздуха между базовым потолком и натяжным создает теплоизоляционный эффект;
– скрывает газовые, водопроводные и вентиляционные коммуникации;
– возможна установка потолка под наклоном или в разных плоскостях;
– в случае необходимости потолок легко демонтировать, не испортив при этом покрытия.
Главные требования, предъявляемые к натяжному потолку:
– прочность;
– легкость;
– экологическая безопасность;
– отсутствие запаха;
– хорошая окрашиваемость в любой цвет.
Этим требованиям вполне соответствуют следующие материалы, из которых изготавливают полотна для натяжных потолков:
– пленка ПВХ;
– полиэфирная ткань.
При изготовлении современных натяжных потолков могут использоваться новейшие оптико–волоконные технологии «Supervision» (США), хрустальные рассеиватели «Swarovski» и российско–французская технология «Diplin» («свет на кончиках пальцев»).

