
Водоснабжение и автоматизированные системы полива для чудо-урожая

Кирилл Владимирович Балашов
Водоснабжение и автоматизированные системы полива для чудо-урожая
Для получения большого урожая необходимо регулярно поливать сад и огород. О том, как обеспечить загородный участок водой, доставить ее к каждой грядке и правильно поливать растения без особого труда, вы узнаете из этой книги.

Введение
Эта книга посвящена одному из наиболее важных моментов земледелия – поливу. Большая часть сельскохозяйственных культур в зависимости от того, в каких условиях они произрастают, будет требовать для себя свой собственный режим полива. К примеру, плодовые деревья нужно полить примерно 5 раз за один сезон, а если капусту оставить без ежедневного орошения, то растение попросту погибнет. Слишком большое количество влаги приводит к процессам гниения корневой части растений. Использовать для полива холодную воду не следует, так как из-за нее рост культур замедлится, а урожайность значительно понизится.
При поливе принимают во внимание многие важные моменты: температуру воды, насколько глубоко от поверхности находятся грунтовые воды, общую увлажненность почвы, а также сроки, правила и цель вегетационного полива.
Для того чтобы обеспечить растениям адекватный полив в летнее время используются автоматизированные поливальные системы, а также различные конструкции и насадки для полива. Особенно полезны они в засушливую погоду, когда растения цветут, завязывают и наливают плоды и нуждаются в регулярном увлажнении почвы.
Автоматизированные системы полива с микропроцессорами стоят дорого. Однако их можно заменить самодельными конструкциями, которые доступны всем. Их можно смастерить своими руками и подстроить под планировку своего огорода.
Если у вас небольшой участок и на нем располагаются несколько грядок рядом с домиком, то можно обойтись без автоматизированных установок. Поддерживать почву во влажном состоянии и поливать растения в ваше отсутствие на даче можно с помощью некоторых хитростей. Также для получения хорошего урожая необходимо знать когда и как поливать различные овощные и плодово‑ягодные культурные растения.

Водоснабжение загородного участка
Правила и нормативы для организации водоснабжения
При организации наружного водоснабжения, в том числе поливных систем, руководствуются специальным нормативным документом – СП 40– 102‑20‑00. В нем изложена информация о глубине закладывания труб, нормах потребления воды и недопустимых влияниях трубопроводов на биосферу.
Из-за воздействия антропогенных факторов на природу может произойти нарушение связей между окружающей средой и животным миром.
Строительство и использование системы водоснабжения и конструкций, которые им сопутствуют, необходимо осуществлять с учетом дальнейшего развития объекта, а также влияния на окружающую среду. Проект водопровода составляется на базе системы: сооружение – объект – водная среда. Если при разработке проекта не учитывать указанную систему, то водные ресурсы начнут быстро истощаться. Чтобы правильно использовать природные ресурсы, проводят экспертизу по установлению гидрологической и гидрогеологической обстановки в конкретной местности. Это требуется проводить для недопущения загрязнения источников воды в ходе эксплуатации объекта.
Трассировка напрямую зависит от объекта, куда будет доставляться вода, существующего рельефа места, естественных или искусственных препятствий для прокладки водопровода. К последним относят реки, канавы, балки, дороги.
Одним из самых эффективных приемов, связанных с защитой окружающей среды от загрязнения, является образование зон санитарной охраны. В зависимости от важности источника воды проектируемая санитарная зона будет предусматривать строгий санитарный или ограниченный режим.
Составленный проект водопровода вместе с проектом по созданию санитарных зон сначала утверждается в государственной санитарной инспекции, а затем в местных законодательных и контролирующих органах: комитете по архитектуре и комитете по охране природных ресурсов.
Зоны санитарной охраны проектируются, прежде всего, для источников водоснабжения, из которых производится забор воды для нужд населения, а также для водоемов, пополняющих запасы подземных вод.
При строгом санитарном режиме водоема в месте забора воды, а также на участке расположения основных водопроводных сооружений (к ним относятся водозабор, очистная и насосная станции, резервуары) категорически запрещено использование химикатов, минеральных или органических удобрений, выпас скота, ловля рыбы, стирка белья, а также любые виды построек.
Согласно этому же нормативному документу перед прокладкой трубопровода производят его трассировку, т. е. на топографической карте местности наносят место расположения, глубину залегания труб.
Водопроводная сеть включает в себя магистральные и распределительные линии. Магистральные трубы используют для доставки всей массы воды к наиболее удаленным потребителям, распределительные нужны для непосредственной подачи воды к дачным участкам. Когда производится трассирование водопроводной сети, принимают во внимание ряд аспектов.
1. Центральные магистральные линии направляют по самому короткому расстоянию к самым крупным потребителям или же к водонапорной башне.
2. Чтобы водопровод надежно функционировал, прокладывают не менее двух магистральных линий, связанных между собой. Это необходимо на случай выхода из строя какого-либо из участков, чтобы потребители не остались без воды на время ремонтных работ.
3. Водопроводные линии прокладывают равномерно по всему объекту водоснабжения.
4. Чтобы получить необходимое давление в распределительной сети, магистральные линии прокладывают по возможности на наиболее высоких участках местности.
5. Автомобильные или железные дороги магистральные трубопроводы пересекают строго под прямым углом.
6. Водопровод по всем нормативам прокладывается по обочинам дорог и параллельно линиям застройки вне асфальтовых или бетонных покрытий. Вполне допустимо прокладывать водопроводные сети параллельно другим коммуникациям.
7. При трассировке учитывают естественные преграды, которые будут препятствовать укладке труб.
8. Водопроводные сети делаются кольцевыми, тупиковые линии сооружают в хозяйственно-питьевых водопроводах, если диаметр трубы не превышает 100 мм.
Поиск воды на участке
Вполне допустимо заменить централизованное водоснабжение на приусадебном участке автономным. Этот вопрос можно решить, создав запруды в ближайшем ручье или же пробурив скважину до водоносного слоя. В любом случае нужно будет провести геологическую экспертизу на дачном участке и выяснить глубину залегания водоносного слоя, иначе потраченные финансы и труд окажутся напрасными.
О строении почвы нужно иметь определенную информацию:
• глины или пески должны находиться сразу же под плодородным слоем почвы;
• на какой глубине происходит смена первого слоя вторым;
• обязательно выясняют толщину второго слоя, а также определяют, из каких грунтов или осадков он состоит;
• точно устанавливают глубину залегания грунтовых вод, при этом нужно учитывать время года и погодные условия, обильность водоносного слоя.
Эту информацию можно установить и самостоятельно за счет бурения скважины на самом участке, а также опросив соседей по участку.
Существует несколько главных разновидностей грунтовых вод:
• верховодка или непосредственно грунтовая вода;
• межпластовые ненапорные и напорные залегания;
• самоизливающиеся или артезианские воды (рис. 1).

Рисунок 1. Классификация грунтовых вод
Верховодка является верхним горизонтом подземных вод. Ее уровень в большинстве случаев находится около поверхности земли. Именно такие воды дачники чаще всего используют для полива.
Из-за слишком близкого залегания этих вод у них есть целый ряд недостатков:
• в зависимости от времени года глубина залегания может в значительной степени варьироваться – от непосредственного выхода на поверхность до ухода на глубину до нескольких метров. В засушливый период, когда вода больше всего необходима для полива сельскохозяйственных культур, верховодка может исчезнуть полностью;
• такие воды подвергаются сильным загрязнениям в результате выпадения кислотных дождей, использования разного рода ядохимикатов или же минеральных и органических удобрений. При достижении определенного уровня загрязненности такую воду категорически запрещено использовать для полива.
Межпластовые воды находятся значительно глубже по сравнению с верховодкой, они перекрыты слоем глины большей или меньшей толщины. Благодаря этому они не имеют таких серьезных недостатков, которые были рассмотрены у предыдущего вида почвенных вод. Химический состав межпластовых вод в течение всего года остается относительно постоянным, как и глубина их залегания.
Межпластовые воды могут быть безнапорными, т. е. после бурения скважины вода останется в пределах своего водоносного слоя, не поднимаясь при этом выше. Однако бывает, что эти воды понимаются на достаточно большую высоту и по скважине могут выходить на поверхность. Такой эффект происходит, когда область питания вод находится выше уровня земли, где была пробурена скважина.
Главным недостатком данного метода является возможное близкое к поверхности залегание верховодки. Лучше всего проводить такие исследования в наиболее засушливые месяцы года – июль и август, когда верховодка уходит на значительную глубину или же вовсе пропадает.
Межпластовые воды бывают самоизливающимися, когда они сами выходят на поверхность, образуя ключи. Когда же они находятся на большой площади и имеют хороший напор, их называют артезианскими.
Поиски почвенных вод могут быть как инженерными, так и нетрадиционными. В первом случае бурят скважину или же проводят геофизические изыскания. Вторые методы также близки к геофизическим, но в этом случае не проводят никаких изысканий. Наиболее распространенным методом такого поиска воды является следующий: берут два обыкновенных сварочных электрода, сгибают их в виде буквы «Г» и держат в руках. При перемещении по участку определяют место, где они перекрестятся, – именно в этом месте почвенные воды наиболее близко подходят к поверхности.
Если вода разыскивается исключительно для нужд полива, то в качестве ее источника можно использовать обыкновенный колодец, вырытый в самом нижнем месте приусадебного участка. При этом дачник должен учитывать, что в таком колодце будет находиться лишь одна верховодка со всеми ее недостатками, которые были рассмотрены ранее.
Если же вода будет предназначена еще и для питьевых нужд, то необходимо добраться до почвенных вод глубокого залегания. Для этого проходят самый близкий к поверхности слой глинистого грунта. Делают это самыми разными методами:
• экскаватором, в случае если глубина залегания почвенных вод не превышает трех-четырех метров;
• вручную с помощью лопаты, кирки или лома;
• путем бурения скважины.
Если дачник решил рыть колодец самостоятельно, то ему придется учесть один момент: неожиданно он может вскрыть уровень напорных межпластовых вод – а это очень опасно для жизни. Поэтому нужно предусмотреть быструю эвакуацию из колодца.
На практике для поливных нужд чаще всего используют колодцы, накапливающие верховодку. Соорудить такую конструкцию несложно, а эффективность от ее использования будет достаточно высокой.
Типы и конструкции колодцев
В последние годы активное развитие индивидуального и коллективного садоводства и увеличение количества частных жилых домов вновь сделали актуальной проблему водоснабжения, так как централизованные водопроводы есть далеко не везде. Зачастую именно сооружение колодца является наиболее быстрым, простым и дешевым решением такой проблемы.
Если возможности индивидуального строительства во многом ограничены отсутствием техники, материалов и инструмента, то изготовление колодца производят старыми методами.
Перед тем как начать строительные работы, проводят простые изыскания, о которых рассказывалось выше. Если поблизости имеются действующие колодцы или открытые водоемы, то установить глубину залегания воды еще легче.
По существующим санитарным нормам колодец размещают не ближе, чем на 20–25 м от источников разного рода загрязнений: бань, навозных и компостных куч, кладбищ, скотных дворов. Конструкцию устанавливают на ровной поверхности, так как если ее разместить на уклоне, она будет забирать в себя и поверхностные грунтовые воды.
Если место выбрано, то необходимо получить разрешение на его строительство у санитарной эпидемиологической станции. Затем производят выбор конструкции колодца: шахтный или трубчатый. Шахтный колодец всегда больше по размеру – 0,8–1,2 м, поэтому его вполне можно вырыть с помощью лопаты и лома. Однако приток воды в колодец почти никогда не зависит от поперечного сечения колодца. Поэтому вполне допустимо вместо такой массивной конструкции изготовить шахту диаметром до 300 мм. Это позволит сократить количество извлеченного грунта, а также снизит трудозатраты. Стенки скважины в этом случае закрепляются с помощью обсадной трубы, и в итоге получается трубчатый колодец. В него нельзя будет спуститься для прочистки при помощи лопаты, придется привлекать для этой цели специальные инструменты.
Если работа выполнена с соблюдением всех технологических особенностей, то обе конструкции прослужат достаточно долго. При изготовлении как шахтного, так и трубчатого колодца потребуется проведение специальных подготовительных работ, сооружение подъемных механизмов и инструментов.
Окончательное решение принимает сам владелец участка, решивший сделать колодец. Чем глубже залегает вода, тем больше доводов в пользу бурения шахты, но это допустимо делать лишь в случае, если почва не содержит в себе большого количества каменных включений. Бурить скважину самодельным инструментом через камни, находящиеся на большой глубине, – занятие очень трудоемкое и зачастую бесполезное, поэтому в данном случае разумнее изготовить шахтный колодец. Сразу продумывают, как вода из колодца будет поступать на поверхность земли. Если колодец шахтный, то можно использовать не только насос, но и обыкновенное ведро с веревкой; в трубчатом колодце такая возможность полностью исключена – придется применять исключительно насос.
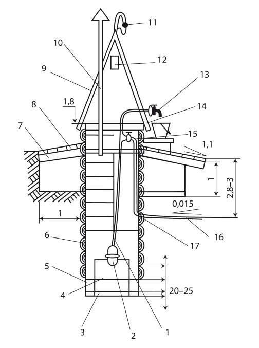
Устройство шахтного колодцаШахтные колодцы бывают трех основных типов: несовершенный, или неполный; совершенный, или полный; совершенный с зумпфом. Тем не менее, общее их устройство примерно одинаковое (рис. 2).

Рисунок 2. Устройство шахтного колодца с деревянным срубом, оборудованного вибрационным насосом: 1 – шланг; 2 – вибрационный насос; 3 – песок; 4 – щебенка; 5 – коробка; 6 – сруб деревянный; 7 – глиняный замок; 8 – отмостка; 9 – будка; 10 – вентиляционный стояк; 11 – ввод электросети; 12 – застекленное окно; 13 – излив с краном; 14 – крышка; 15 – запорный вентиль; 16 – подземный трубопровод; 17 – дренажное (сливное) отверстие
Конструкция несовершенного колодца отличается от остальных тем, что в ней крепление шахты не доходит до подстилающего пласта грунта, который находится значительно ниже по сравнению с водоносным слоем. Вода в этом случае поступает в конструкцию через дно и боковые стенки. Совершенная конструкция проходит через водоносный и опирается на подстилающий слой. Вода здесь поступает в колодец только через стенки колодца. Зумпф – это специальный резервуар, который делается в подстилающем слое. Такая конструкция предназначена для двух целей: увеличения запаса воды и формирования осадка, так как грунтовые воды далеко не всегда бывают чистыми (рис. 3).
Боковые фильтры в этом случае можно не устанавливать, так как через стенки будет поступать не слишком много воды, к тому же сделать их очень трудно.
Когда разрабатывают конструкцию водоприемной части, учитывают суточную потребность в воде. В противном случае вода начнет застаиваться в колодце, будет протухать и цвести. Если колодцем предполагается пользоваться не ежедневно, то лучше всего выбрать несовершенную конструкцию, чтобы вода поступала в колодец через донный гравийный фильтр.

Рисунок 3. Устройство совершенного шахтного колодца с зумпфом
Если на вашем участке находится безнапорный водоносный пласт грунта, то его нужно будет проходить на не более 70 % от его общей высоты, так как нижняя часть грунта вообще не будет подпитывать колодец. Если принять во внимание суточную потребность в воде, то вполне вероятно, что глубину залегания колодца придется делать еще меньшей.
Поперечное сечение шахты колодца выбирают минимальным для уменьшения количества вынутого грунта и снижения трудозатрат. К тому же выше говорилось, что сечение шахты почти не влияет на приток воды. Если увеличить сечение колодца в 10 раз, то приток воды возрастет всего в 2 раза. Исключение из этого правила составляет лишь один случай: когда колодец подпитывается восходящими ключами из напорного водоносного слоя.
Водоприемную часть несовершенной конструкции обычно изготавливают с донным фильтром, который включает в себя три слоя щебня или гравия с разным размером зерен. На самый низ укладывается порода толщиной 10 см, оба остальных слоя делают толщиной в 15 см. В каждом следующем фильтрующем слое зерна берутся в 6–8 раз крупнее по сравнению с предыдущим.
При жидком водоносном слое (он называется «плывун») с большим притоком воды в колодец, поступают так: сооружают дощатое дно, в котором просверливают отверстия. Уже на дно укладывают фильтрующий слой. Оголовок надземной части колодца поднимают над землей примерно на 1 м. Вокруг колодца изготавливают глиняный замок глубиной до 1,5 м и шириной 0,5 м. Потом на замок укладывают отмостку из железобетона. Все эти мероприятия нужны для защиты воды в колодце от попадания внутрь поверхностных вод.
Изнутри шахту защищают от осыпания с помощью древесины, камня, кирпича, бетонных или железобетонных колец. Крепление изготавливают по одной из трех технологий.
1. Крепления возводятся со дна полностью готовой шахты колодца (если существует опасность обрушения, то в шахте устанавливают временные подпорки).
2. Крепления наращивают сверху.
3. Крепления наращивают снизу.
Меры безопасности при изготовлении колодцаЕсли вы, как владелец дачного участка, собрались рыть колодец самостоятельно, нужно позаботиться о соблюдении мер безопасности, которые позволят сохранить здоровье и жизнь.
Шахту ограждают досками, установленными на ребро так, чтобы они находились примерно в метре от края. Площадку, на которой ведутся работы, освобождают примерно на 2–3 м от входа в шахту. Это делается для того, чтобы в нее не скатилось что-нибудь тяжелое. Проверяют канат для подъема ведра с грунтом на разрыв, причем к ведру его привязывают очень крепко – для этого используют морской узел. При глубине более 6 м бадью закрепляют еще одним канатом. Не следует проводить работы с ведром, которое снимается с каната.
Если применяются механические подъемники с электрическим приводом, то в них допустимо устанавливать только червячные редукторы с функцией самоторможения (где вращение производится только от червяка к колесу). Несмотря на наличие такой функции, на редуктор устанавливают еще один тормоз.
Каждый день три раза производят осмотр всех приспособлений и инструментов на предмет выявления неисправностей. Людей, работающих в шахте, всегда оповещают о спуске или подъеме из нее любых предметов. Если в нее осуществляется приток вредных газов, то нужно соорудить вентиляцию – установить вентилятор или горящую печку. Последнюю размещают на поверхности, а поддувало соединяют трубой с низом шахты. Перед началом работ проверяют качество воздуха в месте их проведения. Для этого в шахту спускают горящую свечу. Если она горит, то работы можно начинать. Погасшая свеча сигнализирует о необходимости тщательной вентиляции шахты.
Когда колодец углубляется, то не защищенная временным или постоянным креплением часть шахты должна составлять не более метра. При проведении работ следят за тем, чтобы за креплением не возникало пустот, способных вызвать обвал породы.
Деревянные колодцыПо причине того, что древесина до сих пор является относительно доступным строительным материалом, она очень часто используется при изготовлении колодцев. Далеко не каждая порода дерева подойдет для этой цели. Лучше всего брать дубовые доски, бревна или брусья, затем идут лиственница, вяз, ольха. Надводную конструкцию можно делать из сосны. В подводной части дубовый материал может продержаться до 200 лет. В надводной срок его службы будет меньше 20–25 лет. Береза будет портиться гораздо быстрее: в подводной части простоит 10 лет, в надводной – 5 лет. Ель для сооружения сруба колодца применяют очень редко, так как она имеет способность сильно усыхать, трескаться и загнивать. Осина придает вкусу воды горечь и неприятный запах. Сама древесина быстро начинает гнить, из-за чего вода приобретает еще и запах гнили. Сухостойный лес тоже не стоит применять для сруба колодца, так как древесина у него очень хрупкая и не в состоянии долго прослужить.
Независимо от того, какая порода древесины используется для изготовления колодца, подбирают прямой, нетрухлявый материал, на котором нет следов грибка, плесени и червоточин.
Колодцы из древесины обычно в своем сечении квадратные. Размеры стороны выбирают в промежутке от 0,7 м до 1,4 м, но чаще используют форму 1 × 1 м. Сруб изготавливают из пластин, которые нарезают из бревен или же из круглого леса, причем диаметр берется не больше 18 см. Лучше всего сооружать сруб из целиковых бревен – так гораздо проще сделать плотные стены в колодце. Сруб собирают еще до того, как начинают рыть шахту, затем разбирают, пометив очередность нахождения каждого бревна.
Бревна между собой соединяют по технологии «в лапу» без остатка (рис. 4).

Рисунок 4. Соединение бревен в срубе по технологии «в лапу»
Если колодец не очень глубокий – 6 м и менее, то в нем стенки шахты не будут обрушиваться, к тому же в такой конструкции поток воды не очень сильный, значит, можно возводить сруб со дна готовой шахты. Для этого выкапывают шахту, устанавливая там временные подпорки.
Иногда поступают другим образом: на дно шахты укладывают распиленные вдоль бревна, на них укладывают половые доски, затем уже приступают к возведению сруба.
Наращивают сруб сверху по следующей технологии: его кладут на основание на глубине примерно 3 м, затем возводят до тех пор, пока не выйдет из земли примерно на 3–4 венца. Шахту потом углубляют примерно на 25 см. Делают это под серединой стенок, а затем берутся за углы. В местах, где стенки подрыты, кладут подпорки в виде клиньев. Если под углами тоже подрыто, выбивают клинья и сверху начинают постепенно и аккуратно осаживать сруб. Если грунт рыхлый, то сруб может застревать и его придется осаживать по верхнему венцу.
При не слишком глубоком колодце и плотном грунте сруб подвешивают на веревках в шахте. Это в значительной степени облегчает проведение работ, так как в данном случае не придется использовать клиновидные подпорки. При подобной технологии сруб просто постепенно опускается вниз на веревках. Благодаря такому методу можно немного наклонять сруб для выверки вертикальности, при необходимости его даже наклоняют на некоторый угол по вертикали (рис. 5).

Рисунок 5. Сруб, находящийся в шахте на канатах
Бетонные колодцы
Шахтный колодец лучше всего сооружать из бетона. Подобные конструкции намного прочнее по сравнению с деревянными, они долговечнее и с точки зрения гигиены также предпочтительнее. За счет плотных стенок не допускается проникновение разного рода загрязнений с поверхности земли. Материалы, необходимые для сооружения подобной конструкции, едва ли не доступнее древесины, работать с бетоном несложно, такая работа не потребует от строителя какой-либо особой квалификации.
В любом случае от строителя колодца потребуются элементарные знания относительно технологии производства бетона. Это необходимо для недопущения ошибок при его приготовлении, чтобы затраченные трудовые и финансовые ресурсы не пропали даром. Бетон является искусственным каменным материалом, который производят в ходе уплотнения и затвердевания бетонной смеси, включающей в себя вяжущий элемент или цемент, воду и заполнитель, в его роли обычно выступают мелкий песок и щебень или гравий.

