
Практическое руководство по подготовке контрактов FIDIC. Контракт FIDIC по шагам

Практическое руководство по подготовке контрактов FIDIC. Контракт FIDIC по шагам
Константин Трумпель
Руководитель проекта Алена Трумпель
Корректор Светлана Васильева
Дизайнер обложки Маргарита Вок
© Константин Трумпель, 2021
© Маргарита Вок, дизайн обложки, 2021
ISBN 978-5-0055-8867-8
Создано в интеллектуальной издательской системе Ridero
Публикуется в авторской редакции
Трумпель К. Б.
Практическое руководство по подготовке контрактов на основе проформ FIDIC.
2-е издание переработанное и дополненное с учетом порядка, предусмотренного новыми книгами FIDIC 2017 года.
Эта книга об особенностях механизма подготовки контрактов на основе международных проформ FIDIC. Данный механизм представлен в, так называемых, классических «цветных» книгах FIDIС.
К. Б. Трумпель рассматривает вопросы, непременно возникающие при реализации любого инвестиционно-строительного проекта с использованием международных типовых форм контрактов FIDIC.
Вы узнаете, каким образом осуществляется подготовка проектов договора строительного подряда на основе международных проформ FIDIC.
Вы найдете в книге пошаговый многоступенчатый порядок подготовки контракта, а также необходимые и достаточные действия сторон (Подрядчика и Заказчика) в соответствии с проформами FIDIC.
В разделе, посвященном рекомендациям по формированию контрактов вы обнаружите механизм подготовки контрактов в соответствии с национальным законодательством и правилами проформ, которые представлены в виде, так называемых «цветных» книг FIDIC.
Соответственно в отдельных разделах вы получите соответствующие рекомендации по порядку и особенностям заключения контрактов на основе проформ FIDIC.
В завершение Вы сможете ознакомиться с формами документов, которые рекомендуется заполнить при подготовке контракта на основе международных проформ FIDIC.
Книга адресована всем, кто работает с контрактами FIDIC в рамках инвестиционно-строительной деятельности и будет интересна как специалистам, начинающим работать с этой темой, так и практикам со значительным опытом работы.
Все права защищены. Никакая часть этой книги не может быть воспроизведена в какой бы то ни было форме и какими бы то ни было средствами, включая размещение в сети интернет в корпоративных сетях, а также запись в память ЭВМ для частного или публичного использования, без письменного разрешения владельца авторских прав. По вопросу доступа к электронной библиотеке обращайтесь по адресу: info@trumpel.ru.


О чем эта книга
Эта книга о контрактах, разрабатываемых на основе проформ FIDIC: как формируется этот контракт, из его он состоит, что является общим для формирования контракта по всем книгам FIDIC, что категорически нельзя делать при формировании контракта и почему.
С 1999 года я обучаю работе с контрактами FIDIC представителей финансовых институтов, строительных компаний разного профиля и инжиниринговые организации. На каждом семинаре участники жаловались на одни и те же проблемы:
– тяжело разобраться в информационном поле контрактов FIDIC;
– не понятна логика составления контрактов, слишком много нюансов и тонкостей
– у специалистов нет времени вникать во все эти тонкости, но надо решать задачи и составить контракт в сжатые сроки («желательно – вчера»).
Отдельная головная боль – разработка так называемых Особых условий контракта.
Задача книги – помочь решить проблемы подготовки контракта на основе проформ FIDIC как можно быстрее, проще и с учетом обстоятельств конкретного проекта. Эта книга о том, как пошагово действовать при подготовке контракта на основе международных типовых форм FIDIC до его заключения.
Введение – краткая информация об особенностях заключения контракта и выборе подходящей для конкретного проекта версии той или иной цветной книги FIDIC
Первый раздел посвящен общему (единому для всех книг) порядку подготовки контрактов на основе проформ FIDIC.
Второй раздел связан с разработкой тендерной (конкурсной) документации Заказчиком и/или уполномоченным Заказчиком лицом (Инженером, Представителем Заказчика и/или иной уполномоченной организацией).
Третий раздел помогает в подготовке Требований Заказчика.
Четвертый раздел раскрывает общие подходы к внесению изменений в Общие Условия контракта с помощью Особых Условий контракта, а также механизм заполнения части А Контрактная информация (в книгах после 2006 года) или перекрестные ссылки (в книгах до 2006 года).
Пятый раздел содержит механизм и возможные варианты заполнения части Б Особых условий контракта.
Шестой раздел раскрывает особенности подготовки Оферты (тендерной/конкурсной заявки) Подрядчиком.
Седьмой раздел включает механизм заключения контракта путем направления Заказчиком Акцепта Подрядчику.
Восьмой раздел описывает структуру и содержание так называемого Контрактного Соглашения, которым завершается заключение контракта как Договора строительного подряда.
Девятый раздел разъясняет, почему заключение контракта еще не означает вступление его в силу.
Заключение – краткое изложение пошаговой инструкции пользователю контракта на основе международных проформ FIDIC.
Электронное приложение к книге – это пакет форм документов, рекомендуемый для формирования контрактов FIDIC и приведенных в качестве примера в данной книге в разных разделах книги. Вы можете использовать эти формы для разработки своего контракта. Корректируйте их в соответствии с рекомендациями, данными в этой книге и под свои задачи. Помните при этом о соблюдении Золотых принципов контрактов FIDIC. Когда есть готовые формы – всегда легче работать. Приложение содержит QR-код для скачивания форм.
Если Вы работаете с контрактами FIDIC – эта книга для Вас.
Приятного чтения!
Разные участники – разные подходы
В книге содержатся рекомендации по подготовке различных составных частей контракта на основе проформы FIDIC. Контракт FIDIC состоит из нескольких частей. Каждая их этих частей представляет собой отдельный документ, который разрабатывается на разных этапах (шагах) подготовки контракта.
Некоторые их этих документов готовит Заказчик и / или Уполномоченное им лицо (Инженер, Представитель Заказчика и/или иная уполномоченная организация). Какие-то документы готовит Подрядчик на основе форм, которые содержатся в тендерной (конкурсной) документации.
Часть документов стороны готовят как бы совместно, поочередно на определенных этапах подготовки контракта.
Надо понимать, что при подготовке документов учитываются законодательства и самого проекта, а также пожелания («хотелки») других лиц, которые хоть и не являются участниками разработки контракта, но оказывают на эту процедуру и содержание самого контракта существенное влияние (инвесторы, банки, должностные лица органов власти).
Здесь тоже могут быть различные подходы.
Автор не ставит перед собой цель объять необъятное. Однако, он постарался включить в Руководство наиболее часто используемые подходы и формы, применяемые при разработке контрактов на основе международных типовых форм FIDIC.
На что стоит обратить внимание читателям этой книги:
Для всех участников разработки контракта адресована информация в разделах: Введение, Заключение, Первый раздел (Общий порядок подготовки контрактов на основе проформ FIDIC), Четвертый раздел (Особые Условия контракта: общие подходы, порядок заполнения части А Контрактная информация (перекрестные ссылки) и Восьмой раздел (Контрактное Соглашение).
Если Вы – Заказчик (Инженер, Представитель Заказчика и/или иная уполномоченная заказчиком организация), то, конечно же, Вы разрабатываете тендерную / конкурсную документацию – Раздел второй, готовите Требования Заказчика (Раздел третий) и изменения к Общим условиям контракта с помощью Особых условий (Разделы четвертый и пятый), готовите и направляете Акцепт Оферты Подрядчика (Раздел седьмой), разрабатываете структуру и общее содержание Контрактного Соглашения (Раздел восьмой).
Если Вы – Оферент (Участник тендера/конкурса), Подрядчик или уполномоченная им организация, то Вам адресованы разделы четвертый, шестой, восьмой и девятый, которые содержат порядок подготовки Оферты (тендерной/конкурсной заявки), в том числе Контрактной информации (часть А Особых Условий контракта), структуру и содержание Контрактного Соглашения, а также особенности получения и передачи обеспечения исполнения обязательств для вступления контракта в силу.
В то же время автор полагает, что для создания целостной картины такого увлекательного процесса как разработка контракта, сторонам стоит изучить не только те разделы, которые прямо адресованы им, но и разделы, которые связаны в основном с деятельностью других участников подготовки контракта.
Так, например, для Заказчика важным является то условие, которое он намерен поставить Подрядчику для вступления контракта в силу (Раздел девятый).
А для Подрядчика будет немаловажным понять логику и порядок подготовки контракта в целом, включая деятельность Заказчика по подготовке Требований Заказчика, которые разрабатываются, как правило, при подготовке тендерной/ конкурсной) документации (раздел второй). Тем более, что в случаях, когда применяется Серебряная книга, требования Заказчика дорабатывает все-таки Подрядчик и отвечает за них тоже Подрядчик.
Задача этой книги – дать читателю инструменты, раскрыть механизмы, которые помогут легче и быстрее решать вопросы, связанные с подготовкой такого специфического контракта, каким является контракт на основе проформ FIDIC. Изучайте эти инструменты и механизмы и самостоятельно решайте, какие из них подходят вам.
Введение
Развитие международного сотрудничества в области строительства объектов недвижимости значительно повысило роль договоров подряда, заключаемых между заказчиками и подрядчиками, которые являются резидентами разных государств.
В связи с этим в настоящее время достаточно широкое распространение в мировой практике инвестиционно-строительной деятельности получили так называемые «цветные книги FIDIC», которые представляют собой различные условия контрактов в области строительства. Такие контракты, предметом которых является выполнение работ по строительству (реконструкции) объекта капитального строительства, разработанные на основе типовых форм международных строительных контрактов FIDIC (далее – контракт), представляют собой договоры строительного подряда, в состав которых входят типовые Условия контракта, разработанные Международной федерацией инженеров-консультантов (далее – FIDIC) с изменениями и дополнениями, которые подготовлены в порядке, предусмотренном FIDIC.
Настоящее практическое руководство по подготовке контрактов, предметом которых является выполнение работ по строительству (реконструкции) объекта капитального строительства, разработанных на основе типовых форм международных строительных контрактов FIDIC (далее – Руководство) разработано с целью оказания содействия современным пользователям условий контрактов FIDIC по вопросам, которые непосредственно связанны с применением типовых форм международных строительных контрактов FIDIC (далее – проформ) в части разработки текстов самих контрактов, как отдельных документов (комплектов документов), так и в составе тендерной (конкурсной) документации в интересах заключения договоров на строительство конкретных объектов.
Руководство содержит практические рекомендации по формированию контрактов на русском языке в соответствии с применимым законодательством и правилами проформ, которые представлены в виде, так называемых «цветных» книг FIDIC.

Рис. 1. Книги FIDIC
Каждая проформа, независимо от «цвета», включает в себя:
• Общие Условия контракта, которые содержат единые типовые правила, направленные на регулирование отношений заказчика, подрядчика и иных лиц, наделяемых полномочиями в соответствии с условиями контракта, а также лиц, чьи интересы затрагиваются в ходе его реализации;
• рекомендации по подготовке (при наличии) и форму Особых Условий контракта, положения которых связаны перекрестными ссылками с положениями Общих Условий контракта и предназначены для раскрытия тех или иных Условий контракта, а также закрепления положений Общих Условий контракта, требующих раскрытия и закрепления (количественных и качественных характеристик объекта, финансовых и временных параметров взаимодействия сторон контракта), а также для внесения изменений и дополнений в Общие Условия контракта;
• формы документов, которые рекомендуются к применению пользователями проформ, но не являются обязательными для использования сторонами контракта.
В настоящем Руководстве раскрывается порядок формирования контрактов, примерное содержание и возможные варианты заполнения Особых Условий контракта, а также рекомендуемые автором формы документов, которые составляют контракт. При этом, пользователям настоящего Руководства необходимо понимать, что существуют особенности применения различных проформ в реалиях конкретных проектов инвестиционно-строительной деятельности, которые тоже нужно учитывать при непосредственной подготовке контрактов.
Проще говоря, прежде чем приступить к разработке контракта необходимо выбрать книгу FIDIC, условия которой наилучшим образом соответствуют проекту, и которая станет основой для разрабатываемого контракта.
Раздел 1. Общий порядок подготовки контрактов на основе проформ FIDIC
Особенностью контрактов, разрабатываемых на основе проформ FIDIC является то, что они представляют из себя не единый документ, а комплект документов, объединенных единством содержания и цели.
Такие контракты условно можно разбить на две составные части, которые, как правило, включают в себя договор подряда и Условия контракта, которые, в свою очередь, чаще всего содержат следующие документы:
➢ Контрактное Соглашение с различными приложениями, которые (в зависимости от проформы) включают, но не ограничиваются таковыми, следующие документы:
• Акцепт Заказчика,
• Оферту Подрядчика с приложениями,
• Требования Заказчика (там, где они предусмотрены проформой),
• Меморандумы (там, где они предусмотрены проформой).
➢ Условия Контракта, которые включают:
• Общие Условия контракта и
• Особые Условия контракта.

Рис. 2 Структура Контракта FIDIC
Помимо указанных выше документов, в состав контракта на основе проформ FIDIC входят различного рода приложения, графики, чертежи, дополнения и прочие документы, перечень и приоритет которых, как правило, представлен, начиная с 1995 года, в пункте 1.5 Условий контракта и, так называемом, Контрактном Соглашении.
Важно отметить, что как при подготовке самого контракта, так и тендерной (конкурсной) документации, – участникам разработки этих документов следует учитывать, так называемые, Золотые принципы FIDIC, которые в настоящее время устанавливают относимость того или иного договора строительного подряда, разработанного на основе проформ, к контрактам FIDIC:
1. Обязанности, права, обязательства, функции и ответственность всех сторон контракта, как правило, должны соответствовать указанным в Общих Условиях контракта и при этом отвечать требованиям проекта.
2. Текст Особых Условий контракта должен быть ясным и не может допускать двойного толкования.
3. В тексте Особых Условий контракта запрещено менять соотношение рисков и выгод, установленное в Общих Условиях контракта.
4. Сроки, предусмотренные в тексте контракта для исполнения обязанностей, должны быть разумной продолжительности.
5. Все официальные споры в первую очередь направляются в зависимости от проформы и перевода в Комиссию по разрешению споров/ Совет по предотвращению/ урегулированию споров, который принимает условно обязательное решение, являющееся необходимым предварительным условием для обращения в арбитраж (третейский суд) или суд, предусмотренный национальным законодательством.
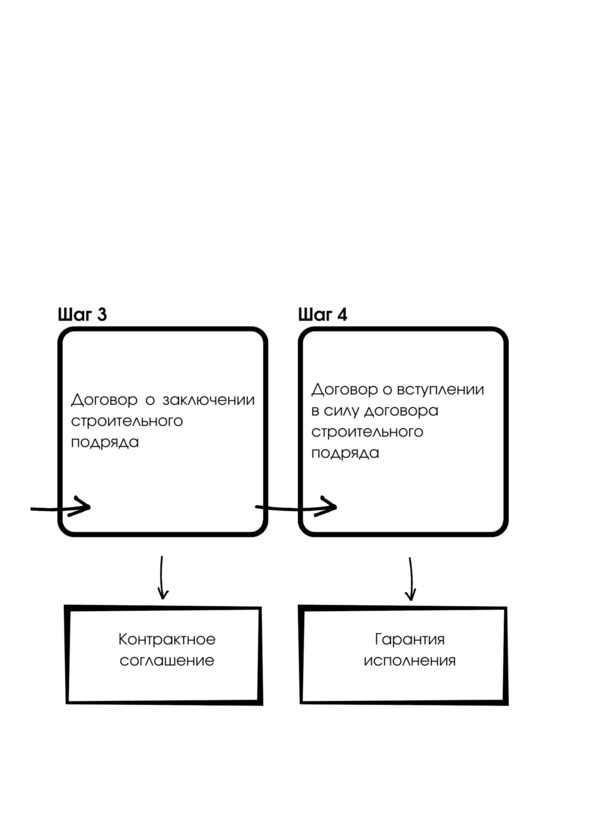
Сама по себе процедура подготовки и заключения контракта на основе международных проформ FIDIC условно может включать и, как правило, включает четыре этапа (шага):
• тендер (конкурсная процедура),
• оферта-акцепт (собственно процедура совершения сделки),
• подписание Контрактного соглашения (договора подряда) и
• выполнение условий для вступления контракта в силу
(в принципе каждый перечисленный шаг – это новая сделка, с формальной точки зрения):

Рис. 3 Шаги (этапы) заключения контракта FIDIC
Следует отметить, что Контракт может быть составлен на одном, двух и более языках.
В связи с этим, во избежание проблем при толковании Контракта в процессе его исполнения, рекомендуется:
• в случаях подготовки контракта с участием лиц, не являющихся резидентами одной страны, либо при использовании иностранного финансирования (например, за счет Международных Банков Развития), а также при строительстве Объектов за пределами государств, на территории которых в контрактных отношениях активно используется русский язык, применять русский и английский языки совместно в качестве языков контракта (при этом требуется определить основной язык контракта);
• в пределах русскоязычного пространства (то есть на территории тех стран, где одним из государственных языков является русский язык) основным языком контракта, а также языком общения и языком рассмотрения споров рекомендуется устанавливать русский язык.
Раздел 2. Разработка тендерной (конкурсной) документации
Пакет документации: тендерная/ конкурсная документация
Кто готовит: Заказчик и/ или уполномоченное Заказчиком лицо (Инженер, уполномоченная организация и т.д.)
По условиям каких контрактов FIDIC готовится: все действующие «цветные» книги FIDIC
Данные, необходимые для подготовки:
• особенности Проекта (проект, Страна реализации проекта,
• отраслевые особенности (дорога, рудник, завод, электростанция и т.д.),
• порядок реализации (по проекту Заказчика, ЕРС, «под ключ», BOT, DBOM и т.д.),
• механизм финансирования (собственные средства, бюджет, группа инвесторов, МБР и т. д.),
• выбранная книга (проформа FIDIC),
• наличие предварительных проработок (исходные данные, проектная документация, земля и т.д.),
• предполагаемые характеристики функционального и целевого предназначения Объекта,
• имеющиеся ограничения по цене и срокам,
• иные данные, которые предусмотрены законодательством Страны и потребностями реализации проекта для выбора Подрядчика (см. содержание «Инструкции для участников тендера (конкурса)» (инструкции оферентам).
Ориентировочное время подготовки: формально срок не установлен, а фактически – от двух месяцев в зависимости от наличия данных и документации.
Шаг в подготовке контракта: 1

Общие подходы: должна соответствовать законодательству Страны и особенностям Проекта, содержит «Инструкцию для участников тендера (конкурса)» (инструкцию оферентам) и другие документы (см. перечень ниже).
Частные подходы: зависит от выбранной книги (см. примерную форму).
Формы: см. ниже.
Кто и кому направляет: Заказчик – участникам тендера (конкурса) / оферентам
Сроки предоставления документов: формально срок не установлен, а фактически – от одного дня в зависимости от особенностей тендера (конкурса)
Важно отметить, что разработчики проформ рекомендуют, чтобы тендерную (конкурсную) документацию составляли опытные специалисты – инженеры, имеющие соответствующую квалификацию, которые непосредственно знакомы с техническими аспектами необходимых работ, а также с любыми особыми требованиями и с соответствующими контрактными положениями для конкретных проектов. Помимо этого, также рекомендуется дополнительно обратиться за оценкой подготовленного контракта к юристам, обладающим соответствующей квалификацией и опытом участия в разработке контрактов на основе проформ FIDIC.
Сам комплект тендерной (конкурсной) документации, который предоставляется участникам тендера (конкурса) на размещение заказа по строительству (реконструкции) объекта с использованием норм и правил FIDIC, как правило, включает следующие документы:
• приглашение к участию в конкурсе;
• «Инструкции для участников тендера (конкурса)» (в том числе рекомендации по всем вопросам, которые участники тендера (конкурса), согласно пожеланиям Заказчика, должны включить в свои оферты (тендерные заявки, конкурсные предложения), но которые не вошли в Требования Заказчика);
• форму оферты (тендерной заявки, заявки на участие в конкурсе, конкурсного предложения) и необходимые приложения (если таковые имеются);
• Условия контракта: Общие и Особые условия;
• общие сведения и данные о проекте;
Конец ознакомительного фрагмента.
Текст предоставлен ООО «ЛитРес».
Прочитайте эту книгу целиком, купив полную легальную версию на ЛитРес.
Безопасно оплатить книгу можно банковской картой Visa, MasterCard, Maestro, со счета мобильного телефона, с платежного терминала, в салоне МТС или Связной, через PayPal, WebMoney, Яндекс.Деньги, QIWI Кошелек, бонусными картами или другим удобным Вам способом.
Приобретайте полный текст книги у нашего партнера:

