
ТРИЗ для профи и не только. Законы развития технических систем. Том 1. Издание 3-е, исправленное и дополненное

ТРИЗ для профи и не только
Законы развития технических систем. Том 1. Издание 3-е, исправленное и дополненное
Лев Хатевич Певзнер
© Лев Хатевич Певзнер, 2019
ISBN 978-5-0050-2183-0 (т. 1)
ISBN 978-5-0050-2184-7
Создано в интеллектуальной издательской системе Ridero
От автора
В начале 1990-х годов мне в руки попала книга У. Фостера «Атакующие выигрывают» [1]. Прекрасная книга с массой фактического материала, описывает истории успешных компаний, таких как «Хьюлетт- Паккард», «Проктер энд Гэмбл», «IBM», и др.
Если отбросить лирику, то схема успеха вырисовывалась у автора практически одинаковая везде. Была загнивающая старая компания (компания 3-4-го этапа в терминологии ТРИЗ). В недрах ее бюрократии, по непонятным причинам появлялся энергичный лидер, который долгое время прятался внутри структуры («серый кардинал», лидер второго этапа, в терминологии ТРИЗ). Затем он почему-то становился главным в компании и быстро стартовал эффективный новый продукт (пионерную систему в терминологии ТРИЗ). И…. УРА! Победа!
Все описывается очень красочно, с подчеркиванием благородных черт характеров всех успешных лидеров, но,… Черт возьми! Так не бывает! А если бы этого лидера не было, так что? У нас не было бы, стирального порошка, персональных компьютеров, принтеров???
Дело в том, что У. Фостер ставит телегу впереди лошади. Действительно от лидера многое зависит. Плохой лидер может погубить Дело или надолго затормозит развитие системы или технологии.
Пример
Блестящий хирург-травматолог Гавриил Илизаров почти на тридцать лет затормозил развитие технологии сращивания костей с помощью специального аппарата, названного впоследствии его именем.
В то же время, хороший Лидер-организатор (например, Святослав Федоров, советский глазной микрохирург, основатель центра «Микрохирургии глаза») может быстро развивать Дело и техническую систему, которая является предметом Дела.
На самом деле не Лидер первичен, а сама система! Создание новой пионерной системы определяется объективным уровнем развития техники. А ее развитие – объективными законами развития технических систем.
Хороший Лидер грамотно и быстро развивает систему, если его действия соответствуют этим законам. Большинство хороших менеджеров и конструкторов интуитивно чувствуют их. Именно поэтому и развивались быстро «Хьюлетт-Паккард», «Проктер энд Гэмбл», «IBM». Их лидеры действовали в соответствие с законами развития технических систем. Правда, делали они это интуитивно. Однако, поскольку эти законы объективные – их можно изучить, и развивать любую систему осознанно с учетом этих законов.
В ТРИЗ изучены многие из законов развития технических систем, закономерностей развития Дела. Есть также разработки, объясняющие смену лидеров в процессе развития технической системы, и правил управления коллективом на разных этапах ее развития (в частности, в некоторых разработках Б. Злотина, Л. Каплана и И. Азидеса [7]). Все это, в совокупности с великолепным инструментарием по решению технических проблем позволяет быстро и эффективно развивать техническую систему и Дело, на ее основе, в целом.
Как и в предыдущих книгах, я не только буду описывать общее закономерности развития, но и давать конкретные рекомендации их применению, а также примеры и микростандарты, которые смогут послужить аналогами для Ваших ситуаций, и Ваших систем. Именно этим рекомендациям (они изложены в Разделе 3 том 1, и в томе 2), нужно следовать при практической работе, при анализе развития Вашей технической системы. Просто смотреть рекомендации, микростандарты, примеры и оценивать, как это можно их применить в качестве аналогов к системе и ситуации, которые Вы анализируете. Это позволит искать новые перспективные решения не простым перебором вариантов, а направленным поиском в соответствие с законами развития технических систем. 1
Так сложилось, что с начала 1990-х я занимался и ТРИЗ, и бизнесом, работая директором по развитию разных промышленных компаний. И все, что описано в этой книге, во многом опробовано и подтверждено практическим опытом. Этот опыт я и хочу передать тебе, уважаемый Читатель.
Введение
Как появляются новые технические системы? Есть ли правила создания изобретений или это является это актом озарения, творчества изобретателя? Можно ли создавать и развивать системы по правилам и алгоритмам? Существуют ли такие правила и алгоритмы?
Для всех, кто занимался ТРИЗ – это уже давно риторические вопросы. Весь мир развивается в соответствие с законами диалектики. И технические системы – как часть материального мира – развиваются по этим же законам, но только более частным, применимым именно к техническим системам. Значит эти законы можно изучить и использовать.
В ТРИЗ основные законы развития технических систем сформулировал в конце XX века Г. С. Альтшуллер:
– Закон повышения степени идеальности;
– Закон S—образного развития системы;
– Закон перехода на микроуровень;
– Закон вытеснения человека из системы. 2
Это общие законы, которые определяют правила существования и развития технических систем. Они помогают нам понять, что и как происходит в мире техники. Законы развития технических систем позволяют оценивать техническую системой, степень ее развития и разрабатывать стратегию ее развития, стратегию развития Дела, определяют оптимальные черты характера Лидера-разработчика для успешного развития системы. 3
Кроме этого, на основании этих законов, учениками Г. С. Альтшуллера разработана группа более частных законов, тенденций и линий развития, которые дают возможность получать:
– прогнозные оценки наиболее перспективных направлений развития технических систем;
– инструментальные рекомендации того, как именно надо создавать и совершенствовать технические системы; в каких направлениях и какие изменения производить в ней.
Среди наиболее серьезных работ в области исследования законов развития технических систем можно отметить исследования Б. Л. Злотина и А. В. Зусман в их работах и софтверах компании «Ideation International Inc.», В. М. Петрова [2], С. Литвина и А. Любомирского [3], Ю. П. Саламатова [4]. Есть немало и других исследований.
В основном эти исследования касались не алгоритмов создания пионерных систем, а развития уже созданных систем, после образования их функционального центра. Эти разработки позволяют эффективно совершенствовать системы без больших затрат времени на случайный поиск. 4
Перед тем как начать рассказ о законах развития техники, хотелось бы сделать несколько замечаний.
1. В отличие от законов физики и химии, законы развития технических систем, тенденции и линии развития не являются строго детерминированными. То есть, нет четких правил развития системы, зато есть общие подходы и правила, по которым происходят изменения в системе и, которые могут реализоваться с течением временем. Справедливости ради скажем, что даже это не всегда происходит в полной мере. Но знание этих закономерностей помогает понять, в каком направлении должна развиваться система, предвидеть изменения в ней. А значит, эти законы подсказывают возможные технические решения. 5
2. Пункт 2 вытекает из п.1. В силу случайности процесса открытия, практически невозможно предсказать точно дату или сроки открытия, но можно достаточно уверенно прогнозировать тренды развития, типы ожидаемого развития технических систем, а так же оценить пределы их развития.
3. Нет отдельных законов развития технических систем – есть один общий ЗАКОН РАЗВИТИЯ технических систем, являющийся частным случаем общего диалектического закона развития материи. Традиционное разделение на различные законы развития технических систем – это условность, которая введена для удобства анализа. ЗАКОН РАЗВИТИЯ – как многогранный кристалл, где каждая грань дает свою картинку, свой срез. Рассматривая кристалл с разных сторон, мы способны лучше видеть и понимать его. Законы развития технических систем, которые мы рассмотрим ниже, тесно связаны между собой, и в каждое техническое решение видится через проявление того или иного частного закона (ну совсем как мы видим одну грань кристалла через другую его грань).
Например, появление самолетов с изменяющейся геометрией крыла – это проявление закона повышения динамичности и управляемости (появление шарнира), и закона согласования (динамическое согласование параметров скорости и устойчивости в разных условиях), и проявление перехода на микроуровень (дробление элемента), и повышение идеальности (улучшение потребительских качеств системы), и шаг по S-образной кривой…. Просто, с какой стороны посмотреть.
И если мы относим то или иное техническое решение к одному из законов, то это всего лишь, чтобы лучше изучить и понять те приемы и шаги в законах развития технических систем, которые помогут Вам лучше работать со своей системой.
В первом томе мы подробно рассмотрим общие законы развития технических систем, упомянутые выше, а также некоторые тенденции развития, которые вытекают из этих законов.
Во втором томе [5], будут рассмотрены три закона, определяющие тенденции развития технической системы в рамках одной S-кривой. Эта, более глубоко разработанная в ТРИЗ, и наиболее инструментальная группа закономерностей, включает в себя: 6
– закон повышения динамичности и управляемости;
– закон развертывания-свертывания;
– закон согласования-рассогласования.
Для описания частных законов и алгоритмов я буду использовать некоторые термины, которые, как мне кажется, наиболее точно определяют суть описываемых явлений:
– склонность технической системы развиваться в определенном направлении, по определенным правилам. Это значит, что движение в этом направлении не обязательно, но наиболее вероятно. Тенденция
– предполагаемая последовательность шагов в развитии технической системы, которая повышает ее идеальность и, которая наиболее вероятна при развитии системы. Линия развития
– модель задачи-аналога, которая реализуется в рамках тенденции или линии развития. Микростандарт подсказывает возможные решения проблемы или шаги в развитии технической системы, в рамках определенной тенденции. Микростандарт
– последовательность из нескольких шагов, подсказывающая основные этапы анализа при поиске решения в конкретных условиях. Миниалгоритм
Раздел 1. Классификация изобретений и потребностей
Изобретения бывают разные. Одни – маленький шаг в улучшении системы, другие – радикально меняют общество.
В 1981 году мне пришлось решать проблему на Верх-Исетском металлургическом заводе.
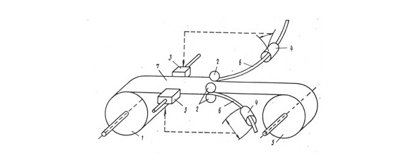
При обрезке кромок стальной полосы на агрегате продольной резки, необходимо центрировать полосу (7), чтобы обрезать дисковыми ножами (2) достаточно широкие кромки, удаляя все трещины. Но полоса постоянно движется в сторону, поэтому специальный рабочий постоянно регулирует ее положение на агрегате резки рулонов. Чтобы автоматизировать работу агрегата, предложено пропускать обрезаемую кромку (6) через кольцо двух электрических контуров (4). Через один пропускается переменный ток, который наводит ток во второй обмотке. При этом чем больше ширина обрезаемой кромки, тем больше сигнал. Сигналы, получаемые с двух сторон полосы, сравниваются, и их разность направляется в управляющее устройство (3), которое эффективно заменяет рабочего.
Рисунок 1. Схема установки центрирования полосы
В этом примере, в системе выполнено небольшое изменение – введена управляющая система. Но это изобретение и на него выдано А. С. N 958 047. И таких изобретений каждый инженер может сделать много. Эти небольшие изобретения мало влияют на развитие общества в целом, хотя и решают нужные задачи в определенных условиях.
Наряду с этим, есть изобретения, которые радикально меняют общество. В 1938 году инженеры Эрик Фосет и Реджинальд Гипсон разработали промышленное производство полиэтилена. Первое назначение нового материала – покрытие телефонного кабеля. Теперь мы понимаем, что это было крайне узкое применение полиэтилена, но даже его было достаточно для организации экономически оправданного массового производства.
В годы Второй мировой войны англичане применяли полиэтилен для производства радаров. А в 1950-х годах началось массовое применение полиэтилена в самых разных областях:
– упаковка (тара, емкости и пакеты),
– трубы для строительства,
– различные детали оборудования и многое другое.
Вскоре, в середине 1950-х был разработан аналогичный материал – полипропилен. У него были еще больше возможностей – это детали автомобилей, оконные рамы, обшивка домов…
Фактически применение этих материалов радикально изменили многие технологии в строительстве, упаковке, химию, электротехники и других отраслях.
Чем же отличаются эти два изобретения?
Г. С. Альтшуллер предложил ввести 5 уровней для оценки качества изобретений, в зависимости от того,
1. Разрешают ли они противоречия,
2. Насколько серьезные изменения происходят в системе и как влияют они на общество.
И главным критерием является оценка того, сколько вариантов, по мнению экспертов, надо перебрать, чтобы найти решение.
Итак, классификация изобретений Г. С. Альтшуллера:
1-й уровень – Мельчайшие изобретения не связанные с устранением противоречий (до 10 вариантов).
2-й уровень – Мелкие изобретения, полученные в результате устранения противоречия способами, известными в данной отрасли (до 100 вариантов).
3-й уровень – Средние изобретения. Противоречие преодолевается способами, известными в пределах одной науки. Например, «механическая» задача решается «механически», «химическая» – «химически» и т. д. (до 1000 вариантов).
4-й уровень – Крупные изобретения. Создается новая техническая система. Поскольку она не содержит противоречий, иногда создается впечатление, что изобретение сделано без их преодоления. На самом же деле противоречия были, но они относились к прототипу – старой технической системе (до 10 000 вариантов).
5-й уровень – Крупнейшие изобретения – пионерные изобретения, порождающие новые отрасли техники. Создается принципиально новая техническая система. Противоречий нет, поскольку еще нет и самой системы; противоречия могут появиться лишь в процессе синтеза системы. Для создания изобретения пятого уровня нужно предварительно сделать новое открытие (более 10 000 вариантов).
В этой классификации все кажется простым и понятным, но остаются вопросы.
Любая классификация создается, чтобы затем ее использовать для работы. А что дает эта классификация? Деление изобретений на сложные и простые? Так это и так очевидно! И еще, в книге Г. С. Альтшуллер пишет, что изобретений 5-го уровня, создающих новые отрасли промышленности – 0,3% от общего числа изобретений. Но если учесть, что сейчас ежегодно в мире создается около 3 миллионов изобретений, то это означает, что создается около 10 000 изобретений 5-го уровня. Это 10 000 новых отраслей промышленности! Явно нереально! Но почему Генрих Саулович не заметил этой нелепости? Не мог не заметить! Просто в то время ему важно было обосновать необходимость ТРИЗ для решения сложных задач. Для этого и была сделана такая 5-уровневая классификация. 7
Но для активной работы нужна другая классификация изобретений, которая будет направлять работу специалиста, определять те инструменты ТРИЗ, которые будут наиболее эффективны для решения каждой группы задач.

Глава 1. Классификация изобретений
Предлагается новая классификация. В ее основе – происхождение изобретения. Она не только разделяет изобретения на группы, но и позволяет рекомендовать для каждой группы наиболее эффективные рабочие инструменты (законы и линии развития технических систем и другие инструменты ТРИЗ).
1.1. Первый уровень – пионерные изобретения
: Под пионерным изобретением понимается создание технических систем и технологий, которые: Определение
– реализуют новые функции, которые ранее не существовали; это позволяет создать и удовлетворять новые потребности, которых ранее не было; 8
или
– реализуют известные функции, но на основе нового принципа действия, что позволяет удовлетворять известные потребности, но на качественно более высоком уровне.
Создание таких систем всегда является основой для появления новых направлений в технике, и даже новых отраслей промышленности. Зачастую они вызывают существенные изменения в обществе. Такие изобретения всегда открывают новые S-кривые. 9
Пример
Рентгеноскопия
Главное открытие в своей жизни Конрад Рентген сделал 8 ноября 1895 года. Работая в своей лаборатории, он обратил внимание на то, что после включения тока в катодной трубке, почему-то начинает светиться покрытый слоем платиноцианистого бария бумажный экран. Причем происходило это вопреки «здравому смыслу», поскольку трубка была полностью закрыта плотным черным картоном, а значит, свет не мог проходить через него. Он выключил ток – свечение прекратилось, включил – экран снова засветился! И тогда он сделал вывод, что в трубке возникают икс-лучи, которые способны проходить через плотный материал, и заставляют флуоресцировать особые вещества. Причем в зависимости от вида материала и его толщины, преграда пропускала больше или меньше лучей. Как следствие, стало возможным анализировать структуру различных объектов. Установка, разработанная Рентгеном, выполняла совершенно новую функцию – неразрушающий анализ структуры непрозрачного объекта.
Пример
Создание гастроскопа. Прибор позволяющий видеть внутренние органы человека с использованием оптоволокна. Это породило новый метод медицинского обследования и, стало основой для новой технологии проведения хирургических операций – лапароскопии. Через 3 небольших разреза (10—15 мм), в полость живота вводятся инструменты – нагнетатель углекислого газа, подсветка и инструмент. Операция выполняется микроинструментом внутри полости.
Рисунок 2. Первый рентгеновский снимок – рука Альберта фон Келликера, 21.01.1896 года
Рисунок 3. Лапароскопическая операция
Пример
Создание LED-светильников. До этого функция освещения, путем преобразования электричества в световое излучение через нагрев вольфрамовой спирали, выполнялась лампами накаливания. Но использование светодиодов для освещения – новый принцип освещения. Это привело к развитию не только новых систем освещения, но и породило новые направления в других отраслях, например, новых способов выращивание овощей в многоуровневых теплицах и многие другие.
Рисунок 4. LED-светильник с множеством элементов; один из элементов
Пример
Химическая технология получения алюминия была известна еще в середине XX века. Но она сильно ограничивала получение этого ценного металла из-за своей дороговизны. Созданная в конце XX века технология электролиза алюминия, значительно удешевила его производство, и привела к созданию многих отраслей, в которых стал использоваться алюминий, поскольку он стал доступным по цене – (прокат, фольга, упаковка).
Основой пионерных изобретений являются:
– открытия, то есть новое знание в науке и технике;
– усовершенствование одной из подсистем (или технологии) до настолько высокого качественного уровня (скачек в развитии некоторой системы), который обеспечит создание системы с новой функцией.
В рассмотренных примерах:
Рентгеновский аппарат не смог бы быть создан без открытия Рентгеном икс-лучей (за которое он, кстати, получил Нобелевскую премию по физике за 1901 год и право на дворянский титул!).
Появление LED-светильников не могло быть сделано раньше открытия в 1960-1970-х годах желтого, белого и синего светодиодов. В свою очередь, открытия не могли бы появиться без высокого уровня развития техники и технологии выращивания кристаллов оксидов редкоземельных элементов высокой чистоты.
Гастроскопия стала возможной только при появлении световодов. Технология получения световодов появилась в 1930-х годах благодаря немецкому инженеру Генриху Ламму. А хотя сама идея полного внутреннего отражения светового потока внутри струи воды была открыта еще в середине XIX века английским ученым Джоном Тиндаллом, но она не получила промышленного применения. В 1880-х годах была предложена идея передачи светового потока в зеркальной изнутри трубы. Но уровень техники того времени был недостаточен для создания гастроскопа. И только когда Ламм разработал методику передачи светового потока в тонких световодах с полным внутренним отражением, и технологию их изготовления, стало возможным создание этого изобретения.
После этого, в 1960-х годах появилась новая медицинская технология – гастроскопия.
Рисунок 5. Световоды
Рисунок 6. Гастроскоп





1.2. Второй уровень – не пионерные системы, являющиеся основой новых S-кривых
К не пионерным системам относятся системы, выполняющие известные функции, и в которых используются только известные подсистемы и элементы, но объединение, которых позволяет создать новую систему. В ряде случаев, эта новая система обладает преимуществами, позволяющими преодолеть качественные ограничения, не позволяющие развиваться предыдущим системам, то есть порождает новые S-кривые. Именно такие изобретения относятся ко второму уровню.
Есть три пути создания изобретений второго уровня:
– замена одной из ключевых подсистем на другую, качественно превосходящую предыдущую;
– объединение двух (и более) различных систем в полисистему с образованием нового качества;
– применение системы по новому назначению.
В зависимости потребности, которую удовлетворяет новая система, от ее рынка, такие системы могут стать основой для создания целых новых отраслей техники.
: А могут и не стать! Если рынок ограниченный или специфический! Но все равно это будут изобретения второго уровня. Замечание
1.2.1. Создание новых систем, через замену одной из подсистем, на подсистему с новым принципом действия, или добавление новой подсистемы (гибридизация 1).
Новые, не пионерные системы, порождающие новые S-кривые, могут появляться, в результате того, что в известной системе одна из значимых подсистем заменяется на новую, позволяющую получить новое качество. Как правило, заменяется наименее эффективная в настоящий момент для данной системы подсистема. Или подсистема, исчерпавшая ресурс развития. Новая подсистема работает на ином (хотя уже известном ранее и используемом в других системах) принципе действия, позволяющем получить новое качество. 10
Примеры
Автомобиль – немного измененная карета, в которую устанавливается двигатель внутреннего сгорания (или электрический двигатель). Обратим внимание на то, что и карета была известна, и двигатель внутреннего сгорания вышел на второй этап развития. Но новая система обладала более высокими потребительскими качествами по сравнению с обычной каретой. Именно поэтому и появилась новая величайшая S-кривая – автомобили. 11
Рисунок 7. Первый автомобиль Луи Рено. Не правда ли он очень похож на коляску?
Замечание. Еще раньше, в конце XIX века, были попытки установить на карету паровой двигатель. Но электродвигатель и двигатель внутреннего сгорания выиграли конкуренцию у парового двигателя, который был слишком тяжелым.
Рисунок 8Паровой «автомобиль», разработанный Фердинандом Вербистом в 1672 году; паромобиль Маркуазье 1894 год .
Пример
Создание реактивной авиации – замена винтового двигателя на реактивный, которая со временем полностью изменило конструкцию самолета. Это была принципиально иная конструкция – новая S-кривая. Хотя, справедливости ради, отметим, что и ракетный двигатель и самолет были разработаны и использовались до создания реактивного самолета.

