
Ставни, навесы, жалюзи

Марина Владимировна Куропаткина
Ставни, навесы, жалюзи
Введение
Эта книга будет интересна всем – и тем, кто планирует или уже начал строительство своего частного дома, и тем, кто проживает в обычной городской квартире. И в самом деле, оформление окон – важная и всегда актуальная тема. И недостаточно просто заказать и установить рамы в оконные проемы или застеклить балкон (лоджию). Как правило, окна нуждаются в дополнительной защите, особенно если квартира расположена на первом или втором этаже многоэтажного дома. Что касается частного дома, особенно, если хозяева проживают в нем не постоянно, а время от времени, то защита от грабителей, шума или солнца ему необходима в первую очередь. Наиболее удобными и красивыми элементами, защищающими окна, считаются ставни.
В недалеком прошлом ставни украшали практически все частные дома не только в сельской местности, но и в городах. Однако украшением их можно было назвать далеко не всегда: покосившиеся, с облупившейся краской, они не улучшали дизайн дома и невольно наводили на мысль об упадке и разрухе. Кроме того, у них был ряд существенных недостатков: как правило, они были сплошные и не пропускали света, к тому же для того, чтобы закрыть их, требовалось выйти на улицу. Изнутри закрыть ставни было невозможно. Однако в настоящее время ставни снова актуальны: предлагается огромное разнообразие моделей, позволяющих улучшить внешний вид дома и сделать проживание в нем более комфортным.
Навес защищает обитателей дома или квартиры от непогоды: палящего солнца, дождя, снега, града. Его можно установить как над входной дверью, так и над балконом. Кроме того, это сооружение поможет преобразить фасад здания, улучшить его дизайн.
Но самыми популярными в наши дни, наверное, являются жалюзи. Выполненные из соломки, деревянных планок, пластика, они прекрасно заменят гардины и шторы. Металлические рольставни, которые, по существу, также являются жалюзи, устанавливают не только на окнах, но и на дверях (в основном в гаражах). Их достоинство в том, что они открываются одним нажатием кнопки или даже с пульта дистанционного управления.
И ставни, и навесы, и жалюзи вполне можно выполнить и установить самостоятельно, пользуясь рекомендациями данной книги. Только наиболее сложные конструкции, например навес над балконом многоэтажного дома или рольтавни, лучше монтировать после консультации со специалистом или в его присутствии, так как некоторые виды работ опасны для неопытного человека и могут стать причиной травмы.
Надеемся, что сведения, изложенные в данном издании, помогут сделать дом или квартиру более уютным и комфортным местом для проживания.
Глава 1. Ставни
С древних времен на окна устанавливали ставни. В основном они предназначались для защиты помещений от грабителей и самих оконных проемов от внешнего воздействия. Это остается актуальным и в наши дни, только к упомянутой основной функции добавилась и другая: сделать проживание к доме или квартире более комфортным. Так, в жаркую погоду, прикрыв ставни, можно сохранить в комнате утреннюю прохладу, при этом они не будут препятствовать проникновению в комнату свежего воздуха. В яркий солнечный день они помогут предохранить занавеси на окне от выгорания, а во время непогоды – защитить от града или падающих веток.
Говоря о ставнях, необходимо определить, что вкладывать в это понятие. Традиционно ставнями называли закрывающие окна дощатые полотна, которые украшали росписью или резьбой. В настоящее время ставни не всегда выполняются из сплошного дощатого полотна и даже далеко не всегда являются деревянными. Они могут быть пластиковыми, металлическими и т. д.
Виды ставен
Как уже упоминалось выше, главным назначением ставен всегда являлась защита помещения от воров и солнечного света, а самих окон – от повреждений. Кроме того, в условиях российского климата ставни в настоящее время должны выполнять также теплоизолирующую функцию.
В прошлом ставни крепились исключительно с наружной стороны окон. В настоящее время их нередко устанавливают с внутренней стороны, а также на дверях балконов и лоджий.
Материал, из которых изготавливаются ставни, также может быть самым различным: дерево, металл, пластик, даже бумага. Все зависит от главной функции, которую выполняют ставни, а также от дизайна интерьера помещения (если они установлены изнутри) или фасада (если они крепятся на окна снаружи).
Существуют глухие ставни или ставни, пропускающие солнечный свет. Они не способствуют экономии тепла зимой, однако даже в закрытом состоянии не препятствуют проникновению свежего воздуха в комнату (рис. 1). Их собирают из горизонтальных реек (ламелей), установленных под определенным углом, благодаря чему солнце, проникая через них, дает рассеянный свет. В последнее время появились ставни с регулируемыми жалюзиобразными решетками, позволяющими изменять угол ламелей.

Рис. 1. Жалюзи, выполненные из горизонтальных реек.
Защитные функции выполняют лишь ставни, устанавливаемые снаружи. Внутренние ставни, как правило, изготавливают из тонкого легкого материала. Они защищают помещение только от солнца, кроме того, являются важнейшей частью интерьера.
Их следует выбирать с особой осторожностью: они могут совершенно преобразить комнату, подчеркнув ее оригинальность. Подобранные неправильно, они, наоборот, могут нарушить интерьер помещения и сделать пребывание в нем неприятным.
Так, для оформления комнаты можно выбрать раскладные ставни с поднимающимися жалюзи. Они могут доходить только до половины окна, не давая заглянуть в комнату снаружи (если она расположена на первом этаже).
Если в комнате есть балкон или лоджия, на их двери можно установить так называемые американские ставни (рис. 2). Они крепятся на двери балкона или лоджии, защищая помещение и от солнца, и от непрошеных гостей.

Рис. 2. Американские ставни.
Кроме того, в последнее время популярны раскладные ставни-гармошка. Они выполнены из пластинок, угол наклона которых можно менять, регулируя таким образом интенсивность освещения в комнате.
Существуют даже ставни, изготовленные из бумаги (рис. 3). Бумага может быть белой или украшенной рисунками или текстами. Например, для создания японского интерьера можно использовать пергамент, на котором тушью написаны иероглифы. Бумагу натягивают на деревянный каркас, который крепят петлями к оконному проему.

Рис. 3. Бумажные ставни.
Внутренние ставни вполне по силам изготовить самостоятельно. Что касается наружных ставней, то самостоятельно можно выполнить только деревянные ставни, однако для таких работ требуется большой опыт. В противном случае, ставни выполненные из неподходящего вида дерева, могут разбухнуть после первого же дождя или, наоборот, усохнуть под воздействием солнечных лучей. К тому же подобные ставни не будут служить хорошей защитой от воров. Что касается других материалов – пластика, металла – из них изготовить ставни в домашних условиях еще сложнее. Поэтому лучше все же доверить такую работу профессионалам.
Ниже будут даны общие рекомендации по изготовлению деревянных ставней и описаны две модели внутренних ставней.
Инструменты
Прежде чем приступать к сборке и установке ставен, необходимо иметь в наличии следующие инструменты.
РулеткаРулетка представляет собой измерительную ленту из тонкой гибкой стали, заключенную в металлический или пластмассовый корпус (рис. 4). Сматывается лента автоматически. Длина измерительной ленты колеблется от 100 до 1000 см. Деления нанесены через каждый миллиметр. Сантиметры и десятки сантиметров отмечены цифрами. Рулетку используют для измерения линейных величин.

Рис. 4. Виды рулеток.
Складной метрТакой метр (рис. 5) выполнен из металлических, пластиковых или деревянных пластинок с миллиметровыми и сантиметровыми делениями. Между собой пластинки соединены шарнирами. Такой метр удобен при устройстве паркета и при измерении небольших величин.

Рис. 5. Складной метр.
УгольникУгольник используют для установления точного прямого угла и для измерения угла между сторонами деталей ставней. Он чаще всего состоит из металлических или деревянных частей, реже делается полностью стальным. На одной из сторон имеется разметка в 1 мм для удобства в работе (рис. 6).

Рис. 6. Угольники: а – деревянный; б – металлический.
РейсмусРейсмус используют для разметки и нанесения отметок, параллельных одной из сторон бруска. Он имеет вид толстого бруска, в который вставлены две планки, имеющие на одной из сторон металлические острия для отметок (рис. 7).

Рис. 7. Рейсмус.
ЕрунокЕрунок представляет собой угольник из двух пластин, одна из которых закреплена на середине другой под углом 45°. Такой угольник удобен в определении угла в 135° (рис. 8).

Рис. 8. Ерунок.
МалкаМалка нужна для точного измерения углов по образцу и перенесения их на заготовку без поградусного уточнения. Такой инструмент состоит из двух деревянных пластин, закрепленных на шарнире (рис. 9).

Рис. 9. Малка.
ЦиркульИспользуется для вырисовывания круглых деталей на заготовках, а также при быстром перенесении разметки (рис. 10).

Рис. 10. Циркули.
МолотокЭто наиболее часто используемый инструмент, необходимый не только для изготовления ставней, но и для других плотничьих и столярных работ. В магазинах продают готовые молотки, а также отдельные их части. Для рукоятки молотка используют древесину кизила, груши, акации, которые отличаются особой твердостью и дешевизной. Для бойка молотка берут только высококачественную сталь. Но даже этот простой инструмент имеет несколько разновидностей (рис. 11).

Рис. 11. Виды молотков: а – плотничный обычный; б – киянка; в – плотничный с квадратным обушком; д – плотничный с круглым обушком.
Обычный молоток (рис. 11, а) можно найти в любом магазине. Ударная поверхность такого молотка имеет прямоугольную или квадратную плоскость. Другой конец бойка заострен, его часто используют для выправления гвоздей при забивании.
Деревянный молоток, или киянка (рис. 11, б), используется для притирки деревянных массивов при склеивании. Также довольно часто он нужен при работе с долотом, у которого ручка сделана из дерева. Удары, наносимые обычным молотком, могут просто разбить ручку и привести долото в негодность.
Плотничный молоток отличается от обычного тем, что хвост бойка у него разделен на две части по типу ласточкиного хвоста. Этот конец используют чаще всего для выдергивания гвоздей (рис. 11, в, г).
КлещиДля работы с древесиной необходимы клещи. Их основное назначение – выдергивание гвоздей, откусывание шляпок гвоздей, загибание проволоки и гвоздей при креплении. В зависимости от того, что необходимо сделать, различают острогубцы, плоскогубцы и круглогубцы (рис. 12).

Рис. 12. Виды клещей: а – плоскогубцы; б – кусачки; в – клещи; г, д – пассатижи.
Например, плоскогубцы и пассатижи (рис. 12, г, д) применяют для выдергивания, загибания, перекусывания гвоздей, отвинчивания гаек, удаления из древесины шурупов с сорванными пазами и для других вспомогательных работ.
ОтверткаДля крепления деталей с помощью шурупов нужны различные отвертки. В зависимости от паза на шляпке шурупа необходимо иметь два типа отверток: клинообразную и крестообразную (рис. 13).

Рис. 13. Отвертки: а, б – плоские; в – крестовая.
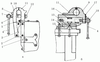
ТискиТиски (рис. 14) могут быть параллельными и стуловыми. И те и другие состоят из подвижной и неподвижной губок и рычагов для вращения винтов. Тиски закрепляют на верстаке.

Рис. 14. Тиски: а – стуловые; б – параллельные: 1 – лапа для крепления тисков к верстаку; 2 – боковина; 3 – пружина; 4 – рычаг; 5 – планка для крепления тисков к верстаку; 6 – шайба; 7, 8 – стяжной и червячные винты; 8, 10 – козырьки; 9 – подвижная губка; 11 – неподвижная губка; 12 – втулка; 13 – верстак; 14 – нижняя плита; 15 – поворотный круг; 16 – гайка; 17 – крышка.
ЗажимыЗажимы необходимы при склеивании, стягивании и креплении деталей. Их металлическая конструкция не всегда пригодна для крепления деталей, так как зачастую оставляет следы на поверхности заготовок для ставней. Чтобы этого не происходило, используют куски резины, веревки или деревянные бруски.
ПилыПила представляет собой металлическую ленту или металлический диск с нарезанными зубьями-резцами. Шагом пилы называют расстояние между вершинами 2 соседних зубцов, расстояние между вершиной зуба и его основанием называют высотой зуба. Для удаления образующихся во время пиления опилок на полотне предусмотрены впадины, которые называют пазухами. Каждый зуб имеет три режущие кромки – одну переднюю (короткую) и две боковые.
Зубья пил для продольной распиловки (рис. 15, а) короткой режущей кромкой перерезают волокна, а боковыми разделяют волокна между собой по их направлению. Зубья этих пил имеют прямую заточку, могут пилить только в одну сторону и по форме напоминают треугольник.

Рис. 15. Зубья пилы: а – для продольной распиловки; б – для поперечной распиловки.
Зубья пилы для поперечной распиловки (рис. 15, б) короткой режущей кромкой разделяют волокна, а боковыми перерезают их. Зубья, напоминающие по форме равнобедренный треугольник, имеют двустороннюю заточку, поэтому ими можно пилить в обе стороны.
Также может понадобится ножовка. От толщины полотна и разводки зубьев ножовки зависит качество отпиленной поверхности. При выполнении разных видов работ используют различные типы ножовок: с толстым или тонким полотном, с крупными или мелкими зубьями.
Для столярных работ больше подходит ножовка с «мышиным зубом» – мелким и частым, а для плотничных – ножовка с редким и крупным зубом. Широкая ножовка используется при распиле древесины поперек волокон. Зубья такой ножовки заточены под углом 45°, а разведены по 0,5 мм от центральной оси, широкая ножовка применяется для поперечного раскроя досок и брусков (рис. 16, а).

Рис. 16. Виды ножовок: а – поперечная широкая; б – узкая; в – с обушком; г – ножовка-наградка; д – двуручная поперечная пила.
Узкая ножовка используется преимущественно для распила тонких досок и сквозных пропилов, а также для криволинейной распиловки деталей. Размер разводки и способ заточки зубьев у такой ножовки ничем не отличается от затачивания широкой ножовки (рис. 16, б).
Ножовку с обушком используют при выпиливании небольших деталей и при подгонке соединений. Особенность этой ножовки состоит в том, что полотно по всей длине укреплено дощечкой. Тонкое полотно этой ножовки не способно самостоятельно удерживать направление распила и зачастую ломается при работе (рис. 16, в).
Ножовка-наградка используется для пропиливания пазов (рис. 16, г).
Поперечная двуручная пила используется для поперечного распиливания круглого леса, брусьев, толстых досок (рис. 16, д).
НожиНож-косяк предназначен для резания небольших углублений в массиве древесины, а также для разрезания шпона на куски. Лезвие ножа-косяка скошено под углом 30–40°, а полотно ножа может варьироваться в зависимости от его предназначения – от 4 до 5 см (рис. 17).

Рис. 17. Нож-косяк.
Заточка лезвия ножа может быть выполнена как с одной стороны, так и с двух, в зависимости от этого различают ножи с одной и двумя фасками. Ножи с одной фаской бывают правые и левые в зависимости от того, где снята фаска.
НапильникНапильники разной формы нужны для окончательного шлифования поверхности, снятия всех заусенцев, неровностей и шероховатостей, там, где невозможно использовать другой инструмент (рис. 18).

Рис. 18. Напильники: а – плоский; б – трехгранный; в – надфиль.
ШкуркиДля шлифования поверхности древесины используют наждачную шкурку. Она может быть на бумажной, матерчатой или картонной основе. Шкурки различаются по виду и размеру зерен абразива.
На внутренней части рулонов шкурки должны стоять маркировки в виде букв и цифр. Буквы обозначают тип абразива, из которого сделано покрытие, а цифры – размер зерен: чем меньше цифра, тем мельче абразив.
Буквы обозначают:
– КР – кремний (один из самых распространенных типов абразивного материала для наждачных шкурок);
– КВ – кварц;
– С – толченое стекло.
Первоначальную грубую обработку производят с помощью крупнозернистой шкурки, а чистовую – мелкой, не оставляющей царапин и других следов на поверхности.
Для удобства работы со шкуркой берется небольшой брусок и оборачивается куском наждачной бумаги. Использование бруска дает возможность зачищать поверхность без ям и впадин, делая ее ровной. Шлифовать поверхность нужно вдоль волокон древесины или немного наискосок.
ЭлектродрельЭлектродрель (рис. 19) предназначена для сверления отверстий. Этот инструмент состоит из электромотора, который через последовательную цепь креплений соединяется со шпинделем патрона для сверла. Чаще всего для этой операции используются спиральные сверла. Кроме прямого назначения, электродрель можно использовать для полировки, шлифовки, размешивания красок и т. д.

Рис. 19. Электродрель.
В ходе работы сверло должно проникать в поверхность постепенно, без рывков и толчков. Если необходимо сделать сквозное отверстие, нажим по мере продвижения сверла необходимо уменьшить. При работе с дрелью используют ложечные, центровые или спиральные сверла.
Иногда при сверлении деревянных деталей в месте выхода сверла дерево откалывается, а само отверстие получается скошенным. Для того чтобы избежать этого, следует придерживаться следующих правил:
– заготовка, которую необходимо просверлить, должна быть надежно закреплена;
– центры будущих отверстий следует намечать шилом или начертить обыкновенным карандашом;
– нужно проверить точность направления сверла дважды: перед началом сверления и после того, как сверло войдет на небольшую глубину;
– направление сверла при высверливании глубоких отверстий можно проверить на глаз, по заранее отмеченной карандашом линии.
Для сверления несквозных отверстий используют ограничитель – деревянный брусок, который располагают сбоку сверла и сверлят до тех пор, пока ограничитель не соприкоснется с зажимным патроном. Перед началом работы сверлят брусок сверлом большого диаметра и получают приспособление для наблюдения за углом сверления.
Можно сделать несколько отверстий под разными углами, которые впоследствии послужат эталоном. Около каждого из них делают необходимую пометку, чтобы получился универсальный шаблон.
Очень часто отколы дерева происходят в месте, где выходит сверло, и чтобы избежать этого, необходимо внимательно наблюдать за выходом сверла наружу: как только оно покажется, следует перевернуть деталь и прекратить сверление. В принципе, возможно сверление в одном направлении, но тогда под низ обрабатываемого предмета следует положить небольшой брусок дерева.
Очень часто появляется необходимость расширить уже просверленное отверстие. Для этого в имеющееся отверстие вставляют деревянную пробку, а в середину вворачивают сверло. В данной ситуации пробка служит центрирующим звеном и направляет сверло по оси меньшего отверстия. Сверло можно использовать и в качестве вспомогательного инструмента для выдалбливания гнезд. Но для этого потребуется сверло, диаметр которого равен ширине будущего отверстия. Сверлят на нужную глубину ряд гнезд, а затем убирают оставшиеся перемычки стамеской.
СтуслоОно представляет собой подобие желоба, состоящего из трех досок. Две доски должны быть сбиты на основании параллельно друг другу, а угол между основанием и сторонами должен быть 45°. На сторонах стусла делают несколько специальных пропилов под определенным углом, причем их количество должно быть одинаковым с двух сторон. Линия с одной стороны доски должна продолжаться на другой так, чтобы было удобно распилить доску под определенным нужным углом.
Чаще всего на стенках делают 2–3 пропила: под углом 45, 60 и 90°. Последний из них встречается редко.
Стусло используют для ускорения процесса пиления досок под определенным углом. Для этого доску кладут между сторонами стусла и прижимают к дальней стороне, только после этого приступают к распиливанию доски.
Древесина
Как уже упоминалось, для изготовления ставен используются самые различные материалы. Однако наиболее популярным все же остается древесина, поэтому о ней будет рассказано более подробно. К достоинствам этого материала относится то, что он очень удобен в обработке, прочен, легок и долго сохраняет тепло и приятный запах.
Для того чтобы работать с древесиной, нужен опыт. Она не относится к капризным строительным материалам, но некоторые ошибки невозможно исправить: нельзя будет надставить несколько сантиметров неровно отпиленной доски или выровнять испорченную поверхность без ущерба будущему изделию.
При работе можно либо исказить, либо подчеркнуть рисунок древесины. Во втором случае выполненное изделие только выиграет и будет прекрасно смотреться без покрытия. Усилить игру тонов помогут различные древесные лаки, которые наносят на поверхность двумя-тремя тонкими слоями.
Основные показатели древесины
Основными показателями древесины являются плотность, влажность, тепло– и звукопроводность, коррозийная стойкость, а также цвет, блеск, запах и текстура.
Плотность древесины – это отношение ее массы к объему, измеряемой в г/см3 или кг/м3. Этот показатель зависит от породы древесины, возраста, условий роста, ее влажности. Нет необходимости подробно изучать данный показатель; достаточно знать, что древесина, отличающаяся большей плотностью, служит гораздо дольше и меньше подвержена необратимым изменениям, чем менее плотная (однако следует учесть, что для чистоты сравнительного анализа плотность древесины измеряют на образцах влажностью 15 %). Самая большая плотность у дуба, далее по убывающей следуют: ясень, клен, лиственница, бук, береза, сосна, липа, осина, ель и т. д.
Влажность лесоматериалов, используемых в строительстве и при изготовлении деревянных изделий, является показателем ее качества и долговечности. Различают следующие виды древесины:
– комнатно-сухую (влажность 8–12 %);
– воздушно-сухую искусственной сушки (влажность 12–18 %). Этот и предыдущий виды получают путем сушки пиломатериалов в сушильных камерах;
– атмосферно-сухую естественной сушки (влажность 18–23 %). Ее получают в результате продолжительного хранения лесоматериалов, уложенных штабелями на прокладках в сухих проветриваемых помещениях или под навесом, без допуска воздействия прямых солнечных лучей;
– влажную (влажность более 23 %).
Чем меньше показатель влажности древесины, тем меньше она подвержена гниению. Однако не следует стремиться использовать материалы наименьшей влажности. Дело в том, что структура древесины очень гигроскопична: она легко отдает переизбыток влаги при повышении температуры и уменьшении влажности окружающей среды и с такой же легкостью впитывает влагу при снижении температуры и повышении влажности окружающей среды. Это неминуемо приводит: в первом случае – к усушке древесины (уменьшению ее размеров), во втором – к ее разбуханию (увеличению размеров).
И усушка, и разбухание изменяют размеры деревянной детали неодинаково в различных направлениях. В результате происходит коробление древесины, деформация деревянных конструкций, что в конечном итоге приводит их в негодность. Самый простой способ предупреждения коробления – применение древесины, влажность которой в момент использования соответствует эксплуатационной влажности.

