
Планировка участка

Наталья Владимировна Иванова
Планировка участка
Введение
Итак, вы приобрели земельный участок. В первую очередь необходимо продумать, каким будет ваш участок. Вы хотите использовать его для отдыха или для выращивания ценных овощных и садовых культур? Решить эту проблему довольно сложно, так как участок должен отвечать потребностям и интересам всех членов семьи.
Если вы все-таки решили сделать земельный участок любимым местом для отдыха, смело берите в руки инструменты и воплощайте в жизнь свои фантазии. Не позволяют финансовые возможности? Выберите самые необходимые для обустройства элементы и создайте гармоничную композицию. Главное, чтобы вы чувствовали здесь себя легко и свободно, могли отдохнуть от повседневной рутины. Не забудьте про самых маленьких и разместите на участке площадку для игр или песочницу.
Если вы выбрали участок для закладки сада или огорода, помните, что это довольно ответственное дело, так как в дальнейшем от вас потребуется много сил для поддержания их в соответствующем виде. При создании благоприятных условий для роста и плодоношения растений ваши старания окупятся сполна.
Известно, что ягоды, плоды и овощи являются ценными продуктами питания, которые необходимы для нормальной жизнедеятельности организма человека. Регулярное потребление фруктов и овощей защищает организм от всевозможных заболеваний.
Садоводство имеет большое значение для окружающей среды. Плодовые деревья в процессе фотосинтеза обогащают воздух кислородом. По подсчетам ученых, 1 га сада, так же как и 1 га леса, за день поглощает до 8 кг углекислого газа, который образуется при дыхании примерно 200 человек. Многие плодово-ягодные культуры выделяют фитонциды, которые губительно действуют на большинство видов бактерий. Зеленые насаждения очищают воздух, выполняя функции фильтра. В них задерживаются частицы дыма и пыли, которые затем смываются дождем.
Установлено, что садовые насаждения изменяют микроклимат местности. Связано это прежде всего с тем, что в процессах жизнедеятельности с листьев испаряется в среднем до 500 л воды. Транспирация – именно так называется процесс испарения – влияет на изменение температуры окружающей среды и влажности воздуха.
Садоводство и овощеводство необходимо не только для улучшения экологической ситуации. Многие люди одыхают, когда соприкасаются с землей, и заряжаются от нее жизненной энергией.
Эта книга поможет вам правильно расположить на участке хозяйственные постройки и найти нужное место для каждой садово-огородной культуры.
Глава 1. Общие рекомендации по планировке участка
В нашей стране средняя площадь участка сезонного и постоянного пользования составляет 6–12 соток, поэтому при его планировке необходимо продумать архитектуру дома, а также выделить площадь под надворные постройки.
Проектирование
Перед проектированием желательно приобрести геодезический план будущего участка. Такой план, как правило, разрабатывается в бюро технической инвентаризации.
При планировке участка учитываются все подземные коммуникации, например газопровод, водопровод, канализация. При наличии на участке зеленых насаждений планировка обязательно учитывает их сохранение, так как для того, чтобы вырастить новое дерево, могут потребоваться целые годы. Деревья хорошо защищают участок от шума и пыли и создают тень, что можно использовать при устройстве в этой части детского уголка или площадки.
Немаловажное значение имеет и характер микроклимата данной территории. Известно, что в низине температура всегда на 5–6 °C ниже, поэтому эту особенность нужно учитывать при посадке плодово-ягодных культур, подвергающихся вымерзанию. Здесь лучше всего посадить кустарник или овощные влаголюбивые культуры. Микроклимат территории во многом зависит от рельефа участка. На равнине можно создать спортивную площадку или сад и огород.
При подборе плодово-ягодных культур обращают внимание на состав почвы. Например, для овощей подходит осушенная почва с содержанием торфа, для закладки сада потребуется суглинистая или супесчаная. Тип почвы можно определить самому. Для этого нужно скатать небольшой комок почвы в жгутик. Если комочек образовался без трещин, то на вашем участке глинистая почва. Легкое растрескивание характерно для суглинистой почвы, а нескатывание влажного комочка в жгутик – для супесчаной.
В проекте приусадебного участка предусматривают место для сада и огорода, а также надворных построек. Хозяйственные постройки проектируют в соответствии с действующими нормами. Рекомендуется выбрать следующие показатели площади: для сарая – 15 м2, гаража – 18, летней кухни – 10, летнего душа – 4, теплицы – 20, бани – 12.
При проектировании сада и огорода принимают во внимание климатические условия и средние потребности семьи. В среднем на европейской территории России на площади 8–10 соток можно высадить 10 яблонь, 2 груши, 8 корней сливы и вишни, по 15 кустов красной и черной смородины, 20 – малины, 250–300 – клубники или земляники. Закладка огорода предусматривает учет средней урожайности овощных культур. Для огурцов эта величина составляет 3–5 кг на 1 м2, томатов – 4–8, моркови и свеклы – 4–6, лука репчатого – 2–4, кабачков – 6–7, перца сладкого – 2–3, капусты – 4–10.
При закладке сада необходимо соблюдать следующие минимальные расстояния (табл. 1)
Таблица 1
При закладке молодого сада можно уплотнять деревья ягодными культурами, которые по мере их роста удаляются. Проектируя место для огорода, необходимо заранее разделить этот участок на 4–5 частей. В дальнейшем культуры одного семейства высаживают поочередно на каждом из полученных секторов. Таким образом создается севооборот, необходимый для оптимального соотношения различных культур на одном участке.
Декорирование приусадебного участка подразумевает создание уголков отдыха, цветников, газонов и лужаек. При создании мест для отдыха учитывают интересы всех членов семьи. Здесь обязательно должна быть спортивная площадка, для детей – качели и песочница.
Фасадная сторона участка является главным элементом декоративного оформления. Ограждение может быть различным, в зависимости от сложившихся на данной территории традиций, используемых материалов, возможностей владельца участка.
Если дом расположен в глубине участка, следует создать эффект иллюзорного пространства. Это легко достигается с помощью изгороди из зеленых насаждений или мелкой металлической сетки, декоративных стенок, рисунка и фактуры дорожек, отдельно стоящих деревьев.
Каждый владелец приусадебного участка может проявить творческие способности при подборе фактуры отделочных материалов трельяжей и пергол. Лучшим цветовым и композиционным решением считаются перголы и трельяжи пастельных тонов на фоне вьющихся зеленых насаждений. Дорожки, выложенные из природных камней неправильной формы, и деревянные скамейки, покрытые светлым лаком, придадут живописность всей композиции. В качестве примера можно предложить проект дачного участка, представленного на рис. 1.

Рис. 1. Проект дачного участка (примерная площадь 400 м2).
Условные обозначения, показанные на рис. 2, помогут составить общее впечатление о предложенном проекте, а в дальнейшем и план собственного участка.

Рис. 2. Условные обозначения: 1 – дом, 2 – летняя кухня, 3 – гараж, 4 – хозяйственные постройки, 5 – дворовый туалет, 6 – компост, 7 – дворовый камин или очаг, 8 – навес, 9 – спортивная площадка, 10 – купальный или декоративный водоем, 11 – уголок отдыха, 12 – детская площадка, 13 – насыпь, 14 – бордюр, 15 – ограда, 16 – ворота, 17 – калитка, 18 – вход, 19 – дорожки, 20 – тропинки с покрытием, 21 – подпорная стенка с лестницей, 22 – трельяж, 23 – вертикальное озеленение, 24 – пергола, 25 – газон, 26 – цветники, 27 – живая изгородь, 28 – высокорослые дикорастущие деревья, 29 – декоративные деревья, 30 – хвойные деревья, 31 – сильнорослые плодовые деревья, 32 – слаборослые плодовые деревья, 33 – ягодный кустарник, 34 – огород, 35 – масштаб.
Ограждение участка
Ограждение участка – необходимый элемент при его проектировании. В соответствии с архитектурными требованиями, принятыми в России, ограда должна отвечать нескольким условиям:
1. Обозначать границы участка.
2. Изолировать участок от участков других владельцев.
3. Не прпятствовать циркуляции воздуха на территории участка.
4. Не создавать тень, препятствующую росту растений (в том числе и на соседних участках).
Ограда любой конструкции обычно состоит из основания и обрешетки. В качестве основания служат различного рода фундаменты, цоколи, столбы или несущий каркас из проволоки, рамок и т. д. Для заполнения обрешетки используют хворост, жерди, доски, рейки, кирпич, металлическую сетку и т. п. Выбор материалов, используемых для строительства ограды, зависит от местности. В средней полосе России чаще всего можно встретить ограды, выполненные полностью из дерева, на юге ограды сооружают из природного камня, кирпича, шлакоблоков и ракушечника.
Столбы
Столбы образуют несущую конструкцию ограды, поэтому их установка требует предельной тщательности. Если для создания ограды берут деревянные столбы, то их нижнюю часть обрабатывают горячим битумом или гудроном, чтобы предотвратить гниение и порчу. Эту же операцию можно проделать с помощью полиэтиленовой пленки или толя.
Металлические и асбоцементные столбы считаются наиболее прочными, однако перед их установкой также проводят комплекс мер, исключающих попадание внутрь труб влаги. Для этого трубы заливают цементом или закупоривают их крышками от консервных банок. Слеги прикрепляются к столбам с помощью кронштейнов, скоб и хомутов. Скобы можно изготовить из арматурного железа диаметром 10–12 мм, хомуты – из полосовой стали толщиной 2–3 мм.
В настоящее время большой популярностью пользуются бетонные столбы. Для установки столбов выкапывают яму глубиной до 90 см. В этом случае можно воспользоваться ледобуром. Столб обязательно бутируют кирпичом или щебнем, а затем закрепляют бетонной стяжкой.
Иногда столбы выполняют из кирпича. Фундамент для столбов делают из бутового камня, закрепляя его бетонной или растворной стяжкой. Столб выкладывают в полтора кирпича с выступающим на 6 см цоколем внизу. Вверху делают карниз в виде четырехскатной крыши, который штукатурят цементным раствором, а в дальнейшем красят водостойкой краской. Глубина ямы для установки кирпичных столбов зависит от характера почвы. Для глинистой почвы заглубление фундамента должно быть не больше 60–80 см, а для песчаных – 40–60 см. Соединяются столбы цоколем шириной в один кирпич.
Заборы из дерева
Деревянные ограды отличаются небольшим сроком службы, однако на территории России их можно встретить практически повсеместно. Слеги служат несущими элементами деревянного забора. Их изготавливают из брусьев или жердей, которые сращивают по ширине вполдерева или косым прирубом. В сквозных гнездах слеги скрепляют только по высоте с помощью деревянных клиньев.
Для обрешетки деревянного забора используют доски и планки длиной 1,2–1,8 м. Закрепляют их по веревке или по шаблону. Конструкция обрешетки должна быть построена с использованием тех элементов, которые увеличивают долговечность сооружения. Чаще всего применяются верхние торцы штакетника со срезом на «ус» или «с крышей».
Для того чтобы предохранить штакетник от гниения, между столбами устанавливают специальный цоколь из кирпича, бетона или природного камня. Для строительства забора лучше использовать дешевый местный материал, например жерди и хворост.
На некоторых приусадебных участках ограды сооружают из прутьев или веток лозы. Каркасом для обрешетки в этом случае служат столбы, скрепленные тремя слегами. Если лесоматериалы зачистить от коры, то такой забор прослужит дольше.
Методом плетения можно сделать декоративные внутренние ограды. Они оформляются в виде решетки или низкого заборчика с максимальной высотой 1,5 м. Для такой ограды лучше выбрать березовые ветки диаметром 25–40 мм.
Применение проволочной сетки для изготовления оград
Для ограды из проволочной сетки выбирают несущую конструкцию из металлических столбов. Столбы укрепляют на бетонном основании и натягивают между ними два ряда проволоки диаметром 3–6 мм. Для столбов можно использовать трубы диаметром до 60 мм. В каждом столбе необходимо просверлить два отверстия для несущей проволоки, а в угловом – четыре отверстия диаметром 8–10 мм, в которые вставляют специальные крючки для натягивания проволоки.
Перед установкой столбов место, где будет стоять ограда, помечают деревянными колышками с натянутым между ними шнуром. Расстояние между столбами должно составлять 3,5–3,8 м. Столбы заглубляют на 50 см, причем сначала устанавливают угловые столбы, а затем уже рядовые. Основание угловых столбов рекомендуется закрепить бетонной заливкой. Столбы должны постоять минимум неделю, потом на них крепят несущую проволоку и сетку.
Сетку лучше натягивать вдвоем. Один разматывает моток проволоки и следит за тем, чтобы она не скручивалась, другой протягивает ее через отверстия. На угловом столбе проволоку закрепляют на 10 оборотов.
Стандартная проволока выпускается шириной 150 см. Размер образующих ячеек составляет 50 см. Если при сооружении ограды была использована оцинкованная сетка, ее нужно красить через два года. Неоцинкованную красят сразу же после установки ограды. Временно закрепляют сетку с помощью мягкой проволоки, затем ее осторожно поднимают и также закрепляют верхний край. Сетку закрепляют на несущей конструкции через каждые 30–40 см. Этот вид ограды удобен в эксплуатации и не требует специальных навыков для его создания.
Комбинированные виды ограды
Подобные ограды сооружают в местности, богатой природными материалами. Используют камни с хотя бы одной плоской гранью. Толщина кладки, как правило, не менее 40 см. Однако, если ограда достаточно длинная, на всей ее протяженности ставят подпорные стенки из камня.
В месте установки ворот или калитки строят столбы с сечением не менее 50 см. Фундамент для каменной ограды делают по той же схеме, что и для кирпичного столба. Верхнюю часть каменной ограды штукатурят цементным раствором, а при влажном климате делают отводки для дождевых вод. При желании с внутренней стороны ограды можно сделать несколько ступенек.
Для удлинения срока службы и декоративности ограду выполняют из различных строительных материалов. Например, цоколь и столбы можно сделать из красного кирпича, обрешетку – из металлической сетки или деревянного штакетника.
Если дом выстроен из красного кирпича, то и ограду выполняют из того же материала, декорируя ее расшивкой (рис. 3). Не рекомендуется сооружать ограду выше 140 см. Обрешетка выполняется из деревянных досок на деревянных слегах.

Рис. 3. Ограда из кирпича с деревянной обрешеткой.
Для обрешетки подобного типа ограды можно использовать более долговечную металлическую сетку (рис. 4). Для несущей конструкции выбирают круглые металлические столбы. Для укрепления основания их соединяют цоколем из природного камня или кирпича. Сетку приваривают к каркасу, состоящему из труб и уголков.

Рис. 4. Ограда с металлической обрешеткой.
Хорошо смотрится обрешетка из полосовой стали с налажением простейших декоративных элементов. Для предупреждения коррозии металлическую сетку ежегодно подкрашивают. В этом плане выгодно установить на приусадебном участке ограду из кирпича или фасонной керамики со сквозной обрешеткой (рис. 5).

Рис. 5. Ограда из кирпича и фасонной керамики.
Не рекомендуется использовать материалы зеленых оттенков, так как конструкции такого плана, как правило, не выделяются на общем фоне. Лучше выбрать коричневые или светло-желтые цвета, которые создают приятный общий колорит.
Надворные постройки
Сооружение надворных построек – одна из главных задач по благоустройству развитого приусадебного хозяйства. При планировке участка желательно выбрать отдельный сектор для расположения надворных построек, чтобы они были в относительной изоляции от всего хозяйства. Примерное расстояние между домом и хозяйственной территорией должно составлять не менее 15 м. Только в этом случае соблюдаются санитарно-гигиенические условия и нормы пожарной безопасности.
Надворные постройки должны вписаться в общую архитектурную композицию и не нарушать эстетического восприятия. Для удобства выбирают наименьшие расстояния между домом и хозпостройками. Ближе всего к дому лучше расположить летнюю кухню с погребом и кладовую для садово-огородного инвентаря. Сооружение надворных построек необходимо согласовывать с местными административными органами, а в некоторых случаях с пожарной и санитарной инспекцией.
Гараж
Гараж может быть построен из любого материала: дерева, железа или кирпича. Однако лучше всего взвесить все «за» и «против» перед постройкой подобного сооружения. Если построить деревянный гараж, то в этом случае на участке не будут соблюдаться нормы пожарной безопасности. В металлических гаражах создаются благоприятные условия для коррозии металла, что может привести к порче некоторых частей машины.
Целесообразнее строить гараж по схеме, представленной на рисунке (рис. 6).

Рис. 6. Кирпичный гараж: а – общий вид, фасад, б – вид сбоку, в – оптимальные размеры гаража.
Фундаментом для гаража служит основание, которое изготовлено из бетона, стены возведены из белого силикатного кирпича. Толщина стен – полкирпича. Шириной в кирпич возводятся угловые и промежуточные столбы. Крыша плоская, односкатная, обшивается досками толщиной до 50 мм. В конструкцию гаража входят две пары створчатых деревянных ворот, одна из которых обеспечивает въезд на прилегающую к гаражу площадку для мойки машин. Ширина гаража – 3,5 м, длина – 5,2 м. При таких размерах остается место для установки полок и стеллажей вдоль стен внутри гаража. Перед навешиванием ворот желательно поместить в нижней их части съемную доску, что создает возможность открывать ворота зимой при значительных снежных заносах. Для лучшего освещения при кладке в боковых стенах оставляют два оконных проема. Циркуляция воздуха обеспечивается вытяжной трубой диаметром 150 мм.
В сельской местности строят гаражи с двускатной крышей. В этом случае остается пространство для чердачного помещения, где можно хранить автозапчасти или прицеп. В целом под строительство гаража должна быть выделена площадь в 40 м2.
В гараже также можно разместить погреб для хранения продуктов или домашнюю мастерскую. Для облегчения мойки машины в гараже целесообразно сделать водопроводный ввод с обязательным утеплением на зиму. Горючие и взрывчатые вещества лучше хранить в специальном металлическом шкафу. Рекомендуется установить здесь верстак с тисками для выполнения ремонтных и профилактических работ. Предметы больших размеров можно хранить на щите, подвешенном на перекладинах из брусков.
Некоторые гаражи на приусадебных участках имеют смотровую яму. Однако в практике ее наличие нежелательно, так как наличие испарений над ямой, появляющихся в результате перепада температур, часто ведет к коррозии днища машины. Тем не менее если уровень грунтовых вод не поднимается выше 2,5–3 м, то смотровая яма может быть предусмотрена при возведениии гаража.
Баня
Издавна баня считалась чуть ли не главным сооружением на крестьянском дворе. В течение всего советского периода реорганизации коммунального хозяйства баня перестала быть необходимым элементом, но в последнее время интерес к ней стал возрастать. В некоторых домах создаются не только русские бани, но и финские сауны. Этот интерес вполне оправдан. Известно, что баня – одно из первых средств для профилактики и лечения инфекционных простудных заболеваний.
Русская баня и финская сауна отличаются по температурному режиму и влажности. В русской бане температура воздуха составляет 40–45 °C при влажности 60–80 %, а в финской температура достигает 90° С при влажности всего 20–30 %. В финской бане устанавливают специальные теплоотражающие экраны, в результате создается эффект термоса. Изготавливают такие экраны из металлической гофрированной бумаги и располагают их рядом с печкой.
Общая площадь участка под строительство бани подсчитывается исходя из расчета 3–4 м2 на одного человека. При строительстве лучше использовать сухие сосновые или еловые бревна и брусья. В них содержится большое количество ароматических веществ, которые не только создают неповторимый запах, но и способствуют уничтожению бактерий. Материалом для бани может служить и красный кирпич, однако при резком перепаде температур пар конденсируется на стенках, и баня быстро остывает.
В бане лучше делать низкую притолоку и высокий порог. В этом случае пар и тепло удерживаются в помещении долгое время. Дверь изготавливают из досок толщиной 40–50 мм с таким расчетом, чтобы она плотно заходила в фальцы коробки. Порог делают высоким, примерно 20–25 см. Высота окон – 1 м, потолка – 2–2,3 м.
При строительстве бани особое внимание следить обратить на полы и водослив. В предбаннике, помещении, где раздеваются люди, полы делают из двух настилов, как это принято в жилых домах. Пол покрывают краской или линолеумом. Можно выложить его плиткой. Устройство полов непосредственно в бане сопряжено с некоторыми трудностями. В первую очередь необходимо обеспечить нормальный сток воды. Его сооружают из водоотталкивающего материала в сторону небольшой ямки, которая называется приямком. В приямке не должно быть никаких отверстий. На уровне 10–12 см от дна устанавливают водосливную трубу с наклонной пластиной, которая не пропускает запах из канализации.
Деревянное покрытие выполняют с применением гидроизоляции. Для обеспечения нормального водостока верхнюю часть досок делают гладкой и покатой. Для циркуляции воздуха в канализации помещают вентиляционный стояк, который можно сделать из металлической или асбоцементной трубы диаметром 100 мм. На верхнем конце устанавливают колпак или дефлектор. По окончании строительства баню обрабатывают антисептиком для предотвращения гниения.
В качестве отопительного средства в бане используют печи-каменки. Подобные печи состоят из гранитных камней и нагреваются от исходящего из топливника тепла. Для растопки обычно берут березовые дрова.
Чаще всего печи-каменки возводят из огнеупорного кирпича. Толщина стен может быть либо в полкирпича, либо в кирпич. На топливник уходит в среднем 150 кирпичей и по 20 кг песка и глины. Над топливником помещают котел, снабженный крышкой. Его соединяют газоотводными трубами с камерой каменки, наполненной гранитными камнями с добавлением чугунных чушек.
В камере должны быть две дверцы, через которые с помощью шлангов подают воду для образования пара. Печь размещают таким образом, чтобы обогревались все помещения бани. Фундамент бани выкладывают из бутобетона или бутового красного кирпича. Для кладки дымоходной трубы берут красный кирпич или сооружают ее из асбоцементной трубы диаметром 150 мм.
Конструкция каменки, изготовленной из двух металлических бочек, считается наиболее простой и удобной в применении (рис. 7). Одна из бочек идет под топливник, другая – под каменку. В топливнике делают небольшую дверцу и оборудуют его поддувалом и зольником. Сверху топливника помещают бак с краном. Каменку, оборудованную дымоотводом, устанавливают на ножки и соединяют с топливником.

Рис. 7. Металлическая печь-каменка.
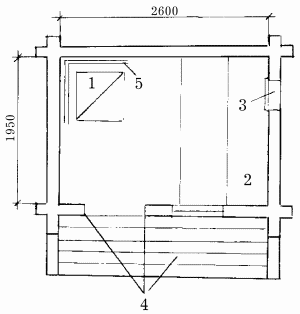
Простейший вид бани на семью из трех человек представлен на рис. 8. Баня рассчитана на пользование в летнее время, так как в ней не предусмотрено место под предбанник. Общая площадь сооружения 5,1 м2. В моечном помещении расположена каменка и полки для приема сидячих паровых ванн. В стене имеется отдушина для изменения температурного режима, которая плотно закрывается дверкой с ручкой. В планировке бани предусмотрено место под крыльцо для отдыха.

Рис. 8. Схема простейшей бани: 1 – каменка, 2 – полки, 3 – отдушина, 4 – кольцо, 5 – тепловой экран.

