
Планировка участка
Если позволяют финансовые возможности владельца, то можно построить и баню более сложной конструкции (рис. 9). Такая баня состоит из четырех частей: предбанника, моечной, парильни и террасы. Предбанник, который может также являться и местом для отдыха, оборудуется камином. В моечной имеется бак с холодной и горячей водой и небольшое окно. Температурный режим данной моечной подходит для любителей умеренной бани. Парильня снабжена каменкой и тремя рядами полок, причем самая высокая температура создается на высоте 1,5–1,7 м. Нижняя и средняя полки соединяются перилами.

Рис. 9. Схема бани площадью 14,8 м2: 1 – каменка, 2 – баки с холодной и горячей водой, 3 – моечная, 4 – камин, 5 – предбанник, 6 – полки, 7 – парильня, 8 – душевой поддон, 9 – вешалка, 10 – скамья, 11 – терраса, 12 – отдушина.
Летний душ
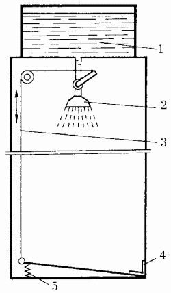
Помещение для летнего душа строят из деревянных щитов или плоского шифера и проводят электричество. Для воды на крышу сооружения устанавливают емкость объемом до 100 л, которую для предупреждения коррозии и более эффективного нагрева в течение дня покрывают черной краской или битумом. Нижнюю часть емкости оборудуют сливной трубой с краном (рис. 10).

Рис. 10. Летний душ: 1 – бачок с водой, 2 – воронка от лейки, 3 – тросик, 4 – дверная петля, 5 – пружина от матраса.
Если на участке имеется водопровод, то душ можно оборудовать дровяной колонкой. Это дает возможность пользоваться душем и в прохладное время. Для стока воды делают колодец с фильтром из шлака или гравийного щебня. Однако такое устройство подойдет только для песчаной и супесчаной почвы.
Размер колодца зависит от суточной нагрузки фильтирующей поверхности. К колодцу можно подключить и другие бытовые стоки, однако следует учитывать, что суточная нагрузка в этом случае не должна превышать 250 л. Средние размеры колодца при таком расходе воды составляют 1 х 1 м.
Стенки колодца возводят из красного кирпича, нижняя часть выкладывается из дырчатого кирпича на высоту примерно 1 м. Если колодец расположен в стороне от душа, то его нужно накрыть люком. После строительства дырчатых стенок колодец засыпают фильтрующим материалом.
Обязательным условием для правильного функционирования колодца является наличие вентиляционного стояка диаметром 100 мм. Нижний конец стояка помещают в фильтрационный материал, а над ямой делают насыпь из грунта.
Теплицы и парники
Теплицы необходимы для выращивания на приусадебном участке теплолюбивых растений. Самым простым вариантом является односкатная пристенная теплица. Подобная конструкция позволяет рационально использовать пространство на приусадебном участке. Односкатная теплица может находиться в эксплуатации в течение всего года (рис. 11). Угол наклона крыши зависит от климатических условий, в среднем он равен 25–35°. Пол является продолжением хозяйственной отмостки стены. Наполнителем для пола служит смесь щебенки и песка или шлак.

Рис. 11. Односкатная пристенная теплица: а – общий вид, б – поперечный разрез: 1 – основание с уклоном, 2 – фундамент, 3 – гидроизоляция стены, 4 – водоотливной козырек, 5 – подъемная рама-форточка, 6 – угловой продольный брусок, 7 – настенный брусок каркаса.
Каркас теплицы выполняется из деревянных брусков и металлических уголков. Верхний конец стропил каркаса пркрепляют к настенному бруску, а нижний – к фундаменту, выложенному из кирпича или толстых досок. Ряд стропил соединяют с помощью углового продольного бруска. Стропила изготовляются Т-образной формы для того, чтобы потом легче было уложить тепличные рамы. В конструкции теплицы должна быть предусмотрена одна открывающаяся рама, с помощью которой осуществляется вентиляция сооружения. Для обогрева используются системы, аналогичные парниковым.
В приусадебном хозяйстве парник применяется для выращивания рассады ранних овощей и цветочных культур. Для отопления теплиц используют конский навоз или его смесь со стружками и листьями. Можно добавить и торф, тогда продолжительность горения увеличивается. Хорошим биотопливом считается мусор, смешанный с коровьим навозом. В результате его горения образуется большое количество тепла, которое выделяется равномерными порциями.
В качестве заменяющего навоз средства можно предложить смесь из 1000 кг соломы, 300 кг серно-кислого аммония, 100 кг суперфосфата и 30 кг гашеной извести (указанные величины можно уменьшить). Для приготовления этой смеси солому укладывают в несколько слоев в стог высотой 2 м и пересыпают каждый слой смесью из аммония, суперфосфата и гашеной извести. Средний расход воды для увлажнения составляет 700 л. Оптимальная температура для обогрева парника достигается через 5–6 дней.
В зависимости от массы топлива парники делятся на теплые, полутеплые и холодные. По способу закладки выделяют углубленные и наземные. Наиболее распространенным вариантом является углубленный односкатный парник. Подобный парник выглядит как траншея, которую набивают топливом. В конструкции предусмотрена обвязка из двух продольных бревен и поперечных слег. Слеги накрываются парниковыми рамами. Все деревянные детали выполняются из подтоварника диаметром 12–14 см. Ширина обвязки равняется 1,94 м, длина – 4,2 м. При установке парника верхнюю его часть приподнимают и плотно утрамбовывают землей, чтобы получился скат в виде отмостки.
Конец ознакомительного фрагмента.
Текст предоставлен ООО «ЛитРес».
Прочитайте эту книгу целиком, купив полную легальную версию на ЛитРес.
Безопасно оплатить книгу можно банковской картой Visa, MasterCard, Maestro, со счета мобильного телефона, с платежного терминала, в салоне МТС или Связной, через PayPal, WebMoney, Яндекс.Деньги, QIWI Кошелек, бонусными картами или другим удобным Вам способом.
Приобретайте полный текст книги у нашего партнера:

