
Вселенная – форма жизни Бога. Часть 2. Раскрытие природы явлений и исследований

Вселенная – форма жизни Бога
Часть 2. Раскрытие природы явлений и исследований
Пётр Акованцев
© Пётр Акованцев, 2023
ISBN 978-5-0059-5793-1 (т. 2)
ISBN 978-5-0059-5794-8
Создано в интеллектуальной издательской системе Ridero
Часть 2
Описание явлений и исследований
Предисловие
«Одна из проблем, которая с самого начала мучает теорию, заключается в вопросе о соотношении между реальностью и формализмом. Физика должна быть больше, чем набор формул, … она должна давать картину того, какова реальность на самом деле.»
«Определить, могут или нет различные частицы, и силы быть объединены в теорию, которая объясняет их все как проявление единственной, фундаментальной сущности.»
http://sceptic-ratio.narod.ru/fi/inav-thomson-5.htm
Цитаты: «1. Влияние, которое оказывали всегда обозначения и идеи теории электрической жидкости, со времени их введения, на науку об электричестве и магнетизме, представляет поразительную иллюстрацию благодетельного влияния, оказанного этой науке конкретным представлением символов, которые в математической теории электричества определяют состояние электрического поля. Действительно, услуги, которые старая теория жидкости оказала электричеству, доставив язык, которым научные факты могут быть выражены ясно и кратко, едва ли могут быть переоценены. Описательная теория этого рода не только служит средством для ясного изложения хорошо известных результатов, но часто оказывает важные услуги, указывая на возможность существования новых явлений.…
Этот характер теории Максвелла-Герца обусловлен тем, что теория эта является теорией , теорией поля, а во всякой такой теории мы оперируем не с величинами, относящимися к физическим индивидуумам (отдельными материальными частицами, атомами, электронами, массами планет и т. д.), а с величинами . (*) Физико-математическое же исследование таких величин возможно лишь в форме средних значений… сплошной среды прерывными изолированным непрерывными
«Статистический» характер теории Максвелла-Герца дает возможность при выводе уравнений электромагнитного движения не делать никаких предварительных предположений о деталях механизма этого движения, за исключением одного лишь того, а именно, что эфир и заряды движутся подобно несжимаемой жидкости. Это предположение лежит в основе главных теорий электромагнетизма.»
http://sceptic-ratio.narod.ru/po/kasterin-1.htm
«Итак, для электрона поле имеет вид такой же, как для тех вихрей, которые часто наблюдаются осенью в сухой, холодный, но солнечный день на сжатых нивах: вследствие неравномерного нагревания почвы в такие дни образуются местами восходящие токи нагретого воздуха, под действием порывистого ветра они – эти токи воздуха – завихряются, и образуются вихревые „воронки“, которые сначала стелются почти по земле и тогда вращаются медленно, и иногда удается заметить в них „спиральную“ структуру; затем они вытягиваются вверх, растут выше человеческого роста, вращение внутри делается быстрее, и они под действием бокового ветра бегут довольно быстро по гладкой дороге и скрываются из глаз. Большая сравнительно устойчивость этих „воронок“ обусловлена действием тяжести; нагретый воздух в вихре, поднимаясь, растягивает вихрь и тем поддерживает его существование.» Конец цитат.
Ведь голос Разума звучал при создании основ электромагнетизма. И было расширено звучание в последующих работах выдающихся физиков. Однако всё было извращено ортодоксами и физика превратилась в нечто непотребное и отторгающее, способное вызвать недоумение в умах учёных способных взглянуть на Реальность с позиции Эфира.
Источник
– высокая степень благополучия, связанного с устойчивым материальным достатком, отсутствием тяжёлых житейских неурядиц и бытовых трудностей. Почему благоденствуют грешники и страдают праведники? Страдающие рабы Божьи, равно как и благоденствующие нечестивцы, с древних времён служат предметом недоумений и споров среди самого широкого круга людей. Благоденствие
За счёт кого благоденствуют власть имущие, элита общества? Кто является источником все благ?
«И вот, эти нечестивые благоденствуют в веке сем, умножают богатство.» Псалом 72:12
«Если нечестивый будет помилован, то не научится он правде, – будет злодействовать в земле правых и не будет взирать на величие Господа.» Исаия 26:10
К чему я привёл эти цитаты? К тому, что благоденствующие перед лицом Бога нечестивы и не заслуживают помилования в Судный день. И к тому, что, подумав, они может обратятся от Пути своего. Есть два Пути – Путь в вечную жизнь и Путь к забвению. Благоденствие – Путь к забвению. Поэтому и сказал Христос, что богатые не войдут в Царствие Небесное. «Легче верблюду пройти через игольные ушко, чем богатому войти в Царствие.»
«Входите тесными вратами, потому что широки врата и пространен путь, ведущие в погибель, и многие идут ими; потому что, тесны врата и узок путь, ведущие в жизнь, и немногие находят их (Матф. 7:13). Широкие врата – благоденствие, а узкие врата – ежедневный тяжёлый труд на производстве.
А теперь о источнике благоденствия.
Начнём с формулы товарно-денежных отношений – это Деньги-Товар-Деньги (Д-Т-Д). Мы не будем рассматривать, как человек накопил деньги для открытия производства товаров. Мы будем рассматривать производственные циклы товарно-денежных отношений.
Итак, первый цикл – Д-Т. Предприниматель имея деньги нанимает рабочих для производства товара, выплачивая им заработную плату за труд. Аналогичным образом поступают и тысячи других предпринимателей. В конце цикла производства мы имеем, с одной стороны, предпринимателей, а с другой стороны рабочих с заработной платой на руках. Кто может приобрести товар? Только те, кто заработал деньги, т.е. рабочие. Ни у кого другого денег просто нет.
Второй цикл – Т-Д. И тут начинается интересное. Предпринимателю нужно обеспечить себя и развивать производство. К стоимости товара предприниматель добавляет прибавочную стоимость, и не только он один, но и все остальные. Тем самым, на ту сумму заработной платы, выплаченной всем работникам, невозможно приобрести весь произведённый товар. Тот, кто смог продать весь товар, получает прибыль в рублях, а тот, кто не смог продать весь свой товар, получает убытки. И эти убытки выражаются не в рублях, а не в проданном товаре. С каждым циклом излишки товара накапливаются, пока не наступает, так называемый, кризис перепроизводства. Хотя по факту, такого перепроизводства нет, а есть просто нереализованный товар из-за нехватки денег у населения. Любое повышение цен, только усугубляет кризисную ситуацию и увеличивая количество непроданного товара. Кризис – это не переизбыток денег, как утверждают экономисты, а их недостаток для нормального функционирования экономики. Не купленный товар ложится бременем на экономику. Нужны площади и средства для его нормального хранения, отвлекаются деньги необходимые на производство товара.
Само собой понятно, что рабочие зарабатывают по-разному. Кому-то не хватает от зарплаты до зарплаты, а у кого-то излишки. Создали банковский сектор. Излишки стали собирать у населения в банки и выдавать тем, кому не хватило для жизни. Но этим проблему кризиса не решили, т.к. денег то не прибавилось, значит товар продолжал накапливаться и кризис наступал с постоянной периодичностью. Для решения этой проблемы разрешили банкам выдавать кредиты намного больше, чем они располагали наличностью. Но и это полностью проблемы не решило. Деньги банки выдавали виртуальные ничем не обеспеченные. Поэтому пошли дальше и для решения проблемы по обеспечению населения деньгами, продвинутые государства перешли на самофинансирование. Начали жить в долг. Для поддержания производства создали программы финансовой поддержки населения. По сути, стали выдавать наличные деньги просто так. Сначала в виде пособия по безработице, потом в виде поддержки малообеспеченных семей. Потом вводя всё новые и новые программы поддержки населения. Для этого резервные банки просто печатают деньги, а государства берут их в долг. В связи с этим стал расти внутренний и внешний долг самых развитых государств и к настоящему времени достиг астрономических сумм в Америке, в Германии, в Японии, во Франции и т. д. Всё просто, государства берут в долг у банков, выдают их безвозмездно населению, население, покупая товар, поддерживает производство тех или иных товаров и не даёт свалится в кризис. По сути – это коммунистический капитализм, когда человек ничего не делая, получает определённые блага. Развитые государства не занимаются благотворительностью, таким образом они поддерживают производство товаров, развивая экономику. Это скрытая форма наполнения деньгами потребителей, поддерживающая их платёжеспособность. А от потребителей денежки переходят к власть имущим, хозяевам предприятий, в сферу услуг и пр. и пр., таким образом создаются несметные богатства у одних и нищенский образ жизни у других. По сути, все средства взятые государствами в долг, оседают на счетах власть имущих, хозяев и элиты.
Однако вернёмся к циклу Т-Д. Источник прибыли всех предпринимателей – это заработная плата работников сферы материального производства. Продал товар получил прибыль, не продал товар получил излишки товара. Покупают только те, кто имеет деньги – это простые работяги, которые и произвели этот товар и получили заработную плату. Таким образом, источник всех отчислений предприятий в бюджет – это заработная плата рабочих. Плюс прямые налоги на эту зарплату в виде процентных отчислений в бюджет. Все сферы услуг существуют на заработную плату работников сферы материального производства. Все государственные органы осуществляют свою деятельность на деньги рабочих. Власть имущие и элита не зарабатывают ни копейки. Основная их работа – это осуществление отъёма денег у работающего населения.
Источник благоденствия власти и элиты – это деньги простых работяг, их заработная плата. Поэтому Христос был столь категоричен говоря о богатых. Деньги на благоденствие невозможно заработать, их можно только отобрать. Экономика, как наука – это инструкция по отъёму денег у работников сферы материального производства.
Эксперименты Самохвалова В. Н.
Силовое взаимодействие механически не связанных дисков в вакууме.
https://www.youtube.com/playlist?list=PLA7575AD062B96839
Эксперименты Самохвалова 1
Эксперименты Самохвалова 2
Вращающийся диск, как и ротор-гироскоп способен стабилизировать угол ориентации тела в пространстве. Наука обосновала действие гироскопа моментам силы и моментом импульса. Изобрела для описания закон и формулы, а также буковки и циферки. И всё шито крыто. Ротор крутиться, тело держит ориентацию, закон и формулки вроде бы работают. Только всё это филькина грамота. В действительности всё не так, как выдумала наука. Что же в действительности? Диск заполнен Эфиром до упора. При раскручивании диска Эфир истекает с торца диска, а по оси вращения диска втекает в ротор двумя конусными вихрями. На этом и основаны все возникающие эффекты при раскручивании дисков в экспериментах Самохвалова В. Н. Все эксперименты Самохвалова фактически подтверждают существование Эфира. Вращающийся диск по оси вращения всасывает Эфир, а с торца выбрасывает. На этом эффекте и построены опыты Самохвалова.


Давайте разбираться с опытами Родина
«В 1994 г А. Родин, проделал идейно тот же опыт, в котором ЭДС наводилась на медном диске {диске Фарадея), вращающемся между двух постоянных кольцевых магнитов. Опыт обнаружил ту же асимметрию электродинамических явлений, что и у Кеннарда. ЭДС в диске Фарадея наводилась только при его вращении, в том числе и в случае синхронного вращения диска с магнитами, и не наводилась, когда вращались одни магниты. Любопытным моментом этой публикации в журнале „Электричество“ является то, что ни автор, ни его рецензент и вся редколлегия журнала, ни эксперты из Института физических проблем и участники последовавшей дискуссии не знали, как это следует из опубликованных материалов, об опыте Кеннарда. Более того, редколлегия и знать об этом не хочет, а академическая наука знать не хочет о каких-то публикациях в научно-прикладном журнале „Электричество“, свято отсекающем антирелятивистские поползновения (последние сведения автор добыл из собственного „опыта“).» Цитата неизвестного для меня автора.
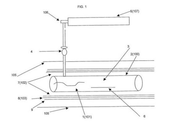
Описание эксперимента. Эксперименты проводились на специально созданной установке по схеме униполярного генератора, но вместо обычных для генератора магнитов и цилиндра были применены кольцевые ферритовые магниты и диски Фарадея. Основными конструктивными элементами были диск Фарадея, напрессованный на металлическую ось, и два кольцевых постоянных магнита, насаженных на ту же ось посредством шариковых подшипников. Такая конструкция установки позволила создать постоянное магнитное поле не только между неподвижными магнитами, но и при их вращении, что, в свою очередь, обеспечило исследование взаимодействия проводника с магнитами в различных вариантах их относительного движения при сохранении параметров установки. Схема установки и ее устройство показаны на рис. 2,
Схема экспериментальной установки Родина
где: 1 – кольцевые ферритовые магниты;
2 – металлический диск (диск Фарадея);
3 – ось;
4 – металлические диски с большим μ;
5 – шариковые подшипники;
6 – скользящие контакты;
7 – амперметр (диапазон измерений – до 200 μA).
На рисунке расстояния между магнитами и диском для наглядности увеличены.
Как видно на рис. 2, конструкция установки позволяет провести опыты в трех вариантах:
токопроводящий диск вращается в стационарном магнитном поле при неподвижных (заторможенных) магнитах;
вращаются постоянные магниты при неподвижном диске;
диск и магниты вращаются одновременно без проскальзывания.
В результате проведенных опытов было установлено следующее.
В первом варианте опыта при 15‒20 оборотах диска в секунду сила тока в контуре (диск – проводник – амперметр) превышала 200 μА. Сила тока в данном опыте была пропорциональна числу оборотов диска.
Во втором варианте существующей теории на диске должна наводиться ЭДС, поскольку есть относительное движение диска и магнитов. Однако оказалось, что в диске никакой ЭДС нет и по показаниям амперметра ток в цепи отсутствует.
В третьем варианте опыта вращались одновременно токопроводящий диск и магниты, скрепленные между собой. Поскольку в данном случае нет относительного движения, то по современным воззрениям никакого тока в цепи не должно быть. Опыт показывает наличие тока в контуре, который по значению и направлению полностью совпадает с результатами в первом варианте.
Если Вы внимательно читали первую часть книги, то должны были запомнить, что вращающийся диск формирует циркуляцию Эфира. По оси двумя вихрями Эфир всасывается, а с торца выбрасывается. Со стороны оси плотность Эфира больше, чем с торца. Разность плотности Эфира и формирует ток Эфира по проводам от оси к торцу. И этот ток можно зафиксировать и без всякого дополнительного магнита. Но обязательным условием появление тока-вращение диска.

Качер Бровина
Качер – качатель реактивностей.
https://www.radiokot.ru/lab/analog/20/
Схема качера Бровина
Качер Бровина опытный образец
У кого и какие будут мнения? Итак качер. Что получилось? Внутри первичной катушки создалось электромагнитное поле. Конденсатор усилил это поле. Электромагнитное поле состоит из Эфира, плотность которого выше окружающего. Эфир растекается по вторичной катушке. Плотность Эфира в проводе обмотки катушки увеличивается. Атомы меди, удаляя излишки Эфира, начинают излучать кванты. Катушка нагревается. Медь-элемент 4 периода. Значит имеет 4 энергетических уровня. Поэтому может излучать в радио, микроволновом, инфракрасном и видимом спектре Катушка нагревается незначительно, значит вторичная катушка излучает в микроволновом (ближе к инфракрасному) диапазоне. Все возникающие эффекты связаны с этим излучением. В т.ч. нагрев спички. Увеличивая ёмкость конденсатора, можно добиться излучения и инфракрасном диапазоне. Катушка нагреется значительно.


Реактор Росси (холодный «термояд») – что имеем в действительности
Описание процессов, происходящих в реакторе.
Поясним, что вход – это электричество из розетки, а выход – тепловая энергия. В данной установке она шла на испарение воды, регулярно поставляемой в систему охлаждения реактора точным насосом (технические моменты, впрочем, подробно не освещаются).
Количество превращённой в сухой пар H2O и служило мерилом производительности (вода на входе была комнатной температуры). По всему получалось, что производство энергии тут многократно выше затрат: в пределе, якобы, реактор выдавал до 15 «тепловых» киловатт при 400 «электрических» ваттах на входе. (В видеоролике ниже равномерный стук выдаёт тот самый дозатор воды.)
В общих чертах работает этот аппарат так. В металлическую трубку с электрическим подогревателем помещаются нанопорошок никеля и обычный (лёгкий) изотоп водорода под давлением до 80 атмосфер. При первоначальном нагреве до высокой температуры (сотни градусов), в интерпретации итальянцев, часть молекул H2 разделяется на атомарный водород, далее тот вступает в ядерную реакцию с никелем.
Реактор Росси (схема)
Рисунок из патента. Здесь мы видим металлическую трубку (2) с многослойной изоляцией (7—9), включающей слои воды, бора, свинца и стали. Внутри трубки находятся электрический нагреватель (1) и мелкодисперсный никелевый порошок (3). Водород (5) подаётся из баллона в трубку через клапан (4), который регулирует давление (иллюстрация с сайта wipo.int).
Что реально происходит в реакторе?
Сначала разберёмся с теплотой. Природа теплоты изложена мною в первой части книги «Вселенная – форма жизни Бога».
Цитата: «Если создать материал, для современной науки это не проблема, который будет пропускать излучение только в одном направлении, то можно получить неиссякаемый источник энергии. Для этого будет достаточно изолировать таким материалом трубу с таким расчётом, чтобы излучение беспрепятственно проникала в трубу и полностью переизлучалась во внутрь трубы, и пропускать по трубе с помощью насосов воду. Вода будет нагреваться до любой температуры, без затрат газа, угля, урана и прочих материалов. На выходе получим перегретый пар, способный вращать любую электротурбину. Получим практически даровую электроэнергию. Но самое важное-экологически чистое производство электричества. С помощью этого метода можно плавить металл, да и много чего ещё. Вечный источник энергии. Чего и хотело человечество.» Конец цитаты.
Что мы и имеем в данном случае, а именно, изоляция зоны нагрева водорода и никеля возвращает обратно значительную часть инфракрасного излучения, что и поддерживает в течении некоторого времени высокую температуру в зоне нагрева, что позволяет получить излишки тепла. Кроме того, смотри ниже о распаде молекул водорода.
Теперь разберёмся с синтезом. Длительный период инфракрасного излучения ослабляет гравитационные поля протонов водорода и никеля. Водород и никель распадается на атомы, в следствии чего появляются излишки Эфира, что стимулирует более продолжительное инфракрасное излучение, что тоже объясняет излишки теплоты. У протонов ядер атомов никеля, в следствии продолжительного инфракрасного излучения гравитационные поля ослабевают настолько, что теряют способность воспрепятствовать внедрению протонов водорода, что и приводит к синтезу. Так что синтез вполне возможен. Но этот синтез не даёт выхода энергии, а только следствие продолжительного нагрева.
Если другими словами, то в реакторе Росси происходят те же процессы, что и при взрыве взрывчатого вещества. При взрыве ВВ распадаются на атомы молекулы ВВ, в следствии чего высвобождается Эфир связей атомов в молекулы, который мгновенно излучается, частично переходит в Свет, что и формирует ударную волну. Разница только в одном, излучение не возвращается к центру взрыва, тем самым «энергия» выплёскивается разово и мгновенно.
Реактор Росси устройство позволяющее растянуть во времени взрыв вещества. Этим и обусловлен длительный выброс тепловой «энергии». Реактор Росси аналог атомного реактора: в атомном замедляется реакция распада атомов, у Росси замедляется распад молекул. Поэтому топливо для реактора Росси необходимо проверить на способность к взрыву. Много лет считалось, что аммиачная селитра-удобрение, пока однажды пришлось изменить это мнение.
Выход тепловой энергии даёт длительное инфракрасное излучение + переизлучение в следствии возврата изоляцией излучения.

Турбина Бараова
https://www.dropbox.com/s/ytu52tf8q4fh7th/DrumRotatingInMagneticField.MOV?dl=0
Турбина Бараова
Турбина вращается Эфирным вихрем. Если у одного магнита вихрь имеет форму тора:
Магнитное поле одного магнита
то два магнита, за счёт подбора расстояния между ними с помощью пластмассовой проставки, образуют вихрь другой формы:
Турбина Бараова
который и вращает турбинку.



Тепловыделение при трении
Прежде чем начать разговор о теплоте, вспомним некоторые моменты. Электрон-квантовый вихрь, в вершине которого нейтрино:
Электрон
Протон-квантовый вихрь, в вершине которого полая конструкция из электронов и позитронов:
Протон
Атом водорода:
Атом водорода
Атомы всех других веществ состоят из аналогичных конструкций:
Сложный атом
Атомы имеют семь энергетических уровней излучения. Каждый уровень ответственен за определённый диапазон излучения. Сверху вниз: радио, микроволновый, инфракрасный, видимый, ультрафиолетовый, рентгеновский и гамма.
Известно, что инфракрасный нагревает тела. Происходит это так: электрон захватывает квант (вихрь Эфира намного меньше вихря электрона), который движется из-за приделов вещества к ядру атома, своим гравитационным полем (вихрем Эфира) сжимает его до такой степени, что Эфир переходит (аннигилирует) в СВЕТ. Квант СВЕТА электрон передаёт протону. Протон в ответ формирует квант из Эфира своего Эфирного вихря, передаёт его электрону и тот испускает его в пространство. Тепло является следствием аннигиляции Эфира, т.е. перехода Эфира в СВЕТ. Тепло вырабатывается здесь и сейчас в момент аннигиляции Эфира, и никоим образом не передаётся и ни откуда не берётся.
Согласно квантовой теории, излучение может быть инициированным, как описанным выше способом, т.е. в ответ на поглощённый квант, так и спонтанным, т.е. без видимой причины. Два плотно прижатых тела устанавливают связь свободными полями электронов и когда мы перемещаем одно тело относительно другого происходит следующее. Каждое тело, при определённой температуре, заполнено Эфиром и из Эфира состоят связи между атомами и молекулами. В теле существует определённый баланс заполненности Эфиром. При трении мы сближаем тела настолько, что между электронами или протонами двух тел возникает связь. За счёт этой связи свободные электроны одного тела переходят на другое, а при достаточно прочной связи-переходят и атомы. Повышается средняя плотность Эфира у тела, принявшего Электроны. Для восстановления баланса, электрон захватывает Эфир доводит до аннигиляции. Свет передаёт протону, получая в обмен квант из Эфира, который и испускает за приделы атома. Тем самым плотность Эфира внутри тела понижается, но увеличивается интенсивность излучения и как следствие нагреваются оба тела. Одно за счёт излучения, другое за счёт переизлучения. Но это только часть процесса. Не все электроны, создавшие связь с протоном, переходят на другое тело. Связь создаётся и тут же разрушается, от этого пьезоэффект (искры). При разрушении связи, создаётся Эфирный вакуум, эфир устремляясь туда, происходит гравитационный удар. Создаётся высокое давление и плотность. При высокой плотности Эфир переходит в СВЕТ, от этого и искра. Это служит дополнительной причиной испускать кванты протонами обоих тел. Фактически изменение температуры во всех случаях происходит при увеличении интенсивности излучения телом, как при прямом нагреве (переизлучение от нагретого тела), так и во всех других случаях. Нет никакой теплопроводности, теплопередачи и пр. Тело нагревается само в процессе перехода Эфира в СВЕТ, который осуществляется порционно (квантами). Так называемая «материя» и предназначена для того, чтобы обеспечить этот процесс. В основе всех процессов лежит излучение и переизлучение веществом квантов. В том числе и распространение запаха связано с переизлучением. При сжатии газа, действительно, только уменьшается расстояние между молекулами и атомами. НО увеличивается средняя плотность вещества и Эфира в нём. Стремясь к установлению нового баланса, газ начинает излучать Эфир в виде квантов, снижая, тем самым плотность Эфира внутри газа. Повышение интенсивности излучения приводит к нагреву. Запах, цвет заложен не в молекулы вещества, а в излучение, которое оно производит.

