
Устройство и ремонт полов
Экструдированный пенополистирол является весьма перспективным теплоизоляционным материалом. Это новый для отечественной строительной индустрии материал, который характеризуется равномерной микроячеистой закрыто-пористой структурой и максимальной стабильностью теплотехнических и физико-механических свойств во времени по сравнению с другими видами утеплителей. Уникальные физико-механические и теплотехнические свойства экструдированного пенополистирола являются следствием технологического процесса, позволяющего получать из расплава полимера жесткую пену с равномерной микроячеистой структурой и нулевой капиллярностью.
Экструзионный способ производства в данном случае предопределяет важнейшие особенности структуры получаемого полистирольного пенопласта, который нельзя достичь никакими методами переработки полимерной композиции в пенопласт.
Таблица 1
Физико-механические показатели минераловатных материалов

К положительным качествам экструдированного пенополистирола в данном случае относятся:
– отсутствие капиллярности (закрытопористая структура);
– размер ячеек пенопласта (от 80 до 180 мкм);
– степень однородности ячеек (монодисперсность по Гауссу).
Сравнительные микроскопические исследования морфологической структуры материала показывают, что отечественный экструдированный пенополистирол ни в чем не уступает своему зарубежному аналогу (продукции фирмы The Dow Chemical). Материал обладает практически нулевым водопоглощением за исключением поверхностной сорбции. Нулевая капиллярность экструдированного пенополистирола подтверждается отечественными стандартами (ГОСТ 15-588-86 и ТУ 2244-01-179530000-97). Благодаря своей структуре экструдированный пенополистирол отличается высоким сроком службы и обеспечивает эффективное и экономичное решение проблемы теплоизоляции полов, подвергающихся различным нагрузкам в процессе эксплуатации. Он с успехом применяется для теплоизоляции полов первых этажей, подвальных помещений, а также промежуточных этажей.
Кокосовое волокно в качестве теплоизоляционного материала в нашей стране стало применяться сравнительно недавно. Традиционно этот материал использовался при производстве матрацев, диванов, обивке кузовов машин и т. п. Сейчас кокосовое волокно стало применяться как теплоизоляционный строительный материал и завоевало широкую популярность на рынке строительных материалов. Этот экологически чистый материал с прекрасными теплоизоляционными свойствами соответствует самым строгим стандартам высокоэффективных акустических и термических изоляторов. Поставляют изделия из кокосового волокна в виде плит, рулонов или полос.
Плиты из кокосового волокна являются идеальным решением для множества проблем акустической и тепловой изоляции. Их часто применяют для изоляции первых этажей зданий, для снижения ударных и акустических шумов, достигая при этом впечатляющих результатов.
Рулоны из кокосового волокна очень универсальны и дают возможность оптимизировать инсталляционные затраты. Техническая эффективность рулонов с течением времени не претерпевает практически никаких изменений. Они поддерживают свойства по акустической и термической изоляции на протяжении многих десятилетий.
Полосы из кокосового волокна в основном используются в нишах между деревянным полом и дранкой, где их применение дает превосходные результаты в снижении шумов, и являются прекрасным средством по устранению «акустических мостиков».
CorKoco – это комбинация двух натуральных материалов (кокосового волокна и черного пробкового агломерата), позволяющая достигнуть превосходных результатов благодаря дополняющим друг друга теплоизоляционным характеристикам. Стабильность в размерах позволяет CorKoco быть лучшим техническим решением там, где это необходимо. Эти материалы композиционные и существуют в нескольких вариантах поставки:
– CorKoco (1 + 1) – 1 лист кокосового волокна + 1 лист черного пробкового агломерата;
– CorKoco (2С + 1 А) – 2 листа кокосового волокна + 1 лист черного пробкового агломерата;
– CorKoco (2А + 1 С) – 1 лист кокосового волокна + 2 листа черного пробкового агломерата.
Кокосовое волокно является продуктом, абсолютно безвредным для окружающей среды и конечного потребителя, так как при его производстве не используются химические реактивы. Прочность, долговечность и эластичность делают кокосовое волокно универсальным материалом, который превосходно подходит для рынка акустических и термических изоляторов. Изоляционные материалы из кокосового волокна обладают следующими основными характеристиками:
– не электростатичны;
– устойчивы к влажности;
– не атакуются грызунами и термитами;
– не гниют, не поддерживают развитие грибка;
– после специальной пропитки являются негорючим материалом.
Вариантов применения кокосового волокна может быть много, в зависимости от тех проблем по тепло– и звукоизоляции, которые необходимо решать в каждом конкретном случае (рис. 3).


Рис. 3. Задействование плит из кокосового волокна для акустической и термической изоляции полов: 1 – пол; 2 – плиты из кокосового волокна; 3 – гидроизоляция; 4 – слой теплоизоляции; 5 – доски, укладываемые на перекрытия; 6 – лаги
Теплоизоляция полов первых этажей должна выполняться совместно с теплоизоляцией сопрягаемых с полом стен подвала, цоколя и других конструкций. Теплоизоляция подземных конструкций приобретает особое значение при наличии в районе строительства высокорасположенных водоносных слоев и грунтовых вод. В таких районах следует использовать теплоизоляционные материалы с закрытой ячеистой структурой, которая не позволяет капиллярный подъем воды. Для этой цели хорошо подходят плитные утеплители (экструдированный пенополистирол, плиты кокосового волокна и т. п.), которые обеспечивают не только теплоизоляционные характеристики, но и защищают гидроизоляционный слой от механических повреждений.
Технология установки плит утеплителя довольно проста. Они крепятся к ограждающим конструкциям подвала при помощи специального клея или механических фиксаторов. Выполняя наружную тепловую защиту фундамента, следует учитывать пучинистые явления грунта. Примерзнув к наружному слою тепловой изоляции, грунт, поднимаясь, разорвет изоляцию, снизив до минимума ее эффективность. Чтобы этого не случилось, теплоизоляционный слой нужно выполнять с максимально возможной гладкой поверхностью, а между ним и грунтом установить разделительную плоскость из поливинилхлоридной пленки или рубероида. Засыпку лучше производить крупным песком, шлаком или их смесью.
В зависимости от конструкции здания существует несколько схем утепления. Например, утепление перекрытия над вентилируемым подпольем или подвалом теплоизоляционными плитами ЛАЙТ БАТТС показано на рис. 4. Толщину теплоизоляционного слоя ЛАЙТ БАТТС можно подобрать, исходя из значений, приведенных в табл. 2.

Рис. 4. Утепление перекрытия над подвалом теплоизоляционными плитами ЛАЙТ БАТТС: 1 – пол; 2 – пароизоляция; 3 – балки, опирающиеся на цоколь или стены подвала; 4 – плиты ЛАЙТ БАТТС; 5 – подшивка из досок; 6 – вентиляционный продух; 7 – теплоизоляционные плиты КАВИТИ БАТТС; 8 – слой гидроизоляции
Таблица 2
Характеристика плит ЛАЙТ БАТТС

Несущие деревянные балки перекрытия, опирающиеся на цоколь здания, изолируют от несущих конструкций рубероидом или другим гидроизоляционным материалом. Для защиты подполья и подвала от сырости необходимо обеспечить их вентиляцию через специальные продухи размером 10 × 10 – 15 × 15 см, расположенные в цоколе через каждые 4-?5 м. Плиты утеплителя укладывают на доски или щиты, укрепленные по черепным брускам, на доски или стальную сетку, закрепленные к несущим балкам снизу (рис. 5). Утеплитель защищают от увлажнения с внутренней стороны дома (с теплой стороны) слоем пароизоляции из пергамина, рубероида, полиэтиленовой пленки и т. п. Для обеспечения паронепроницаемости делают нахлест полотнищ пароизоляции на 10–15 см. Края полотнищ пароизоляции заводят на стену на высоту 10 см и прикрепляют плинтусом к стене. По деревянным балкам укладывают половые доски и покрытие пола. Если стены здания имеют теплоизоляционный слой, то несущие элементы пола не должны прерывать или нарушать этот теплоизоляционный слой в местах их опирания на стену.
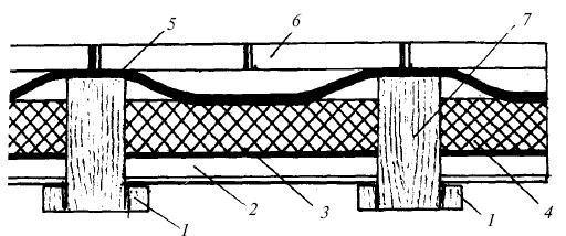
Если пол настилают по деревянным лагам, уложенным на кирпичные столбики, то плиты утеплителя размещают между деревянными лагами (рис. 6). Если подвал перекрыт железобетонными плитами, то утеплитель размещают непосредственно по плитам перекрытия между лагами пола (рис. 7).

Рис. 5. Теплоизоляция, уложенная на щиты, укрепленные по черепным брускам: 1 – черепной брусок; 2 – щиты; 3 – гидроизоляция; 4 – теплоизоляция; 5 – пароизоляция; 6 – пол; 7 – лага

Рис. 6. Утепление пола по деревянным лагам на кирпичных столбах укладкой теплоизоляции на щиты, укрепленные по черепным брускам: 1 – пол; 2 – пароизоляция; 3 – несущие балки; 4 – теплоизоляционные плиты ЛАЙТБАТТС; 5 – щиты; 6 – нижняя обшивка из досок; 7 – антисептированная прокладка из дерева; 8 – гидроизоляция; 9 – кирпичные столбики; 10 – бетонная подготовка; 11 – песок утрамбованный; 12 – черепные бруски
Утепление пола, уложенного по грунту, осуществляется плитами, которые размещают сверху бетонной стяжки (рис. 8). В этом случае необходимо обеспечить защиту плит утеплителя от капиллярной влаги. Для этого на подготовленный грунт укладывают 15-сантиметровый слой песка, по которому устраивают цементную стяжку. Сверху цементной стяжки настилают мощную гидроизоляцию из двух и более слоев рубероида, гидроизола иди другого современного изоляционнолго покрытия.
Теплоизоляция полов отапливаемых подвальных помещений выполняется по методикам, применяемым для полов первых этажей. При наличии давления, которое создается грунтовыми водами, теплоизоляционные плиты можно размещать как над, так и под железобетонными плитами, уложенными на щебне.

Рис. 7. Утепление пола, уложенного на бетонное перекрытие: 1 – пол; 2 – пароизоляция; 3 – лага; 4 – теплоизоляция; 5 – плита перекрытия; 6 – вентиляционный продух; 7 – теплоизоляция стены

Рис. 8. Утепление пола, уложенного по грунту: 1 – пол; 2 – балка; 3 – прокладка-антисептик; 4 – гидроизоляция; 5 – теплоизоляция; 6 – цементно-песчаная стяжка (не менее 50 мм); 7 – песчаная подсыпка; 8 – грунт
Теплоизоляция полов промежуточных этажей выполняется поверх плит перекрытия. Теплоизоляция бетонных плит, которые контактируют с наружным пространством либо находятся в неотапливаемых помещениях, может выполняться методом укладки теплоизоляционного материала снизу под плитами. Для предотвращения образования тепловых мостиков теплоизоляционные плиты должны иметь профилированные края.
Глава 2
Материалы
Древесина
Древесина – один из немногих материалов, оставшихся в первозданном виде в нашем химическом и электронном веке и соединяющий нас с природой. Увлечение синтетическими материалами постепенно сменилось тоской по натуральному. К достоинствам натуральной древесины относят ее высокую прочность, несмотря на небольшую объемную массу, низкую тепло– и звукопроводность, высокую морозостойкость, легкость в обработке, простоту в утилизации и низкий коэффициент температурного расширения. Изделия из древесины легко ремонтируются простыми инструментами, а покрытие лакокрасочными материалами позволяет менять цветовое решение.
В современных строительных технологиях под древесиной понимают тело древесных и кустарниковых растений, окруженных камбием и корой. На поперечном разрезе ствола (рис. 9) в центре находится сердцевина. Она окружена древесной тканью, которая состоит из различных по размеру и, главным образом, удлиненных клеток. Далее, по направлению от центра следует камбий, затем внутренняя кора (луб) и, наконец, наружная кора.

Рис. 9. Строение древесины: 1 – сердцевина; 2 – сердцевинные лучи; 3 – ядро; 4 – камбий; 5 – лубяной слой; 6 – кора; 7 – годичные кольца; 8 – заболонь
Древесная ткань выполняет для дерева несколько функций:
– проводящую (обеспечение перемещения воды и растворенных в ней минеральных веществ); – опорную (обеспечение прочности);
– аккумулирующую (накопление резервных питательных веществ). Продукты, которые вырабатываются листьями или хвоей, транспортируются не в древесине, а во внутренней коре. В зависимости от функций, которые выполняются тканью, клетки древесины имеют различное строение. У лиственных деревьев различают:
сосуды – большие по объему, толстостенные мертвые клетки, которые образуют сплошные трубы с отверстиями сверху и снизу. Эти сосуды служат для перемещения воды. В стенках сосудов есть множество пор, которые обеспечивают обмен веществ с соседними клетками;
волокна (трахеиды) – клетки прямоугольного сечения, которые образуют значительную часть древесного вещества у хвойных и несколько меньшую у лиственных пород. Эти клетки замкнуты с обеих сторон и располагаются преимущественно вдоль ствола. Толстостенные клетки поздней древесины выполняют механическую функцию, обеспечивая прочность, а у молодой древесины берут на себя часть функций по перемещению воды и водному обмену между соседними клетками;
паренхимы – призматические клетки, длина которых, как правило, превышает ширину примерно в 10 раз. В основном эти клетки расположены поперек ствола в радиальном направлении и входят в сердцевинные лучи. Они выполняют в первую очередь запасающие функции;
камбий – тонкий, способный к делению клеточный слой, окружающий тело дерева в качестве оболочки и отделяющий его от внутренней коры. Камбий обеспечивает рост дерева в толщину благодаря образованию новых клеток.
Сердцевинные лучи, которые есть у всех видов древесины, представляют собой широкие или узкие ленты, состоящие из клеток паренхимы. Они отходят от камбия в сердцевину и в кору. В сердцевинных лучах происходят накопление и обмен запасенными питательными веществами. Кроме того, по сердцевинным лучам перемещается влага в радиальном направлении. У некоторых пород сердцевинные лучи невидимы. У других (дуб, бук, платан и т. п.) ленты сердцевинных лучей очень широки и на тангенциальном распиле явно различимы как крапины, а на радиальном – похожи на блестящие полоски. Лучи такой формы относятся к характерным признакам, позволяющим распознавать различные породы древесины. Сердцевинные лучи и годичные слои образуют текстуру древесины, представляющую собой характерный для той или иной породы рисунок. Большое влияние на текстурный рисунок оказывает красящий пигмент, а также разница в цвете ранней и поздней древесины. Это особенно видно на тангенциальном разрезе (рис. 10). От разницы в ширине годичных колец, которая особенно ярко проявляется у тополя, каштана и белой акации, в большой степени зависит выразительность текстуры. Разная ширина годичных колец сочетается с их своеобразным волнистым строением.

Рис. 10. Тангенциальный разрез ствола
1 – структура разреза
Рост дерева в течение года зависит от климатических условий. В европейских условиях вегетационный период привязан к летним месяцам и его длительность зависит от высоты над уровнем моря. Для каждой породы дерева характерен определенный ареал распространения и существуют районы произрастания, где древесина имеет наилучшее качество по плотности, минимуму дефектов и равномерности окраски. Так, например, для России лучшим районом произрастания дуба является средняя полоса, а для хвойных пород – примыкающие к ней северные районы. В тропических регионах решающим фактором роста является регулярное повторение муссонных дождей. Во влажных субтропиках рост дерева не прекращается в течение всей его жизни, поэтому в древесине, вывезенной из этих регионов, отсутствуют видимые годичные кольца.
При описании свойств древесины часто используют такие термины, как заболонь и ядро, выделяя их в толще ствола. При этом под заболонью понимают наружную зону древесины растущего ствола, принимающую участие в перемещении воды. Заболонь содержит живые клетки, в которых накапливается запас питательных веществ. Ядром называют зону, которая в растущем стволе не имеет живых клеток. В ядре осуществляется усвоение питательных веществ и превращение их в ядровую древесину.
При использовании древесины в качестве исходного материала для столярных работ необходимо учитывать ее технические свойства. Нужно, чтобы древесина обладала нормальным строением, не имела недопустимых пороков, легко поддавалась обработке, не изменяла своей формы, хорошо сопротивлялась внешним усилиям и противостояла действию воздуха и находящейся в нем влаги. Все эти качества определяют свойства древесины, которые в свою очередь делятся на технические и механические.
Цвет является важным признаком для определения породы древесины и ее основных качеств. Этот параметр древесины обусловлен содержащимися в ней дубильными и красящими веществами и их оксидами. Цвет древесины зависит от породы дерева, его возраста, состава почвы и климатических условий местности. Со временем цвет древесины меняется, что определяется реакцией содержащихся в ней веществ на свет, влагу и кислород, который находится в воздушной среде. Определение цвета древесины проводят путем подбора по шкале цветов или при помощи специального прибора – колориметра.
Текстура древесины – естественный рисунок, обусловленный особенностями ее структуры. Текстура образуется пересечением волокон слоев древесины с плоскостью распила. Рисунок текстуры зависит от расположения древесных волокон, различимости годовых слоев, количества и размеров сердцевинных лучей. Древесина хвойных пород имеет чаще всего однообразную текстуру. У лиственных пород с более сложным строением текстура весьма разнообразна и во многих случаях красива. При этом большое значение имеет направление разреза (рис. 11). Улучшение текстуры достигается заполнением пор и покрытием поверхности древесины прозрачными лаками.
Конец ознакомительного фрагмента.
Текст предоставлен ООО «ЛитРес».
Прочитайте эту книгу целиком, купив полную легальную версию на ЛитРес.
Безопасно оплатить книгу можно банковской картой Visa, MasterCard, Maestro, со счета мобильного телефона, с платежного терминала, в салоне МТС или Связной, через PayPal, WebMoney, Яндекс.Деньги, QIWI Кошелек, бонусными картами или другим удобным Вам способом.
Приобретайте полный текст книги у нашего партнера:

