
Avtomatlashtirishning texnik vositalari. O’quv qo’llanma
– drosselli (bosimning pasayishi nazoratda o‘lchanadi);
– hajmli;
– suzuvchi;
– tezkor.
II. Elektromexanik sensorlar:
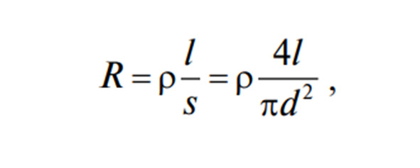
– tensorezistiv (obyektning deformatsiyasi sim o‘tkazgich deformatsiyani keltirib chiqaradi).
Deformatsiya tufayli sim cho‘zilib ketadi, uning uzunligi l oshadi, diametri d kamayadi, R simining qarshiligi oshadi – bu Puasson effektining ko‘rinishidir (6.1-rasm, a):

bu yerda ρ – qarshilik koeffitsienti; l – o‘tkazgichning uzunligi; d – o‘tkazgich diametri.
– siljishni o‘lchash uchun elektrostatik (6.1-rasm, b);
– elektromagnit – markaz o‘rnini o‘zgartirish chiqish signali (6.1-rasm, c);
– taxometrik (aylanishlar sonini o‘lchash).

6.1 – rasm. Elektromexanik datchiklarning sxemalari: a – tenzorezistiv; b – elektrostatik; c – elektromagnit
III. Elektr sensorlari:
– konduktometrik (o‘tkazuvchanligini o‘lchash);
– potentsiometrik (voltaj elektrodlar orasiga o‘rnatiladi);
– polarografik (harakat ularning tarkibini aniqlash uchun eritmalar chegarasida qutblanish hodisasiga asoslanadi).
IV. Termal sensorlar:
– termoelektrik (termojuft – 6.2-rasm, a).
– termorezistiv (bunday sensorlarda qarshilik harorat bo‘yicha bog‘liq, past, o‘rta va yuqori haroratlar uchun qo‘llaniladi (6.2-rasm, b));
– termomexanik (bunday datchiklarning asosini bimetalik listlar tashkil etadi.
– bir xil haroratgacha metall bu haroratda o‘z holatini «eslab qoladi» va bir xil shaklni oladi);
– manometrik (bunday datchiklar membrana va ko‘rgichdan iborat, unda suyuq yoki gazsimon muhit mavjud);
– termokonduktometrik (bunday datchiklarning harakati muhitning o‘tkazuvchanligining haroratga bog‘liqligiga asoslanadi).

6.2 – rasm. Termal sensorlarning sxemalari: a – differensial termojuftlik; b – termorezistor (temoqarshilik)
V. Optik sensorlar:
– fotokolorimetrik (ular yorug‘lik kvantlarini yutadi, selektiv uzatish sodir bo‘ladi, ma’lum bir spektral komponentning intensivligi baholanadi) (6.3-rasm, a);
– refraktometrik (sensor ko‘rsatkichlarining og‘ishi sinishi ko‘rsatkichlari farqi tufayli yuzaga keladi, og‘ish burchagi n = f (k) muhitga bog‘liq, bu moddaning tarkibini va uning tuzilishini aniqlashga imkon beradi) (6.3-rasm, b);
– opto-akustik (sensordagi gaz nurlanadi, bu tovush paydo bo‘lishiga olib keladi, o‘lchov buzilmaydi va kontaktsiz) (6.3-rasm, c).
– nefelometrik (ish prinsipi: muhitning loyqaligi yorug‘likning tarqalishini o‘lchash yo‘li bilan aniqlanadi) (6.3-rasm, d).

6.3 – rasm. Optik datchiklarning sxemalari: a – eritma uzatilishining spektral bog‘liqligi bilan fotokolorimetrik; b – sinish hodisasi; c – qurilma optoakustik spektrometriya bilan; d – nefelometrik qurilma; YM – yorug‘lik manbai (lazer); D – yorug‘lik sensori; M – mikrofon; P – ro‘yxatga oluvchi.
VI. Elektron sensorlar:
– induksion (aylanish yoki sarfni o‘lchash uchun qo‘llaniladi);
– xromatografik (suyuqliklardagi aralashmalar konsentratsiyasini o‘lchash uchun qo‘llaniladi);
– mass-spektrometrik (magnit maydon orqali ionlangan zarrachalarning yo‘naltirilgan oqimi o‘tkaziladi; zarralar massasi qanchalik katta bo‘lsa, zarrachalar oqimi shunchalik kam og‘adi. Og‘ish spektri zarrachalarning massa bo‘yicha taqsimlanishini ko‘rsatadi) (6.4-rasm);
– magnit;
– radioizotop;
– dielkometrik (moddalarning xossalarini dielektrik o‘tkazuvchanligi bilan o‘lchash).

6.4 – rasm. Mass-spektrometrning sxemasi (zarrachalar oqimi nuqta chiziq bilan ko‘rsatilgan).
Nazorat savollari
1. Mexanik datchiklar qanday turlarga bo‘linadi?
2. Elektromexanik sensorlarga misol keltiring.
3. Elektr sensorlarga qaysi sensorlar kiradi?
4. Termal sensorlarga misollar keltiring.
5. Optik sensorlarga misollar keltiting.
6. Elektron sensorlarga misollar keltiring.
6.2. Sensorlarni chiqish kattaligi bo‘yicha tasniflash
Sensorlarning uchta toifasi mavjud:
– analog sensorlar, ya’ni kirish qiymatining o‘zgarishiga mutanosib ravishda analog signal ishlab chiqaradigan sensorlar;
– impulslar ketma-ketligini yoki ikkilik so‘zni yaratuvchi raqamli sensorlar;
– faqat ikkita darajadagi signalni yaratadigan ikkilik (ikkilik holati) sensorlar: «yoqish / o‘chirish» (0 yoki 1). Ular soddaligi tufayli keng qo‘llaniladi.
Sensorlarning aksariyati elektr chiqish signaliga ega. Bu elektr o‘lchovlarining quyidagi afzalliklari bilan bog‘liq:
– elektr kattaliklari masofaga qulay tarzda uzatiladi va uzatish yuqori tezlikda amalga oshiriladi;
– elektr kattaliklari universal bo‘lib, boshqa har qanday kattaliklarni elektr kattaliklariga aylantirish mumkin va aksincha;
– ular aniq raqamli kodga aylantiriladi va o‘lchov vositalarining yuqori aniqligi, sezgirligi va tezligiga erishishga imkon beradi.
Hozirgi vaqtda sensorlarning eng keng tarqalgan chiqish signallari standart tok va kuchlanish signallaridir.
Ularning orasida eng qulay va eng keng tarqalgani 4 – 20 mA tok signalidir. Bu masofaviy datchiklardan ikkilamchi o‘lchash asboblariga signallarni uzatish bilan bog‘liq muammolarni eng yaxshi hal qiladi.
Sensor signallari odatda juda kichik. Sanoat muhitida kuchli elektromagnit shovqinlar foydali signallardan yuzlab yoki minglab marta ko‘proq soxta signallarni yaratishi mumkin. 4 – 20 mA darajadagi tok signallari past qarshilikli yuklamani boshqaradi, natijada ularga kamroq ta’sir qiladi.
Shuni ta’kidlash kerakki, 4 – 20 mA tok signali bilan ishlashda aloqa liniyasidagi uzilishni aniqlash oson – agar sim uzilgan bo‘lsa zanjirdagi tok nolga teng bo‘ladi, ya’ni u mumkin bo‘lgan chegaralardan chiqib ketadi. Masalan, 0 – 5 mA signali bo‘lgan kontaktlarning zanglashiga olib kelishini aniqlab bo‘lmaydi, chunki nolga teng tok eng kichik qiymat sifatida olinib, maqbul deb hisoblanadi.
Nazorat savollari
1. Sensorlar qanday signallar chiqaradi?
2. Diskret signall qanday signallar?
3. Raqamli signallar diskret signallardan qanday farqlanadi?
4. Analog signallar qanday signallar?
5. Elektr signallarini yutuqlari nimada?
6.3. Sensorlarni ishlash prinsipiga ko‘ra tasniflash
Ishlash prinsipiga ko‘ra, sensorlar generator va parametriklarga bo‘linadi.
Generator sensorlari kirish qiymatini to‘g‘ridan-to‘g‘ri elektr signaliga aylantirishni amalga oshiradi. Bunday sensorlar kirish (o‘lchangan) kattalik manbaining energiyasini darhol elektr energiyasiga aylantiradi. Signal, ya’ni ular xuddi elektr energiyasining generatorlari. Bunday sensorlarning ishlashi uchun qo‘shimcha quvvat manbalari prinsipial jihatdan talab qilinmaydi (shunga qaramay, sensorning chiqish signalini kuchaytirish, uni boshqa turdagi signallarga aylantirish va boshqa maqsadlar uchun qo‘shimcha quvvat talab qilinishi mumkin).
Generator sensorlari, o‘z navbatida, fotoelektrik, termoelektrik, piezoelektrik, induksiya va boshqalarga bo‘linadi.
Fotoelektrik sensorlar (fotosensorlar) – chiqish signalini atrof-muhit yorug‘ligiga mutanosib ravishda aylantiradi.
Analog va diskret fotoelektrik sensorlar mavjud. Analog sensorlar uchun chiqish signali atrof-muhit yorug‘ligiga mutanosib ravishda o‘zgaradi. Qo‘llashning asosiy sohasi – avtomatlashtirilgan yoritishni boshqarish tizimlari. Diskret turdagi sensorlar yorug‘likning belgilangan qiymatiga erishilganda chiqish holatini teskarisiga o‘zgartiradi.
Fotoelektrik sensorlar deyarli barcha sohalarda qo‘llanilishi mumkin. Diskret harakat sensorlari hisoblash uchun bir xil yaqinlik kalitlari sifatida ishlatiladi, ular har qanday ishlab chiqarish liniyasida aniqlash, joylashtirish va boshqa vazifalarda keng qo‘llaniladi.
Fotoelektrik kontaktsiz sensor boshqariladigan hududdagi yorug‘lik oqimining o‘zgarishini qayd etadi, bu mexanizmlar va mashinalarning har qanday harakatlanuvchi qismlarining kosmosdagi holatining o‘zgarishi, obyektlarning yo‘qligi yoki mavjudligi bilan bog‘liq. Uzoq masofalar uchun ham qo‘llaniladi.
Optik kontaktsiz foto datchiklar sanoatda va undan tashqarida keng qo‘llaniladi.
Fotoelektrik kontaksiz sensori ikkita funksional blokdan iborat – qabul qiluvchi va nurlanuvchi. Ushbu tugunlar bitta korpusda ham, turli korpuslarda ham amalga oshirilishi mumkin.
Obyektni aniqlash usuliga ko‘ra, foto datchiklar to‘rt guruhga bo‘linadi:
1) nurni kesib o‘tish – bu usul bilan uzatuvchi va qabul qilgich turli korpuslarga bo‘linadi, bu ularni ish masofasida bir-biriga qarama-qarshi o‘rnatish imkonini beradi. Ishlash prinsipi uzatuvchi doimiy ravishda qabul qiluvchi tomonidan qabul qilinadigan yorug‘lik nurini yuborishiga asoslanadi. Sensorning yorug‘lik signali uchinchi tomon obyekt bilan to‘silsa, qabul qiluvchi darhol chiqish holatini o‘zgartirib javob beradi;
2) reflektordan aks ettirish – bu usul bilan sensorning qabul qiluvchisi va uzatuvchisi bir korpusda joylashgan. Sensorning qarshisida reflektor (reflektor) o‘rnatilgan. Reflektor sensorlari polarizatsiya tufayli shunday yaratilgan. Filtr, ular aks ettirishni faqat reflektordan qabul qiladilar. Bu reflektorlar ikki tomonlama aks ettirish prinsipi asosida ishlaydi. Tegishli reflektorni tanlash kerakli masofa va o‘rnatish imkoniyatlari bilan belgilanadi.
Nurlantiruvchi tomonidan yuborilgan, reflektordan aks ettirilgan yorug‘lik signali sensor qabul qiluvchiga kiradi. Agar yorug‘lik signali to‘xtasa, qabul qiluvchi darhol chiqish holatini o‘zgartirib javob beradi;
3) obyektdan aks ettirish – bu usul bilan sensorning qabul qiluvchisi va uzatuvchisi bir xil korpusda joylashgan. Sensorning ish holatida uning ish maydoniga tushgan barcha obyektlar o‘ziga xos reflektorga aylanadi. Obyektdan aks ettirilgan yorug‘lik nuri tegishi bilanoq sensor qabul qiluvchiga, u darhol chiqish holatini o‘zgartiradi;
4) obyektdan qat’iy aks ettirish – sensorning ishlash prinsipi «obyektdan ko‘zgu» bilan bir xil, lekin obyektni sozlashdan og‘ishlarga nisbatan sezgirroq. Masalan, kefir shishasida singan to‘lqin, vakuumning to‘liq to‘ldirilmaganligini aniqlash mumkin. Bu sensorlar oziq-ovqat mahsulotlarini qadoqlash va boshqalarda keng foydalanadi.
Maqsadiga ko‘ra, fotosensorlar ikkita asosiy guruhga bo‘linadi:
Umumiy maqsadli sensorlar va maxsus sensorlar. Maxsus turlarga torroq vazifalarni hal qilish uchun mo‘ljallangan sensorlar kiradi (masalan, obyektdagi rang belgisini aniqlash, kontrastli chegarani aniqlash, shaffof paketdagi yorliqning mavjudligi va boshqalar).
Sensorning vazifasi masofadagi obyektni aniqlashdir. Bu masofa tanlangan turga qarab 0,3 mm. dan 50 m.gacha o‘zgarib turadi. Sensorlar aniqlash usuli ham muhim.
Nazorat savollari
1. Sensorlar ishlash pinsiplariga ko‘ra qanday guruhlarga bo‘linadi?
2. Generator sensorlar qanday datchiklar?
3. Parametrik sensorlarni ishlash prinsipini tushuntiring.
4. Fotoelektrik datchiklar qanday ishlaydi?
5. Induksion datchiklar qaysi guruhga kiradi?
6.4. Haroratni o‘lchash
Harorat – bu tizimning termodinamik muvozanat holatini tavsiflovchi va muhandislik tizimlarining asosiy parametrlaridan biri bo‘lgan fizik kattalik. Haroratni o‘lchash uchun har xil harorat o‘lchovlari taklif etiladi.
Termodinamik harorat shkalasida asosiy harorat diapazonining pastki chegarasi absolyut nol (0 K) nuqtasi bo‘lib, «suvning uchli nuqtasi» yuqori chegara sifatida qabul qilinadi. Ushbu nuqtaga 273,16 K raqamli qiymati berilgan edi. Suvning uchli nuqtasi bu suvning uch fazasi: qattiq (muz), suyuq va gazsimon (bug») o‘rtasidagi muvozanat harorati. Termodinamik harorat birligi Kelvin bo‘lib, u suvning absolyut noldan uch baravarigacha bo‘lgan oralig‘ining 1/273,16 qismidir.
Amaliyotda ko‘pincha halqaro amaliy harorat o‘lchovi qo‘llaniladi. Ushbu o‘lchovda asosiy harorat oralig‘ini cheklaydigan mos yozuvlar nuqtalari sifatida muzning erishi (0 º C) va normal atmosfera bosimidagi qaynash harorati (100º C) qabul qilindi. Harorat birligi Selsiy darajasidir, 1/100 qismga teng asosiy harorat oralig‘i. Kelvinda ko‘rsatilgan T harorati va Selsiy darajasida ko‘rsatilgan t harorati o‘rtasida o‘zaro bog‘liqlik mavjud: t = T – 273.16.
Haroratni o‘lchash uchun qo‘llaniladigan asboblarni termometrlar deyiladi. Ishlash prinsipiga ko‘ra termometrlar kengayish termometrlariga (suyuq va mexanik), manometrik, termoelektrlarga bo‘linadi. Termoelektr qurilmalar qarshilik termometrlari va termojuftlikga bo‘linadi.
Kengayish termometrlari haroratni suyuqlikning yoki qattiq jismlarning (dilatometrik va bimetalik) issiqlik kengayishidan o‘lchaydilar.
Suyuq shisha termometrlarda o‘lchangan haroratning qiymatiga qarab simob ishchi moddalar sifatida ishlatiladi (o‘lchanish harorat oralig‘i -35 dan +600 ºC gacha), spirt (-80 dan +70 ºC gacha), kerosin (-66 dan +200 ºC gacha). Suyuq termometrlarning bo‘linish shkalasi 0,5, 1, 2, 5, 10 ºC. Xatoligi bitta bo‘linishdan oshmaydi.
Kontaktli termometrlar simob bilan to‘ldirilgan shisha datchiklardir. Ular bitta, ikki yoki uchta kontakt moslamalari bilan jihozlangan. Harorat o‘zgarganda, kontaktlar yopiladi yoki ochiladi.
Dilatometrik termometrlarning ishlash prinsipi har xil harorat kengayish koeffitsientlari bo‘lgan materiallardan yasalgan ikki qismning chiziqli cho‘zilishidagi farqqa asoslangan, masalan, kengayish koeffitsienti deyarli nolga teng bo‘lgan invar (nikel va temir qotishmasi) va katta kengayish koeffitsienti bilan guruch.
Dilatometrik termometr Invar sterjeni, tunnel trubkasi va ko‘rsatkich o‘qidan iborat (6.5-rasm).

6.5 – rasm. Dilatometrik termometrning sxemasi
Invar sterjenning bir uchi tunel naychasining pastki qismiga, ikkinchisi o‘qqa ulangan. Haroratga qarab ikki sterjen cho‘zilishida farq bor. Bunday holda, sterjenning bo‘sh uchi o‘qni buradi. O‘lchashni sezgichlarida strelka harakati kontaktlarning yopilishiga yoki ochilishiga olib keladi.
Bimetalik datchik – bu har xil kengayish koeffitsientlari, masalan, po‘lat va invar, ikkita metalldan payvandlangan plastinka. Plastinaning bir uchi qattiq mahkamlangan, ikkinchisi esa plastinkaning egilishi tufayli harorat o‘zgarganda harakatlanadi. Plastinka uchini siljitish qurilmaning ko‘rsatgich o‘qini yoki yozuvchisi ruchkasini harakatga keltiradi.

6.6 – rasm. Bimetalik termometrning sxemasi.
Bimetalik rele datchiklarida bimetallik sezgir elementining bo‘sh uchi boshqariladigan harorat o‘zgarganda kontaktlarni yopadi yoki ochadi.
Mexanik termometrlar konstruksiyasi sodda va ishlashi ishonchli tuzilgan. Biroq, ular doimiy deformatsiyalar va sezilarli inersiya ta’siri tufayli yetarli darajada aniqlikka ega emas. Manometrik termometrlarning ishlash prinsipi yopiq hajmdagi muhit bosimi haroratiga bog‘liqlikka asoslangan. O‘lchov termometri (6.7-rasm) yopiq harorati o‘lchanadigan muhitga botirilgan 1 termosilindrni o‘z ichiga olgan tizim, kapillyar 2 va o‘q bilan bog‘langan sifon (yoki manometrik prujina) 3.

6.7 – rasm. Manometrik termometr sxemasi.
Yopiq tizimdagi muhit turiga qarab bosim termometrlari suyuq (ishchi modda – simob, kremniy organik yoki polimetilsilaksan suyuqlik), gaz (to‘ldiruvchi moddasi – azot yoki argon), kondensat (yoki bug») ga bo‘linadi. Bularda past temperaturalarda qaynaydigan suyuqlik ishlatiladi. – freon, aseton, etil spirt. Termosilindr tushirilgan muhit o‘lchanadigan harorat ko‘tarilishi bilan yopiq tizimdagi bosim ko‘tariladi. Kapillar orqali bosimning bu o‘zgarishi manometrik prujinaga uzatiladi, uning bir uchi qattiq o‘rnatiladi, ikkinchisi esa ortiqcha bosim ta’sirida harakatlanib, o‘qni aylantiradi.
Gaz va suyuq manometrik termometrlarda atrof-muhit harorati o‘zgarishi sababli kapillyar va sifondagi muhit hajmining o‘zgarishi natijasida xato bo‘lishi mumkin. Ushbu xatoning ta’siri kapillar va sifondagi muhit hajmining termosilindr hajmiga nisbati toraytirish bilan kamaytiriladi.
6.4.1. Qarshilik termometrlari
Qarshilik termometrlarining ishlash prinsipi harorat o‘zgarganda elektr o‘tkazuvchanligini o‘zgartirishiga, o‘tkazgichlar va yarimo‘tkazgichlarning xususiyatlariga asoslanadi. O‘tkazuvchilar qarshiligining haroratga bog‘liqligi (6.8-rasm) quyidagi formulada ifodalangan:
RT= R0 [1 + α (T— T0)],
Bu yerda RT – temperatura T dagi qarshilik, R0 – temperatura T0 dagi qarshilik, α – qarshilikni temperatura koeffissienti (QTK).
O«tkazlishlar qarshilik termometrlarini ishlab chiqarish uchun mis va platinadan foydalaniladi. TCM tipidagi mis termometrlari —50 dan 200 ºC gacha bo‘lgan uzoq muddatli haroratni o‘lchash uchun ishlatiladi.
TSP tipidagi platinaviy qarshilik termometrlari —200 dan 650 ºC gacha bo‘lgan haroratni uzoq muddatli o‘lchash uchun ishlatiladi.

6.8 – rasm. Xarakteristikalar: 1— o‘tkazgich termoqarshilik; 2— yarimo‘tkazgichli termoqarshilik.
O«tkazgichli qarshilik termometrining sezgir elementi spiral yoki ingichka simli o‘ram bo‘lib, himoya korpusiga joylashtirilgan va sopol kukun bilan qoplangan. Himoya korpusi naycha shaklida qilingan va datchikning botish chuqurligini cheklaydigan rezbali armatura va o‘lchov moslamasiga ulanish uchun vintlar bilan bog‘langan bosh bilan jihozlangan.
Qarshilik termometrlari ko‘prik sxemasiga ulaniladi. Sensor o‘lchash sxemasidan sezilarli masofada joylashgan bo‘lishi mumkin. Agar termistor ikkita sim bilan ulangan bo‘lsa, u holda uning simlari termistor bilan ketma-ket ulanadi va xatolik manbai bo‘lib xizmat qilishi mumkin. Chunki simlarning qarshiligi atrof-muhit haroratiga bog‘liq. Shu sababli termistorlar ko‘prik sxemaga uch simli tizimda ulaniladi (6.9-rasm).

6.9 – rasm. Qarshilik termometrining ko‘prik sxemasi bilan ulanishi.
rл» va rл»» qarshiliklari simlarining qarshiligi ko‘prikning qo‘shni yelkasiga ulaniladi va bu ma’lumki, tashqi harorat o‘zgarganda simlarning qarshiligining o‘zgarishi kompensatsiyasini ta’minlaydi.
Avtomatik muvozanatlashtiruvchi ko‘prik qarshilik – termometrlari uchun ikkilamchi asbob sifatida ishlatiladi.
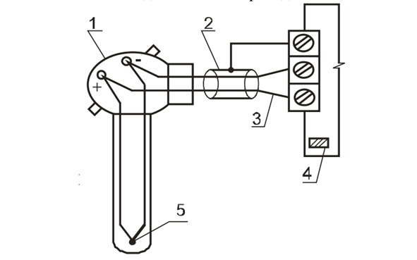
6.4.2.Termoelektrik konvertorlar (termojuftlar/termoparalar)
Ikki xil tarkibli o‘tkazgichni bir uchi kavsharlanib, kavsharlangan qismi qizdirilsa, qizdirilmagan uch qismlari orasida termoelektr yurituvchi kuchi (t.e.yu. k.) hosil bo‘ladi.

Rasmda «a» va «b» turli tarkibli o‘tkazgichlar, «1» nuqta kavsharlangan bo‘lib «issiq» uchi, «2,3» nuqtalar «sovuq» uchi deb ataladi. Agar «issiq» va «sovuq» uchlaridagi harorat bir xil bo‘lsa, t.e.yu. k. hosil bo‘lmaydi. Shuning uchun harorati o‘lchanadigan muhitga termoparani «issiq» uchi kiritiladi yoki tekkizib ko‘riladi. Hosil bo‘layotgan t.e.yu. k. qiymati «issiq» va «sovuq» uchlar o‘rtasidagi temperaturalar farqi t2—t1 ga proporsional.
E (t, t0) = E (t, 0) – E (t0, 0)
Sanoatda ishlab chiqarishda foydalanish uchun turli markadagi termoparalar tayyorlanmoqda. Dunyo bo‘yicha ular aniq standartlarga keltirilgan bo‘lib turli intervaldagi haroratlarni o‘lchashga mo‘ljalangan. Ulardan keng qo‘llanilayotganlari quyidagi jadvalda berilgan:

Termoparalarni gradirovkalanganda ularni «sovuq» uchlari doimiy 00C ga bo‘lgan holat taminlanadi. Agar tarmoparalarni «sovuq» uchlari tumperaturasi 00C dan farq qilsa, uning berayotgan t.e.yu. k. ga tuzatma kiritish zarur bo‘ladi.

6.11 – rasm. Termoparani ulanishni prinsipial sxemasi
Sxemadan ko‘rinib turibdiki, termoparadan o‘lchov qurilmasigacha bo‘lgan t.e.yu. k. ni uzatish maxsus termokpensialovchi sim orqali amalga oshiriladi. Bu sim odatda qanday turdagi termopara o‘rnatilganiga qarab tanlanadi. Termoparani «sovuq» uchi joylashgan muhit o‘zgarmas temperaturada va ikkilamchi o‘lchov qurilmasi bilan bir xil sharoitda bo‘lsa, bu yerda uzatish simini mis simda davom ettirish mumkin.
Termoparalarni modeli u to‘g‘risidagi ko‘pchilik informatsiyalarni o‘z ichiga oladi. Masalan unversal belgilanish quyidagi informatsiyalarni o‘z ichiga oladi:

Misol uchun DTPK045 – 0211.120. modeli 1 ta sezuvchi elementli, «xromel-aluminiy», himoya qobig‘i 08x20N14S2 po‘lat, o‘lchash oralig‘i -200 0C…+1300 0C, ishchi uchi izolatsiyalangan, termoelement elektrodi diametri 1.2 mm, metall ulanish kallakli, montaj qismi 120 mm, korpus o‘lchamlari jadvaldagi 045 markasiga mos keladi.
Termoparalarni portlashga xavfli muhitlardagi haroratni o‘lchash uchun ham tayyorlanadi. Ularni bunday modeli nomlanishiga «Yex» belgisi qo‘yiladi.

6.12 – rasm. Termoparalarda olinayotgan signallarni temperaturaga bog‘liqlik grafigi.
6.12 – rasmdan ko‘rinib turibdiki, termoparalarda chiqish signali temperaturaga bog‘liqligi chiziqli emas. Bu nochiziqlikni o‘lchash intervallarini kichikrok tanlash bilan kamaytirish mumkin. Grafikdan ko‘rinib turibdiki, THA (K) tipidagi termoparani chiziqli qismi 400 0C dan keyin, TXK (L) termoparasiniki esa, 200 0C gacha yaqqol ko‘rinib turibdi.

6.13 – rasm. Ishlab chiqarishga mo’ljallangan termopara
1- elektrodlar, 2- ishchi kavsharlangan uch, 3- trubka, 4- himoya armaturasi, 5- keramik dielektrik, 6- berkituvchi quyma, 7- kallak, 8- klemmnik, 9- qotirgich, 10-uzatuvchi sim, 11- germetik chiqish, 12- termoparani qotirgichi
Termoparalarni kalibrovkalash va qiyoslashda davlat standart meyoriy hujjatlarida keltirilgan gradirovka jadvalidan foydalaniladi. Misol uchun «K» markali termoparani qisqartirilgan intervaldagi gradirovkasi quyidagicha:

6.14 – rasm. Termojuftlik: 1 – datchik boshi; 2 – ekran; 3 – termoelektrod kabel; 4 – sovuq ulanish harorati sensori; 5 – termojuftning ishchi birikmasi
6.4.3. Pirometrlar
Pirometr – bu qizdirilgan jismni temperaturasini masofadan, kontaktsiz o‘lchovchi asbob bo‘lib, 0 0C dan 6 000 0C bo‘lgan temperaturani o‘lchay oladi. Pirometrlar ishlash prinsiplariga qarab quyidagicha turlarda bo‘linadi:
– Radiatsion pirometr;
– Optik pirometr;
– Spektral pirometr.
Radiatsion pirometr yig‘uvchi linza orqali qizdirilgan jismdan kelayotgan nurlanishni termobatareyalarga uzatib, ularda hosil bulayatgan yig‘indi t.e.yu. k. ni o‘lchashga asoslangan. Termopara ishga yaroqli bo‘lishi uchun me’yoriy hujjatlarda ko‘rsatilgan gradirovkaga ruxsat etilgan xatolik darajasida mos kelishi kerak.

6.15- rasm. Radiatsion pirometrni prinsipial sxemasi

