
Баня, сауна. Строим своими руками
Оба материала выпускаются в виде плит, которые остается лишь смонтировать, подогнав их по площади поверхностей, нуждающихся в термоизоляции.
Популярны и фольгированные утеплители. Очевидно, что это самый современный и перспективный вариант паро-, гидро– и теплоизоляции. Именно фольга позволяет получить эффект отражающей изоляции. По сути, это все тот же пенопласт, но фольгированный. Утеплитель может быть покрыт фольгой с одной либо с двух сторон.
Отличный утеплитель – минеральная вата. Это, по сути, сбор теплоизолирующих волокон, для производства которых используются минералы. Данный материал рекомендуется применять в бане еще и потому, что его максимальная температура эксплуатации – до 1000 °C.
Минеральная вата – гидрофобная, то есть не впитывает влагу, так как та, попадая в нее, лишь заполняет воздушные поры. Сама же вата остается сухой, и ее теплозащитные свойства не уменьшаются.
Стекловолокно обладает всеми достоинствами минеральной ваты, но оно при своей дешевизне недолговечно, кроме того, аккумулирует влагу. Из стекловолокна выпускают различные мягкие маты и стекловатные плиты, которые покрываются крафт-бумагой, нетканым материалом и стекловойлоком с алюминиевой облицовкой. Маты применяют для утепления любых конструкций из дерева, металла, кирпича, бетона, а плиты – для стен, потолков и полов.
Если вы строите кирпичную баню, то для утепления воздушных прослоек, возникающих в процессе кладки (при качественном выполнении они не превысят 4 см), лучше применять пенопласт.
Для утепления кровли принято использовать подкровельную пленку, а пол чердака можно залить слоем глины или засыпать слоем керамзита. Подробнее о кровле мы поговорим в соответствующей главе.
Приобретаем необходимые инструменты
В зависимости от выбранного варианта строительства на разных его этапах потребуются различные инструменты.
Главный плотницкий инструмент – топор – необходим при рубке, тесании древесины, выборке пазов и гребней. Он должен быть насажен на прочную, удобную для работы ручку-топорище. Чем острее топор, тем легче им работать.
Пилы применяют при распиловке древесины. Они могут быть двуручными, одноручными (ножовки), лучковыми, для смешанной распиловки. Для ускорения работы лучше, конечно, обзавестись бензо– или электропилой.
Стамески и долота необходимы для долбления различных отверстий в древесине.
Бурава и сверла используют при работе с деревом или по металлу.
Струги необходимы для строгания древесины. Они по-разному называются, имеют неодинаковую форму железки и длину колодки.
Кроме того, применяют: шпунт – для выборки шпунтов; рейсмус – для проведения линий-рисок и т. д.
Кельмой укладывают и разравнивают раствор, заполняют швы и удаляют его излишки.
Молоток-кирочку применяют как в каменных, так и в печных работах для колки, тески и перерубки кирпича.
Молотком и кувалдой остроносой откалывают камни, придавая им нужную форму, или вбивают их немного в грунт и щели между ранее уложенными камнями.
Печной молоток – это стальной молоточек, закрепленный на деревянной ручке. Он состоит из квадратного обушка и носика в виде очень острой (для тески кирпича) лопатки-кирочки. Закрепленная на ручке так называемая мочальная кисть используется для затирки либо швабровки печной кладки, то есть для удаления шероховатостей и потеков глиняного раствора.
Прави́ло – это фугованная древесная линейка длиной 2 м и сечением 40 мм для проверки ровности печной кладки, а также для разбивки формы печей.
Отвес – это приспособление для выверения вертикальности поверхностей. Выглядит как подвешенный к крепкому узкому шнуру длиной 7–10 см грузик цилиндрической формы, острый снизу и полукруглый сверху.
Уровень тоже необходим, чтобы выверять горизонтальность либо вертикальность, имеет вид бруска (металлического или деревянного) со вставленными в него двумя стеклянными трубочками. Если он не очень длинный, в процессе проверки его накладывают на прави́ло.
Ватерпас – рейка-отвес, которая заменяет уровень. Это две отфугованные деревянные рейки длиной от 60 см до 1 м. Маленькая под прямым углом врезана в большую и скреплена с ней с помощью прямого шипа. Это приспособление нужно, чтобы по рейкам проводить линии для вбивания шпилек, указывающих правильное направление отвеса.
Угольник – строго деревянный, длиной 100–120 см, шириной 50–60 см. Это приспособление для выверки прямоугольности рядов кладки.
Деревянное весло понадобится при приготовлении растворов (рекомендуемая длина – 150 см).
Для замешивания растворов необходимы большие ящики с ручками для переноски. Рекомендуем выбрать ящик рабочим объемом 80 × 50 × 30 см.
Чтобы готовить раствор было легче, хорошо иметь одно сито с ячейками для просеивания песка и сухих вяжущих материалов, второе – для процеживания приготовленного раствора.
И, конечно же, вы не сможете обойтись без электрических инструментов: перфоратора, дрели, болгарки, степлера, шуруповерта и даже лобзика, если решите украсить вашу баню резными деталями.
При строительстве вам непременно понадобятся расходные материалы: гвозди, шурупы, саморезы, дюбеля и др. Их необходимо подбирать, исходя из того, в каком помещении они будут использоваться. К примеру, в парилке и моечном отделении, где большая влажность, лучше применять шурупы и гвозди с антикоррозийным покрытием.
Специальные приспособления для сооружения печи
Что еще, кроме проекта, материалов и инструментов, нужно для кладки печи? Для работы на высоте необходимы подмости, для воды – ведро, для хранения и приготовления раствора – ящики и т. д.
Сито необходимо для просеивания сухих материалов (подойдет с ячейками от 0,1 × 0,1 см до 0,15 × 0,15 см) и для процеживания раствора (с сечением 0,3 × 0,3 см).
Рамки для смачивания кирпича в воде и его подноски могут быть из деревянных брусков или из стальной проволоки. Размеры рамки – 50 × 25 см. Кирпич укладывают в рамку на ребро.
Наиболее удобная для кладки высота подмосток – 60–80 см над полом. Можно стоять на полу и выкладывать печь до этой высоты, затем требуются подмости. Они должны быть прочными, так как на них создается нагрузка не только от самого рабочего, но и от материала.
Для удобства работы стоит подумать и о специальной скамье с двумя полками размером 150 × 25 × 50 см. Ее устанавливают параллельно кладке, на расстоянии 50–60 см от нее. На верхнюю толстую и прочную полку ставят воду, ящик с раствором и кирпич; более легкая нижняя служит только для инструмента.
Направляющие стойки изготавливают из досок или брусков, устанавливают в углах печи строго по отвесу и прочно прикрепляют к полу и потолку планками так, чтобы стойки нельзя было сбить во время работы. Тогда не потребуется проверять точность кладки по вертикали. Если же на стойках разметить ряды кладки, нанеся пропилы в соответствующих местах, то можно отказаться и от горизонтальной проверки.
Глава 2
Устройство фундамента под баню
Современную баню, на каком бы грунте она ни стояла, устраивают на фундаменте. Далее будут подробно рассмотрены порядок закладки фундамента, характеристика почв и их влияние на его долголетие.
Как правило, сооружение фундамента состоит из ряда последовательных операций. Сначала нужно провести обследование грунта, потом вам предстоит вырыть котлован или траншею, соорудить опалубку, связать арматурный каркас и залить бетон. После того как он схватится, необходимо снять опалубку и ждать, пока фундамент отстоится. Затем нужно устроить отмостку, соорудить цоколь (если он предусмотрен вашим проектом) и уложить гидроизоляцию.
Начнем с изучения грунта.
Исследование грунта и выбор типа фундамента
Маловероятно, что земля под вашей баней будет намного отличаться от той, на которой стоит вся усадьба. Но так как зачастую баню на участке строят прежде всех остальных сооружений, то остановимся на общих характеристиках грунтов и их воздействии на конструкции. Это пригодится вам для дальнейших работ на участке.
Чтобы точно выяснить, на какой почве будет стоять баня (а впоследствии и дом), стоит взять пробы грунта, которые затем необходимо подвергнуть инженерно-геологическим исследованиям. Для этого вам надлежит связаться с организацией, которая выполняет такие работы. Чаще всего это любая из проектных организаций, имеющая специалистов по грунтам.
Выделяют шесть видов грунтов: скалистые, обломочные, песчаные, пылеватые, суглинистые и глинистые.
Скалистые грунты – самые надежные. Они весьма прочны, не проседают, не размываются и не вспучиваются зимой. Следующие по прочности – обломочные, или хрящеватые, грунты. Они содержат обломки камней и гравий, не размываются и не сжимаются. В этом случае фундамент нужно заглублять не более чем на 50 см.
Песчаные грунты проседают, то есть существенно уплотняются под нагрузкой. Песок не задерживает воду и зимой незначительно промерзает. Фундамент нужно закладывать на глубине от 40 до 70 см.
Необходимо опасаться пылеватых грунтов, или плывунов. Нет гарантии, что ваше сооружение не «поплывет» вместе с ними в самый неподходящий момент, поэтому перед началом строительства необходимо проконсультироваться с опытными специалистами.
В составе суглинистых грунтов от 3 до 30 % глины. Если в почве менее 10 % глины, она называется супесчаной, при повышенном содержании – суглинистой.
Глинистые грунты могут сжиматься, размываться и вспучиваться при промерзании. Это самый ненадежный вариант при строительстве. В глинистых грунтах фундамент закладывается на всю глубину промерзания.
Какой же тип фундамента подойдет больше всего? Это решение нужно принимать в зависимости от грунта, на котором расположен участок. Два самых распространенных вида фундамента, которые применяются при строительстве бани, – ленточный и столбчатый.
В нашем случае по всем параметрам самым целесообразным специалисты считают ленточный монолитный фундамент мелкого заглубления, оборудованный мощным металлическим арматурным каркасом, о закладке которого мы далее расскажем подробно.
Но, конечно, перед закладкой любого фундамента необходимо подготовить для него площадку.
Подготовка площадки
Строительная площадка должна быть ровной, за исключением обязательного наклона на восток, запад либо юг для оттока дождевой и талой воды.
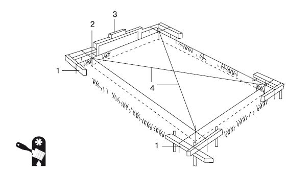
Прежде чем начертить на строительной площадке контур будущего фундамента, с почвы нужно удалить всю растительность. Затем следует тщательно выровнять поверхность (рис. 2.1).

Рис. 2.1. Разметка площадки под фундамент: 1 – обноска из досок; 2 – отвес; 3 – уровень; 4 – шнур
Ширина фундамента, как правило, рассчитывается с оглядкой на конструкцию будущих стен. Обязательная формула: ширина стен плюс 10 см.
Инструменты, нужные для разметки площадки: колышки длиной 50 см, шнур, рулетка, уровень, а также прямоугольный треугольник с катетами 30 и 60 см.
Определяем, с какого угла бани мы начнем. Вбиваем в этом месте первый колышек, а затем, надев на него треугольник, отмеряем по одной из его внешних сторон расстояние, соответствующее длине будущей продольной стены бани. По другой внешней стороне откладываем длину поперечной стены в осевых линиях.
Второй и третий колышки забиваем на пересечении осей, то есть на конечных точках длин стен.
Перемещаем треугольник в противоположный угол бани. Снова находим место пересечения осей и забиваем в этой точке четвертый колышек. Удостовериться, нет ли перекоса в замерах, можно, сопоставив диагонали в получившемся прямоугольнике.
Если все сделано правильно, разница в их длинах не превысит 2 см.
Следующий этап: берем столбики с предварительно прибитыми к ним досками и начинаем выполнять обноску на расстоянии 1–2 м от столбиков (доски крепим на высоте 1,5 м от земли так, чтобы их положение было строго параллельно положению банных стен). Прежде чем приступить к работе, еще раз удостоверьтесь с помощью уровня и рейки в том, что конструкция сооружена ровно.
Теперь вам предстоит нанести осевые размеры контура фундамента на верхнюю кромку обноски. Для этого сначала вобьем в зарубки гвозди так, чтобы строго над вбитыми в будущие углы колышками можно было ровно протянуть шнур.
Натянув оси и удостоверившись, что они проходят правильно, следует взять отвес и перенести осевые линии на площадку. Именно от них нужно откладывать во все стороны заданные расстояния, по которым пройдут линии, фиксирующие контуры внутренней и наружной стороны фундамента.
Начинаем копать. Помните, что строительство бани желательно завершить в один сезон, поэтому, как только котлован либо траншея вырыты, следует сразу же приступать к закладке фундамента.
Если вы копаете неглубокий котлован (до 1 м), его стены желательно делать строго вертикальными; если от 1 м, допустим некоторый уклон.
Чтобы грунт в процессе работы не сыпался, понадобятся щиты с распорками. Их следует установить между стенками котлована либо траншеи. Они извлекаются по окончании земляных работ.
Устройство ленточного фундамента
Если грунт на вашем участке неоднородный, то есть рельеф сам по себе неровный, а влажность почвы очевидна даже на ощупь, выбора нет: придется укладывать ленточный фундамент. О том, на какую глубину нужно это делать, вы узнаете, проведя исследования грунта (либо попросив об этом специалиста). В среднем она составляет 70–100 см.
Понятно, что первый этап приведения такого грунта в вид, позволяющий вашему участку стать строительной площадкой, – удаление растительного покрова. Поскольку грунтовые воды наверняка залегают близко к поверхности, слой дерна, скорее всего, достаточно велик. Его необходимо полностью удалить, а вместо него засыпать слой песка, смешанного с гравием, и как следует уплотнить.
Чем плохи глинистые и суглинистые грунты? Они, как никакие другие, сильно вспучиваются зимой. Если, заложив фундамент, вы не управились со строительными работами к исходу осени, то будущая баня, оставшаяся зимовать без завершенных стен, а также перекрытий и крыши, непременно разрушится или как минимум покосится. А если она уже готова, то из-за вспучивания грунта может «встать на цыпочки», поднявшись на 10 см! Результат предсказуем: трещины в стенах плюс перекос всего сруба.
Во избежание негативных последствий нужно заранее позаботиться о том, чтобы грунт как можно в меньшей степени вспучивался зимой и не оседал летом. Начиная строительство на глине либо на суглинке, сначала делаем «пробку» из песка толщиной 30 см. Если подземную часть фундамента в глинистом грунте вы можете устраивать без опалубки, то при возведении наземной части опалубка просто необходима.
Итак, первостепенное правило устройства фундамента в глинистом грунте: он должен закладываться ниже глубины промерзания почвы, то есть минимальная глубина должна составить 0,5 м.
Но это не единственная мера предосторожности! Вам все равно понадобится система защиты от вспучивания грунта, если не хотите, чтобы небольшая баня «выскочила» из земли вместе с промерзшей почвой. Чтобы этого не случилось, обязательно покройте фундамент солидолом и сделайте над траншеей, тянущейся по его периметру, небольшой вал из песка либо мелкого гравия.
Если вы приобрели либо получили в наследство участок, находящийся на торфянике или мелком песке, то вам придется, выкопав глубокую траншею, насыпать новый слой грунта, своего рода «пробку» из крупнозернистого песка, высотой не менее 30 см. Затем, чтобы она утрамбовалась, ее нужно обильно залить водой и дать песку спрессоваться.
Теперь перейдем непосредственно к возведению ленточного фундамента. Спектр материалов, пригодных для его закладки, широк: бут, бутобетон, сборный бетон, монолитный бетон. Напомню: ленточный фундамент подразумевает «тяжелую» баню, стены которой будут возводиться из камня либо кирпича. Ленточный фундамент выдержит и пенобетонные стены.
Чтобы самим не умалить его прочность, вы должны, посоветовавшись со специалистом, правильно установить характер грунта на участке. Исходя из этого следует выбирать цементный раствор, с помощью которого будет строиться фундамент.
Приведу рецептуры растворов в зависимости от вида грунта:
✓ для не слишком влажной почвы (грунтовые воды залегают глубже 3 м) подойдет смесь цемента марки 100, известкового теста (при отсутствии – глины) и песка в пропорции 1:0,5:5; для очень влажного грунта (грунтовые воды находятся на глубине 1–3 м) берут те же компоненты, но в ином соотношении – 1:0,3:3,5;
✓ если грунт совсем «мокрый» (грунтовые воды находятся на глубине 1 м), используют смесь цемента марки 150 и песка в пропорции 1:2,5.
Закладка ленточного фундамента начинается с засыпки в подготовленный котлован либо траншею слоев (в указанной очередности) гравия, а затем крупнозернистого песка. Толщина каждого – примерно 20 см. Трамбуем, поливаем слои водой. Повторяем последовательность, пока не достигнем уровня земли под ногами. После того как опалубка готова, а также заложена и связана воедино арматура, можно заливать жидкий цементный раствор (рис. 2.2, 2.3).

Рис. 2.2. Установка опалубки и арматуры

Рис. 2.3. Заливка фундамента с использованием желоба
Все, можно приступать к возведению цоколя из кирпича либо бутового камня (рис. 2.4). Не забудьте проложить под его конструкцией два слоя рубероида в целях преграды для проникновения влаги.
Существует и такой вариант: описанные выше слои из крупнозернистого песка и гравия засыпаем лишь до половины котлована либо траншеи. Выравниваем верхний край как можно тщательнее. Рядом поверх засыпки выкладываем кирпичи. Для них предварительно нужно поставить опалубку из досок, обложив (обив) их обрезками шифера. Пропитываем деревянные фрагменты опалубки антисептическим раствором и после высыхания покрываем их гудроном.

Рис. 2.4. Фундамент из природного камня: 1 – глиняная отмостка; 2 – гидроизоляция; 3 – камень
Поставив фрагменты опалубки вертикально, соединяем их с помощью деревянных связок.
Некоторые мастера предлагают (если, конечно, грунт достаточно плотный) устанавливать в котлован либо траншею плоскости с шифером «внахлест», ограничившись креплением между собой лишь верхних концов шиферных листов посредством съемных связок. В таком случае пустоты между шифером и стенками котлована засыпают песком, который затем тщательно трамбуют.
Наполняем опалубку до середины песком и гравием, трамбуем, заливаем поверх бетоном. Следите, чтобы толщина слоев бетона не превышала 15 см. О том, что бетон утрамбован в достаточной степени, свидетельствует появление на его поверхности цементного молока.
Выждите 3 часа. Укройте готовый фундамент любым пропускающим влагу материалом. Это могут быть мешковина, опилки, стружки. Обильно полейте фундамент через покрытие. Это придется сделать неоднократно, летом – каждые 3–4 часа в течение трех суток. Затем накрываем полиэтиленом бетон. Убедившись, что он схватился (об этом судят по степени его затвердения), снимаем опалубку.
Осталось наполнить глиной пазухи вокруг фундамента и утрамбовать ее. Выполняем отмостку. Далее делаем гидроизоляцию (простейший ее вариант, напомню, – два слоя толя либо рубероида).
Гидроизоляция фундамента и цоколя
Как защитить фундамент от воды? Задача довольно сложная, поэтому рассмотрим ее подробней.
Во-первых, почему гидроизоляция и ремонт конструкций, которые подвергаются воздействию подземных и надземных вод, необходимы не только во время строительства бани, но и в период ее дальнейшей эксплуатации? Потому что деревянные, бетонные, каменные и кирпичные здания, подвергающиеся воздействию агрессивных подземных вод, в конце концов теряют прочность и разрушаются.
От таких неприятностей постройку защищают с помощью специальных материалов.
Защитные материалы делятся на две группы:
✓ традиционные (рулонные и мастичные), изготовленные на основе полимерных смол, полимеров, битумных мастик и др.;
✓ материалы проникающего действия на основе минерального сырья.
Сегодня наибольшей популярностью пользуется вторая группа, принцип действия которой предусматривает проникновение химических веществ в пористую структуру материала защищаемой конструкции, после чего поры заполняются кристаллогидратами, и эксплуатационные характеристики бетона с течением времени только повышаются.
Поскольку для фундамента бани такой способ не столь уж необходим, напомню, что гидроизоляцию фундаментов выполняют и традиционными материалами. Например, укладывают цементный раствор слоем 2–3 см, выравнивают и сушат, после чего настилают рубероид. Поступают и так: из 1 части разогретой сосновой смолы и 1/2 части просеянной извести-пушонки готовят мастику, которую в горячем виде наносят тремя слоями на цемент. При этом толщина каждого слоя должна быть не менее 3 мм. Верхнюю часть фундамента покрывают горячей битумной мастикой и наклеивают на нее слой рубероида.
Напоминаю вам, что в защите от вредного воздействия дождевых и талых вод нуждается не только подземная часть фундамента, но и цоколь. Гидроизоляция цоколя призвана противостоять потокам воды во время дождя или таяния снега и предотвращать впитывание воды поверхностями фундамента.
Гидроизоляцию обычно выполняют и в горизонтальной, и в вертикальной плоскостях. Для этого под основание фундамента и в местах его сочленения со стенами укладывают рулонные водонепроницаемые материалы, например рубероид, а для защиты вертикальных поверхностей стенок можно несколько раз обмазать их битумом (рис. 2.5). Однако такой способ эффективен только в том случае, если строение стоит на сухом грунте, ведь срок службы битума невелик. Уже через 3–3,5 года он начинает покрываться трещинами, а исправить это, к сожалению, невозможно.

Рис. 2.5. Гидроизоляция ленточного фундамента битумом
Экономить на возведении фундамента не стоит. Нужно пользоваться современными материалами для обмазочной гидроизоляции, например жидким стеклом. В отличие от битума, данный материал более долговечен, и при устройстве фундамента на влажном грунте этот вариант предпочтительнее.
Устройство отмостки
Отмостку можно делать из бетона, асфальта, бетонных плит, булыжников (рис. 2.6). Наиболее прочными считаются бетонные отмостки, которые менее зависят от внешних условий.
От чего зависит ширина отмостки? От типа грунта и ширины выноса карнизных свесов кровли. Если грунт обычный, отмостку сооружают на 20 см шире карнизного свеса, а минимальная ее ширина – 60 см. Если же баня стоит на просадочных грунтах, ширину отмостки увеличивают. Иногда ее делают настолько широкой, что она выполняет функции дорожки вокруг бани.

Рис. 2.6. Схема отмостки без утепления: 1 – цоколь; 2 – бетонное покрытие; 3 – растительный слой; 4 – арматурная сетка; 5 – слой щебня; 6 – слой песка; 7 – грунт; 8 – фундамент
Итак, начинаем сооружать отмостку. Сперва удалим растительность вокруг бани и снимем дерн на глубину 15 см и выбранную вами ширину. По углам бани забиваем колышки, отмечаем на них высоту примыкания отмостки к фундаменту. Закрепляем на этом уровне шнур по всему периметру. Вторую линию колышков устанавливаем по наружному краю отмостки, отмечаем на них высоту наружного края бетонного покрытия. Чтобы отводить дождевую воду, делаем небольшой уклон, примерно 5 %. Теперь на подготовленное основание нужно насыпать песок слоем 10 см и утрамбовать его. После этого вдоль внешнего края отмостки сооружаем опалубку, которая должна удерживать бетон при его заливке. Затем на песок укладываем щебень, высота слоя которого – 15 см, а на него – арматурную сетку с нахлестом 10 см в местах стыков.
Чтобы избежать трещин там, где есть максимальное напряжение, прокладываем деформационные швы, которые отделяют заливку одной порции бетона от другой. Для этого используют уложенные на ребро обработанные антисептиком доски шириной 15–20 мм.
Раствор нужно заливать постепенно: затвердеет одна порция – берем следующую, и т. д. На несколько дней отмостку нужно укрыть полиэтиленовой пленкой, чтобы она не потрескалась от солнечных лучей. Через месяц, когда бетон затвердеет, опалубку можно убирать. Отмостка готова.